Портал для радиолюбителей
Статьи
Программы
Справочник
Соревнования
Журналы
История
Форум
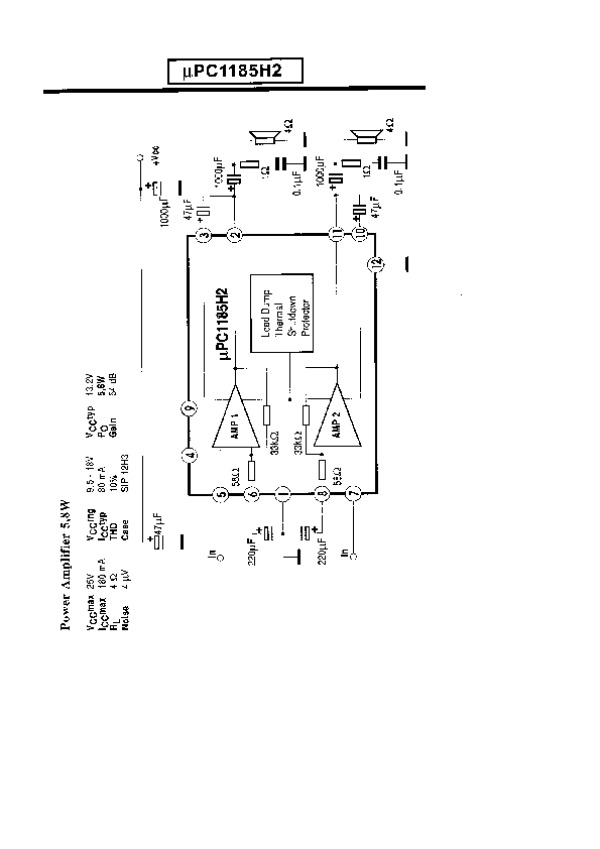
Просмотр технического описания на MPC1185
Главная
->
Справочник
->
Не указан
-> Просмотр технического описания на MPC1185
Поиск datasheet:
23383
файлов в базе данных
Datasheet MPC1185:
Просмотреть файл
Загрузить файл
Размер файла: 34 Кб
© PavKo, 2007-2018
Обратная связь
Ссылки
views: 18486 -- users: 8091 -- web3