Портал для радиолюбителей
Статьи
Программы
Справочник
Соревнования
Журналы
История
Форум
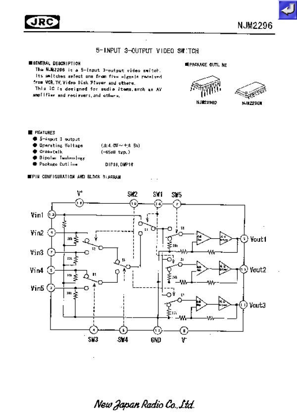
Просмотр технического описания на NJM2296
Главная
->
Справочник
->
JRC
-> Просмотр технического описания на NJM2296
Поиск datasheet:
23383
файлов в базе данных
Datasheet NJM2296:
Просмотреть файл
Загрузить файл
Размер файла: 171 Кб
© PavKo, 2007-2018
Обратная связь
Ссылки
views: 15836 -- users: 14782 -- web3