Портал для радиолюбителей
Статьи
Программы
Справочник
Соревнования
Журналы
История
Форум
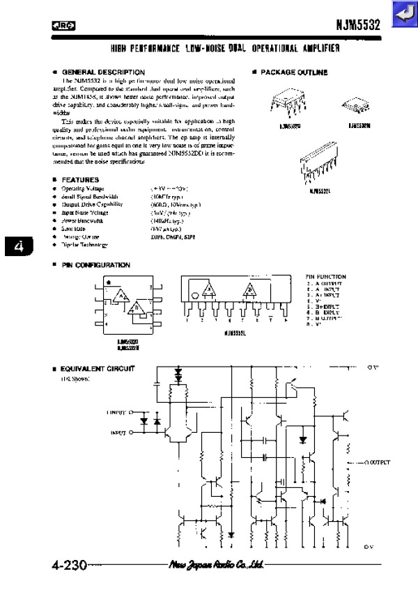
Просмотр технического описания на NJM5532
Главная
->
Справочник
->
JRC
-> Просмотр технического описания на NJM5532
Поиск datasheet:
23383
файлов в базе данных
Datasheet NJM5532:
Просмотреть файл
Загрузить файл
Размер файла: 154 Кб
© PavKo, 2007-2018
Обратная связь
Ссылки
views: 15860 -- users: 14782 -- web3