Портал для радиолюбителей
Статьи
Программы
Справочник
Соревнования
Журналы
История
Форум
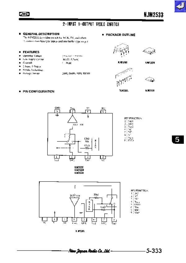
Просмотр технического описания на NJM2533
Главная
->
Справочник
->
JRC
-> Просмотр технического описания на NJM2533
Поиск datasheet:
23383
файлов в базе данных
Datasheet NJM2533:
Просмотреть файл
Загрузить файл
Размер файла: 52 Кб
© PavKo, 2007-2018
Обратная связь
Ссылки
views: 15964 -- users: 14782 -- web3