Портал для радиолюбителей
Статьи
Программы
Справочник
Соревнования
Журналы
История
Форум
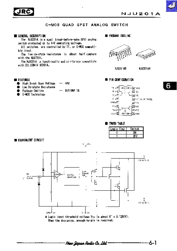
Просмотр технического описания на NJU201A
Главная
->
Справочник
->
JRC
-> Просмотр технического описания на NJU201A
Поиск datasheet:
23383
файлов в базе данных
Datasheet NJU201A:
Просмотреть файл
Загрузить файл
Размер файла: 79 Кб
© PavKo, 2007-2018
Обратная связь
Ссылки
views: 5641 -- users: 2245 -- web3