Портал для радиолюбителей
Статьи
Программы
Справочник
Соревнования
Журналы
История
Форум
Просмотр технического описания на HA13001
Главная
->
Справочник
->
Не указан
-> Просмотр технического описания на HA13001
Поиск datasheet:
23383
файлов в базе данных
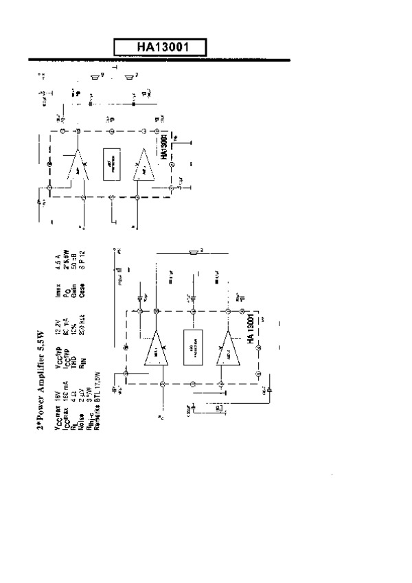
Datasheet HA13001:
Просмотреть файл
Загрузить файл
Размер файла: 35 Кб
© PavKo, 2007-2018
Обратная связь
Ссылки
views: 19794 -- users: 6798 -- web3