Портал для радиолюбителей
Статьи
Программы
Справочник
Соревнования
Журналы
История
Форум
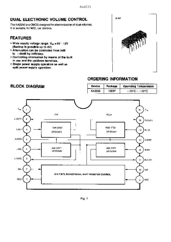
Просмотр технического описания на KA2250
Главная
->
Справочник
->
Не указан
-> Просмотр технического описания на KA2250
Поиск datasheet:
23383
файлов в базе данных
Datasheet KA2250:
Просмотреть файл
Загрузить файл
Размер файла: 196 Кб
© PavKo, 2007-2018
Обратная связь
Ссылки
views: 19712 -- users: 6795 -- web3