Портал для радиолюбителей
   На приборный щиток
    Главная -> Статьи -> Автомобильная электроника -> На приборный щиток


<< Назад в раздел   Распечатать Дата добавления: 2008-05-16 | Просмотров: 10294

У кого из автолюбителей не сжималось сердце при знакомстве с "электронными иконостасами" на приборных щитках японских автомобилей. Чего там только нет! Нам бы хоть одну такую кнопку-лампочку...

"Радиолюбитель" предлагает на выбор несколько зарубежных электронных новинок, которые, возможно, заинтересуют автолюбителей, умеющих владеть не только гаечным ключом и монтировкой, но и паяльником. Подборка материалов составлена из описаний практических устройств, разработки которых собраны американским инженером Рудольфом Графом и представлены в его сборнике "Электронные схемы: 1300 примеров".

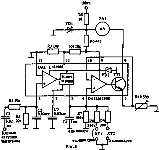
ТАХОМЕТР ДЛЯ ДВИГАТЕЛЯ ВНУТРЕННЕГО СГОРАНИЯ

Этот тахометр удобен тем, что его можно установить на двигателе с любым числом цилиндров, лишь подключив к схеме (Рис. 1) подходящие времязадающие резисторы R7, R8 и R9. В качестве индикатора использован измерительный стрелочный прибор, расчитанный на ток полного отклонения стрелки 10 мА. Шкала этого прибора проградуирована в об./мин, а ее максимальный предел - 6000 об./мин.

4-12-1.gif

Подстроечный резистор R10 служит для окончательной калибровки прибора. Схема снабжена защитой от кратковременных превышений напряжения, состоящей из резистора R5 и стабилитрона VD1 с напряжением стабилизации 24 В. Соединение резисторов R7 - R9 с корпусом нужно производить в зависимости от числа цилиндров двигателя, т.е. R7, R8 и R9 - соответствуют четырем, шести и восьми цилиндрам. Отечественный аналог микросхем DA1, DA2 - К1401УД1. Транзистор VT1 - любой маломощный, кремниевый.

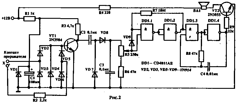
СИГНАЛИЗАТОРЫ ПРЕВЫШЕНИЯ СКОРОСТИ

Устройство срабатывает, если скорость автомобиля превысит заданную. В этом случае из динамика раздается назойливый звук, который исчезает вскоре после снижения скорости на 5 - б км/час. Схема (Рис. 2) состоит из выпрямительного моста на диодах VD2 - VD6, который выпрямляет импульсы поступающие от контактов прерывателя автомобиля, при этом полученное постоянное напряжение ограничивается стабилитроном VD4 на уровне 4,7 В. Это напряжение, пропорциональное числу оборотов двигателя, после транзистора VT1 и диодного детектора VD7 - VD8 попадает на потенциометр R5, являющийся регулятором порога срабатывания устройства. Сигнал с него управляет формирователем и мультивибратором на логических элементах микросхемы DD1.

4-12-2.gif

Транзистор VT2 усиливает сигнал мультивибратора до необходимых пределов, в его коллекторную цепь включен динамик ВА1. Аналогами CD4011АЕ являются отечественные цифровые микросхемы К176ЛА7 и К561ЛА7. Стабилитрон VD1 - на напряжение стабилизации 9 В типа Д814Б. Всем другим диодам соответствует оте-чественный аналог - КД521А.

Схема другого сигнализатора превышения скорости (Рис. 3) состоит из четырех усилителей на микросхемах LM2900, отечественным аналогом которых является четырехканальный операционный усилитель К1401УД1. Усилитель DA1 обрабатывает сигнал, поступающий от катушки зажигания. Усилитель DA2 преобразует частоту в напряжение так, что напряжение на его выходе пропорционально

4-12-3.gif

числу оборотов двигателя. DA3 сравнивает напряжение тахометра с опорным напряжением и включает выходной транзистор при превышении установленной скорости. DA4 используется в схеме генератора, вырабатывающего звуковой сигнал. В устройстве можно применить отечественные транзисторы КТ315. Диоды "меняются на КД521А.

ТАХОМЕТР

В этом тахометре (Рис. 4) в качестве датчика импульсов используется магнитная головка. Сигналы усиливаются DA1 и подаются на вход ждущего мультивибратора на элементах DA2 и DA3, после чего прямоугольные импульсы через регулирующий потенциометр R9 попадают на формирователь DA4 и затем - на прибор с измерительной шкалой, проградуированной в об./мин. Все микросхемы - К1401УД1, диоды - КД521А, стабилитрон VD3 - КС168А.

4-12-4.gif

УСТРОЙСТВО УПРАВЛЕНИЯ ЧАСТОТОЙ ДВИЖЕНИЯ СТЕКЛООЧИСТИТЕЛЯ

Регулятор для стеклоочистителя, в схеме которого (Рис. 5) использован интегральный таймер NE555V, позволяет задавать длительность временных интервалов в течение которых происходит "качание" стеклоочистителя. Микросхема DA1 работает в режиме несинхронизированиого мультивибратора. Длительность интервала, в течении которого таймер находится в включенном состоянии, определится номиналами С1, R2 и R3. Потенциометром R2 можно изменять частоту работы стеклоочистителя от 2 до 15 сек. В устройстве можно применить отечественную микросхему КР1006ВИ1. Реле с сопротивлением обмотки электромагнита - 1200 Ом. Все диоды - КД521А.

4-12-5.gif

(РЛ 5-91)



Добавил:  Павел (Admin)  
Автор:  (РЛ 5-91) 

Вас может заинтересовать:

  1. Сигнализатор ручного тормоза
  2. Схема электропроводки автомобиля ВАЗ-2105
  3. Схема электропроводки автомобиля ВАЗ 2106, 21061, 21063, 21065 (1988-2001)
  4. Схема электропроводки автомобиля ВАЗ 2106, 21061 и 21063 (1976-1987)
  5. Схема электропроводки автомобиля ВАЗ-2108, ВАЗ-2109


    © PavKo, 2007-2018   Обратная связь   Ссылки views: 707 -- users: 616 -- web3   Яндекс.Метрика