Портал для радиолюбителей
   Корректор угла опережения зажигания - 1
    Главная -> Статьи -> Автомобильная электроника -> Корректор угла опережения зажигания - 1


<< Назад в раздел   Распечатать Дата добавления: 2008-05-16 | Просмотров: 8379

В настоящее время многие автолюбители проявляют повышенный интерес к устройствам электронного регулирования угла опережения зажигания (УОЗ) или октан-корректорам (ОК), которые позволяют на 5...10% сэкономить топливо, получить максимальную мощность, снизить токсичность выхлопа, а также адаптировать двигатель к топливу различного качества. Существующие схемные решения имеют некоторые недостатки:

  • задержка производится на фиксированный период времени, что при разных оборотах вала двигателя соответствует разному УОЗ [1, 2];
  • при построении схем задержки без фиксированного УОЗ значительно возрастает их сложность [3, 4, 5].

С учетом вышесказанного нами разработан простой и эффективный ОК, в котором при любых оборотах вала двигателя УОЗ остается постоянным. Структурная схема ОК показана на рис.1.

kor-uoz1.gif
рис.1

В основу его работы заложен факт пропорциональности задержки УОЗ периоду вращения вала. Последовательность импульсов, в которой в некоторых пределах необходимо произвести задержку положительного фронта, формируется прерывателем и поступает на вход схемы. При этом длительность паузы используется как опорная величина, которая фиксируется с помощью генератора опорной частоты G1 и реверсивного счетчика СТ, который при низком уровне на входе (±1) работает на увеличение счета (накапливание информации), а при наличии на том же входе высокого уровня - на уменьшение (считывание накопленной информации). В первом случае работает генератор G1, а во втором - генератор G2 (а G1 блокируется). Частоту G2 можно изменять. При равенстве частот G1 и G2 задержка УОЗ составляет 90°, поэтому для обеспечения задержки до 30° необходимо, чтобы частота G2 была в три и более раза выше частоты G1. По окончании счета, когда счетчик отдал всю накопленную информацию, на его выходе Р формируется сигнал, который устанавливает на выходе RS-триггера высокий уровень, блокирует работу счетчика и является задержанным выходным сигналом. В исходное состояние схема возвращается при приходе на ее вход низкого уровня, который сбрасывает RS-триггер, и цикл повторяется.

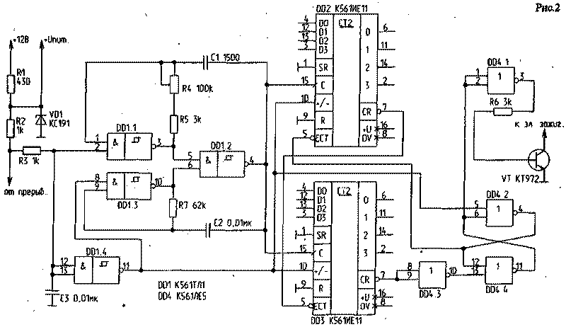
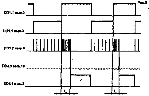
Принципиальная схема ОК и диаграммы ее работы показаны на рис.2 и рис.3 соответственно. На входе схемы установлен фильтр низкой частоты на элементах R3, СЗ, который совместно с ячейками DD1.1, DD1.4, содержащими на входе триггеры Шмитта, исключает влияние дребезга контактов прерывателя на работу схемы. Генератор G1 собран на DD1.3, DD1.2, R7, С2 и для исключения переполнения счетчиков DD2, DD3 при низких оборотах вала двигателя настроен на частоту 1 кГц. Генератор G2 собран на DD1.1, DD1.2, R4, R5, С1 и с помощью переменного резистора R4 может изменять свою частоту от 3 кГц до 90 кГц, что обеспечивает регулировку УОЗ от 30°С до 1° соответственно. Счетчики DD2, DD3 включены каскадно, что позволило увеличить их общую емкость до 256 бит.

Схема корректора угла опережения зажигания
Рис.2

Счетчики сначала накапливают информацию о длительности замкнутого состояния контактов прерывателя, а после их размыкания считывают ее. При полном обнулении счетчиков на выводе 7 DD3 появляется кратковременный отрицательный импульс, который через DD4.3 переключает RS-тригер, собранный на DD4.2, DD4.4. На инверсном выходе триггера формируется сигнал блокировки счетчика DD2 и через DD4.1, R6, VT -выходной задержанный сигнал.

kor-uoz3.gif
рис.3

Детали:

Микросхему К561ТЛ1 можно заменить на К561ЛА7, но при этом после фильтра НЧ необходимо установить триггер Шмитта, собранный по любой известной схеме. Стабилитрон VD1 - любой на напряжение 5...9 В. Транзистор КТ972 можно заменить парой КТ3102, КТ815 (КТ817). Конденсаторы Cl, C2 необходимо выбрать однотипными или с одинаковым, как можно ближе к нулевому значению ТКЕ. То же касается и резисторов R5, R7. Параллельно каждой микросхеме по шинам питания желательно установить керамический конденсатор емкостью 0,1 мкФ, а параллельно VD1 -танталовый электролитический конденсатор.

Настройка:

Для настройки генераторов необходимо установить щуп частотомера на вывод 4 микросхемы DD1. После этого на вход схемы следует подать низкий логический уровень и подобрать резистор R7 так, чтобы частота генератора составила 1 кГц. После этого - установить ползунок резистора R4 в нижнее по схемеположение, подать на вход высокий логический уровень и подобрать резистор R5 так, чтобы показания частотомера равнялись 90 кГц, что соответствует задержке УОЗ в 1°.

В верхнем положении ползунка R4 частота генератора должна быть около 3 кГц, что соответствует задержке УОЗ в 30°. При желании эту величину можно изменять в большую или меньшую сторону, изменяя номинал R4. После этого остается отградуировать шкалу резистора R4, который устанавливается на панели управления. Провода к нему желательно экранировать.

Литература

1. Ковальский А., Фролов А. Приставка октан-корректор//Радио. - 1989.-N6.-C.31.
2. Сидорчук В. Электронный октан-корректор // Радио. -1989. -N 6. -C.3I"
3. Беспалов В. Корректор угла 03 // Радио. - 1988. - N 5. - С. 17.
4. Архипов Ю. Цифровой регулятор угла опережения зажигания / /Радиоежегодник.-М.,1991.-С129.
5. Романчук А. Октан-корректор на КМОП микросхемах // Радиолюбитеаль. --1994.-N5.-C.25.


Добавил:  Павел (Admin)  
Автор:  Неизвестно 

Вас может заинтересовать:

  1. Схема электропроводки автомобиля ВАЗ-2107 (вариант 2)
  2. Автоматическое зарядное устройство для автомобильных свинцово-кислотных аккумуляторов
  3. Схема электропроводки ВАЗ 21011-21013
  4. Схема электропроводки автомобиля ВАЗ 2106, 21061, 21063, 21065 (1988-2001)
  5. Корректор угла опережения зажигания - 1


    © PavKo, 2007-2018   Обратная связь   Ссылки views: 811 -- users: 720 -- web3   Яндекс.Метрика