Портал для радиолюбителей
   Усовершенствованный блок зажигания
    Главная -> Статьи -> Автомобильная электроника -> Усовершенствованный блок зажигания


<< Назад в раздел   Распечатать Дата добавления: 2008-05-20 | Просмотров: 9338

Эта конструкция может быть рекомендована подготовленным радиолюбителям, уже имеющим опыт изготовления простых блоков зажигания и желающим иметь устройство, из которого, образно говоря, «выжато» все на сегодня кажущееся возможным. За истекшие годы стабилизированный блок зажигания [ 1 ] повторили очень многие авто- и радиолюбители, и несмотря на выявленные недостатки, можно считать, что он проверку временем выдержал. Существенно также, что в литературе пока не появились публикации сходных по простоте конструкций с аналогичными параметрами. Эти обстоятельства и побудили автора сделать еще одну попытку основательно улучшить показатели блока зажигания, сохранив его простоту.

Основное отличие усовершенствованного блока зажигания от [ 1 ] — заметное улучшение его энергетических характеристик. Если у исходного блока максимальная длительность искры не превышала 1,2 мс, причем она могла быть получена лишь на самых низких значениях частоты искрообразования, то у нового длительность искры постоянна во всей рабочей полосе 5...200 Гц и равна 1,2...1,4 мс. Это значит, что на средних и максимальных оборотах двигателя — а это наиболее часто используемые режимы — длительность искры практически соответствует установившимся в настоящее время требованиям.

Ощутимо изменилась и мощность, подводимая к катушке зажигания. На частоте 20 Гц при катушке Б-115 она достигает 50...52 мДж, а на 200 Гц — около 16 мДж. Расширены также пределы питающего напряжения, в которых блок работоспособен. Уверенное искрообразование при пуске двигателя обеспечивается при бортовом напряжении 3,5 В, но работоспособность блока сохраняется и при 2,5 В. На максимальной частоте искрообразование не нарушается, если питающее напряжение достигает 6 В, а длительность искры — не ниже 0,5 мс. Указанные результаты получены главным образом за счет изменения режима работы преобразователя, особенно условий его возбуждения. Эти показатели, которые, по мнению автора, находятся на практическом пределе возможностей при использовании всего одного транзистора, обеспечены также применением ферритового магнитопровода в трансформаторе преобразователя.

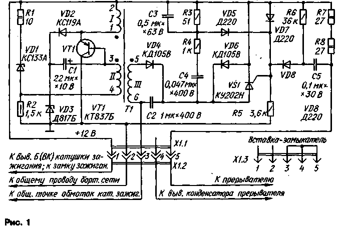
Как видно из принципиальной схемы блока зажигания, показанной на рис.1, основные ее изменения относятся к преобразователю, т.е. генератору зарядных импульсов, питающих накопитель—конденсатор С2. Упрощена цепь запуска преобразователя, выполненного, как и прежде, по схеме однотактного стабилизированного блокинг-генератора. Функции пускового и разрядного диодов (соответственно VD3 и VD9 по прежней схеме) выполняет теперь один стабилитрон VD1. Такое решение обеспечивает более надежный запуск генератора после каждого цикла искрообразования путем значительного увеличения начального смещения на эмиттерном переходе транзистора VT1. Это не снизило тем не менее общей надежности блока зажигания, поскольку режим транзистора ни по одному из параметров не превысил допустимых значений.

Изменена и цепь зарядки конденсатора задержки С1. Теперь он после зарядки накопительного конденсатора заряжается через резистор R1 и стабилитроны VD1 и V03. Таким образом, в стабилизации участвуют два стабилитрона, суммарным напряжением которых при их открывании и определяется уровень напряжения на накопительном конденсаторе С2. Некоторое увеличение напряжения на этом конденсаторе скомпенсировано соответствующим увеличением числа витков базовой обмотки II трансформатора. Средний уровень напряжения на накопительном конденсаторе уменьшен до 345...365 В, что повышает общую надежность блока зажигания и обеспечивает вместе с тем требуемую мощность искры.

Схема блока зажигания

В разрядной цепи конденсатора С1 использован стабисторVD2, позволяющий получить такую же степень перекомпенсации при уменьшении бортового напряжения, как три-четыре обычных последовательных диода. При разрядке этого конденсатора стабилитрон VD1 открыт в прямом направлении (подобно диоду VD9 исходного блока).

Конденсатор СЗ обеспечивает увеличение длительности и мощности импульса, открывающего тринистор VS1. Это особенно необходимо при большой частоте искрообразования, когда средний уровень напряжения на конденсаторе С2 существенно снижается.

В блоках электронного зажигания с многократной разрядкой накопительного конденсатора на катушку зажигания [1,2] длительность искры и в определенной степени ее мощность определяет качество тринистора, поскольку все периоды колебаний, кроме первого, создаются и поддерживаются только энергией накопителя. Чем меньше затраты энергии на каждое включение тринистора, тем большее число запусков будет возможно и тем большее количество энергии (и за большее время) будет передано катушке зажигания. Крайне желательно поэтому подобрать тринистор с минимальным открывающим током.

Хорошим можно считать тринистор, если блок зажигания обеспечивает начало искрообразования (с частотой 1 ...2 Гц) при питании блока напряжением 3 В. Удовлетворительному качеству соответствует работа при напряжении 4...5 В. С хорошим тринистором длительность искры равна 1,3...1,5 мс, при плохом — уменьшается до 1...1,2мс. При этом, как это ни покажется странным, мощность искры в обоих случаях будет примерно одинаковой по причине ограниченной мощности преобразователя. 8 случае большей длительности конденсатор-накопитель разряжается практически полностью, начальный (он же средний) уровень напряжения на конденсаторе, задаваемый преобразователем несколько ниже, чем в случае с меньшей длительностью. При меньшей же длительности начальный уровень более высок, но высок и остаточный уровень напряжения на конденсаторе из-за его неполной разрядки. Таким образом, разность между начальным и конечным уровнями напряжения на накопителе в обоих случаях практически одинакова, а от нее и зависит количество вводимой в катушку зажигания энергии [З]. И все-таки при большей длительности искры достигается лучшее дожигание горючей смеси в цилиндрах двигателя, т.е. повышается его КПД.

При нормальной работе блока зажигания формированию каждой искры соответствуют 4,5 периода колебаний в катушке зажигания. Это означает. что искра представляет собой девять знакопеременных разрядов в свече зажигания, непрерывно следующих один за другим. Нельзя поэтому согласиться с мнением (изложенным в [4]) о том, что вклад третьего и тем более четвертого периодов колебаний не удается обнаружить ни при каких условиях. На самом деле каждый период вносит свой совершенно конкретный и ощутимый вклад в общую энергию искры, что подтверждают и другие публикации, например [2]. Однако, если источник бортового напряжения включен последовательно с элементами контура (т.е. последовательно • с катушкой зажигания и накопителем), сильное затухание, вносимое именно источником, а не другими элементами, действительно, не позволяет обнаружить упомянутый выше вклад. Такое включение как раз и использовано в [4].

В описываемом блоке зажигания источник бортового напряжения в колебательном процессе участия не принимает и упомянутых потерь, естественно, не вносит.

Один из наиболее ответственных узлов блока зажигания — трансформатор Т1. Его магнитопровод Ш15х12 изготовлен из оксифера НМ2000. Обмотка 1 содержит 52 витка провода ПЭВ-2 0,8; 11—90 витков провода ПЭВ-2 0,25; III — 450 витков провода ПЭВ-2 0,25.

Зазор между Ш-образными частями магнитопровода должен быть выдержан с максимально возможной точностью. Для этого при сборке между его крайними стержнями помещают без клея по гетинаксовой (или текстолитовой) прокладке толщиной 1,2+0,05 мм, после чего детали магнитопровода стягивают прочными нитками.

Снаружи трансформатор необходимо покрыть несколькими слоями эпоксидной смолы, нитроклея или нитроэмали.

Катушку можно выполнить на прямоугольной шпуле без щек. Первой наматывают обмотку III, в которой каждый слой отделяют от следующего тонкой изоляционной прокладкой, а завершают трехслойной прокладкой. Далее наматывают обмотку II. Обмотку 1 отделяют от предыдущей двумя слоями изоляции. Крайние витки каждого слоя при намотке на шпуле следует фиксировать любым нитроклеем.

Гибкие выводы катушки лучше всего оформить по окончании всей намотки. Выводить концы обмотки I и II следует в сторону диаметрально противоположную концам обмотки III, но все выводы должны быть на одном из торцов катушки. В таком же порядке располагают и гибкие выводы, которые закрепляют нитками и клеем на прокладке из электрокартона (прессшпана). Перед заливкой выводы маркируют.

Кроме КУ202Н, в блоке можно применить тринистор КУ221 с буквенными индексами А—Г. При выборе тринистора следует принять во внимание, что, как показывает опыт, КУ202Н по сравнению с КУ221 имеют в большинстве случаев меньший ток открывания, но более критичны к параметрам импульса запуска (длительности и частоте). Поэтому для случая использования тринистора из серии КУ221 номиналы элементов цепи удлинения искры необходимо скорректировать — конденсатор СЗ должен иметь емкость 0,25 мкф, а резистор, R4 — сопротивление 620 Ом.

Транзистор КТ837 может быть с любыми буквенными индексами, кроме Ж, И, К, Т, У, Ф. Желательно, чтобы статический коэффициент передачи тока не был менее 40. Применение транзистора другого типа нежелательно. Теплоотвод транзистора должен иметь полезную площадь не менее 250см2. В роли теплоотвода удобно использовать металлический кожух блока или его основание, которые следует дополнить охлаждающими ребрами. Кожух должен обеспечивать и брызгозащищенность блока.

Стабилитрон VD3 также необходимо устанавливать на теплоотвод. В блоке он представляет собой две полосы размерами 60х25х2 мм, согнутые П-образно и вложенные одна в другую. Стабилитрон Д817Б можно заменить последовательной цепью из двух стабилитронов ДВ16В; при бортовом напряжении 14 В и частоте искрообразования 20 Гц эта пара должна обеспечивать на накопителе напряжение 350.. .360 В. Каждый из них устанавливают на небольшой теплоотвод. Стабилитроны подбирают только после выбора и установки тринистора.

Стабилитрон VD1 подборки не требует, но он обязательно должен быть в металлическом корпусе. Для увеличения общей надежности блока целесообразно этот стабилитрон снабдить небольшим теплоотводомв виде обжимки из полоски тонкого дюралюминия.

Стабистор КС119А (VD2) можно заменить тремя диодами Д223А (или другими кремниевыми диодами с импульсным прямым томом не менее 0,5 А), включенными последовательно. Большинство деталей блока зажигания смонтированы на печатной плате из фольгированного стеклотекстолита толщиной 1,5мм. Чертеж платы показан на рис.2. Плата разработана с учетам возможности монтажа деталей при различных вариантах замены.

Для блока зажигания, предназначенного работать в местностях с суровым зимним климатом, оксидный конденсатор С1 желательно использовать танталовый с рабочим напряжением не ниже 10 В. Его устанавливают вместо большой перемычки на плате, при этом точки подключения алюминиевого оксидного конденсатора (он-то и показан на плате), пригодного для работы в подавляющем большинстве климатических зон, следует замкнуть перемычкой соответствующей длины. Конденсатор С2 — МБГО, МБГЧ или К73-17 на напряжение 400...600 В.

При монтаже тринистора необходимо один из винтов его крепления изолировать от печатной дорожки общего провода,

Проверку работоспособности и тем более регулировку следует проводить именно с такой катушкой зажигания, с которой блок зажигания будет работать в дальнейшем. Следует иметь в виду, что включение блока без катушки зажигания, нагруженной запальной свечой, совершенно недопустимо. Для проверки вполне достаточно измерять пиковым вольтметром напряжение на накопительном конденсаторе С2. Таким вольтметром может служить авометр, имеющий предел постоянного напряжения 500 В. Авометр подключают к конденсатору С2 через диод Д226Б (или подобный), а зажимы авометра шунтируют конденсатором емкостью 0,1.. .0,5 мкФ на напряжение 400...600 В.

При номинальном напряжении питания (14 В) и частоте искрообразования 20 Гц напряжение на накопителе должно находиться в пределах 345...365 В. Если напряжение меньше, то прежде всего подбирают тринистор с учетом сказанного выше. Если после подборки будет обеспечено искрообразование при понижении напряжения питания до 3 В, но на конденсаторе С2 при номинальном напряжении питания будет повышенное напряжение, следует подобрать стабилитрон VD3 с несколько пониженным напряжением стабилизации.

Далее проверяют блок на высшей частоте искрообраэования (200 Гц), поддерживая номинальное бортовое напряжение. Напряжение на конденсаторе С2 должно находиться в пределах 185...200 В, а потребляемый блоком зажигания ток после непрерывной работы в течение 15...20 мин не должен превышать 2,2 А. Если транзистор за это время нагреется выше 60°С при комнатной окружающей температуре, теплоотводящую поверхность следует несколько увеличить.

Конденсатор СЗ и резистор R4 подборки, как правило, не требуют. Однако для отдельных экземпляров тринисторов (как того, так и другого типа) может потребоваться корректировка номиналов, если на частоте 200 Гц будет обнаружена неустойчивость в искрообразовании. Она проявляется обычно в виде кратковременного сбоя в показаниях вольтметра, подключенного к накопителю, и хорошо заметна на слух.

В этом случае следует увеличить емкость конденсатора СЗ на 0,1...0,2мкФ,а если это не поможет, вернуться к прежнему значению и увеличить сопротивление резистора R4 на 100...200 Ом. Одна из этих мер, а иногда и обе вместе, обычно устраняют неустойчивость запуска. Заметим, что увеличение сопротивления уменьшает, а увеличение емкости увеличивает длительность искры.

Если есть возможность воспользоваться осциллографом, то полезно убедиться в нормальном течении колебательного процесса в катушке зажигания и фактической его длительности. До полного затухания должны быть хорошо различимы 9—11 полуволн, суммарная длительность которых должна быть равна 1,3...1,5 мс на любой частоте искрообраэования. Вход Х осциллографа следует подключать к общей точке обмоток катушки зажигания.

Типичный вид осциллограммы показан на рис.4. Всплески посредине минусовых полуволн соответствуют единичным импульсам блокинг-генератора при изменении направления тока в катушке зажигания.

Целесообразно проверить также зависимость напряжения на накопительном конденсаторе от бортового напряжения. Ее вид не должен заметно отличаться от показанного на рис.5.

Изготовленный блок зажигания рекомендуется устанавливать в моторном отсеке в передней, более прохладной его части. Искрогасящий конденсатор прерывателя следует отключить и соединить его вывод с соответствующим контактом розетки разъема Х1. Переход на классическое зажигание выполняют, как и в прежней конструкции, установкой вставки-замыкателя Х1.3.

В заключение отметим, что попытки получить столь же «длинную» искру с трансформатором на стальном магнитопроводе, даже из стали самого высокого качества, не приведут к успеху. Наибольшая длительность, которая может быть достигнута, — 0,8...0,85 мс. Тем не менее блок почти без изменений (сопротивление резистора R1 следует уменьшить до 6...80м) работоспособен и с трансформатором на стальном магнитопроводе с указанными намоточными характеристиками, и эксплуатационные качества блока выше, чем у его прототипа [1].

Литература

1. Г. Карасев. Стабилизированный блок электронного зажигания. — Радио, 1988, № 9, с. 17; 1989, № 5, с.91.
2. П. Гацанюк. Усовершенствованная электронная система зажигания. В сб.: «В помощь радиолюбителю», вып. 101, с. 52, — М.:ДОСААФ.
3. А. Синельников. Электроника в автомобиле. — М.: Радио и связь, 1985, с.46.
4. Ю. Архипов. Полуавтоматический блок зажигания. — Радио, 1990, № 1, с. 31—34; № 2, с. 39-42.


Добавил:  Павел (Admin)  
Автор:  Неизвестно 

Вас может заинтересовать:

  1. Разъёмы инсталляции автомагнитол
  2. Зарядное устройство для стартерных АКБ
  3. Электрическая схема ВАЗ-21011, ВАЗ-21013
  4. Автоматическое зарядное устройство для автомобильных свинцово-кислотных аккумуляторов
  5. Формирователь оптимального угла опережения зажигания


    © PavKo, 2007-2018   Обратная связь   Ссылки views: 212 -- users: 136 -- web3   Яндекс.Метрика