Портал для радиолюбителей
   Стабилизатор напряжения на К174УН7
    Главная -> Статьи -> Стабилизаторы напряжения -> Стабилизатор напряжения на К174УН7

http://www.zadvizhka-s-elektroprivodom.ru рн30600202 задвижка клиновая dn50.

<< Назад в раздел   Распечатать Дата добавления: 2008-07-16 | Просмотров: 9649

    Очень популярная всего каких-то 12...15 лет назад микросхема К174УН7 (импортный аналог - TBA810S), представляющая собой интегральный усилитель мощности звуковой частоты, в настоящее время при построении УМЗЧ почти не используется, так как по современным меркам обеспечивает невысокое качество звучания. Но радиолюбители продолжают "беспощадно" эксплуатировать эту микросхему, создавая на ее основе различные интересные устройства [1,2].

    В [3] была опубликована статья об оригинальном стабилизаторе напряжения на К174УН4А. При подробном анализе схемы устройства стало ясно, что аналогичный стабилизатор можно построить и на более мощной микросхеме К174УН7. Однако попытка зеркального переноса найденного схемного решения с К174УН4А на К174УН7 не привела к ожидаемому результату - стабильность выходного напряжения оказалась невысокой, поэтому схема была переработана, и в итоге получилось то, что вы видите на рисунке 1.

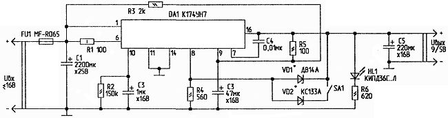
Принципиальная схема стабилизатора напряжения

Рис.1. Принципиальная схема стабилизатора напряжения

    Компенсационный стабилизатор напряжения на микросхеме К174УН7 работает в диапазоне входных напряжений 8...16 В (при Uвых= 5 В) и обеспечивает ток нагрузки до 0,5 А. При увеличении входного напряжения с 8 до 16 В выходное напряжение изменяется не более чем на 10 мВ (при токе нагрузке 0,3 А). Рассеиваемая установленной на теплоотвод микросхемой мощность может достигать 5 Вт.

    Выходное напряжение устройства определяется рабочим напряжением подключенного стабилитрона (VD1, VD2) плюс 1...1,5 В. Конденсатор С4 предотвращает самовозбуждение микросхемы, резистор R3 обеспечивает самозапуск стабилизатора при подключенной низкоомной нагрузке.

    Этот стабилизатор не имеет электронной системы защиты от перегрузки или короткого замыкания на выходе. Для защиты микросхемы от повреждений применен недорогой самовосстанавливающийся предохранитель FU1 фирмы "BOURNS" на 0,65 А типа MF-R065 [4]. При желании можно ввести и электронную защиту, как описано в [3].

    В конструкции можно использовать резисторы МЛТ, С1-4, С2-23 и другие. Конденсатор С4 - К73-17, К10-17, КМ-5. Остальные конденсаторы - оксидные, К50-35, К50-16. Стабилитроны VD1, VD2 подбираются так, чтобы получить нужные выходные напряжения. На месте VD1 можно попробовать стабилитрон КС126К, КС126Л, КС175А, КС182А, КС482А. Для получения выходного напряжения 5 В, VD2 выбирается из КС126В, КС126Г, КС139А, КС407А, КС407Б. Если в дополнение к напряжениям 5 В и 9 В потребуется еще одно выходное напряжение, например, 12 В, то нужно подобрать экземпляр стабилитрона из типов Д814В, Д814Г, КС210Ж, КС211Ж и установить переключатель SA1 на большее число положений. Цепь самого высоковольтного стабилитрона размыкаться не должна, иначе в момент переключения SA1 на выходе может произойти всплеск напряжения, близкого по амплитуде ко входному напряжению.

    Светодиод HL1, предназначенный для индикации нормальной работы, можно взять любого типа из АЛ102, АЛ307, КИПД35, КИПД40 и других.

    Микросхема обязательно устанавливается на ребристый дюралюминиевый теплоотвод. Стандартного ребристого или штыревого теплоотвода, которым обычно оснащаются микросхемы К174УН7, К174УН9 в УМЗЧ телевизоров и магнитофонов, будет недостаточно для обеспечения нормальной рабочей температуры ИМС при максимальных входном напряжении и токе нагрузке. Можно использовать два таких радиатора, если каждый из них прикрепить к одному из теплоотводных фланцев ИМС. Для долговременной надежной работы стабилизатора следует стремиться к тому, чтобы температура корпуса микросхемы не превышала 50°С при самом жестком режиме работы.

    Длина выводов предохранителя FU1 от места пайки до корпуса должна быть не менее 10 мм. Чтобы при подключении нагрузки не возникало самовозбуждение микросхемы, сигнальную и силовую цепи общего провода нужно выполнить раздельными и соединить между собой в одной точке. Цепи подключения конденсаторов С1, С5 к микросхеме должны быть как можно короче. Выходной ток стабилизатора можно увеличить до 1 А, при условии, что рассеиваемая микросхемой мощность не превысит 5 Вт.

Источники

  1. И.Александров. Инвертор полярности напряжения. - Радио, 1993, N11, С.38.
  2. И.Нечаев. Генератор 34 на микросхеме К174УН7. - Радио, 2002, N4, С.52.
  3. И.Нечаев. Микросхема К174УН4А - стабилизатор напряжения постоянного тока. - Радио, 1993, N9, С.40.
  4. Самовосстанавливающиеся предохранители MULTIFUSE фирмы BOURNS. - Радио, 2000, N11, С.49...51.

Автор: А. БУТОВ, с.Курба, Ярославской обл.


Добавил:  Павел (Admin)  
Автор:  А. БУТОВ, с.Курба, Ярославской обл 

Вас может заинтересовать:

  1. Вариант регулируемого стабилизатора
  2. Два простых аналоговых стабилизатора
  3. Стабилизатор напряжения 10 В, 1 А с полевым транзистором с защитой от перегрузок
  4. Индикатор перегрузки стабилизатора
  5. Импульсный стабилизатор 12,6В при 1,5А с защитой


    © PavKo, 2007-2018   Обратная связь   Ссылки views: 14026 -- users: 13250 -- web3   Яндекс.Метрика