Портал для радиолюбителей
   Звуковой сигнализатор к блоку питания
    Главная -> Статьи -> Блоки питания, зарядные устройства -> Звуковой сигнализатор к блоку питания


<< Назад в раздел   Распечатать Дата добавления: 2008-08-04 | Просмотров: 7948


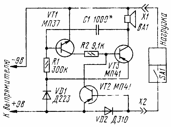
   Переносный радиоприемник, магнитофон либо другое устройство в стационарных условиях получают электроэнергию от блока питания, подключенного к осветительной сети. При этом появляется риск, уходя из дома и выключив приемник, магнитофон их собственным выключателем, оставить под напряжением блок питания. Случись в нем повреждение в ваше отсутствие, ущерб может быть весьма велик. Уберечься от подобной неприятности поможет звуковой сигнализатор, схема которого приведена на рис.1.
   На транзисторе VT2 и трансформаторе Т1 собран по схеме индуктивной трехточки генератор колебаний звуковой частоты. Конденсатор С1 совместно с первичной обмоткой трансформатора определяет высоту тона, воспроизводимого динамической головкой ВА1. Работой автогенератора управляет каскад на транзисторе VT1, у которого переход коллектор-эмиттер включен между базой транзистора VT2 и плюсом блока питания. Диод VD2, включенный параллельно эмиттерному переходу транзистора VT1, стоит в цепи питания нагрузки. Другой диод-VD1 стоит в цепи эмиттера транзистора VT2.
   Когда нагрузка включена, ее ток создает на диоде VD2 падение напряжения, открывающего транзистор VT1. В результате напряжение на базе транзистора VT2 оказывается положительным относительно эмиттерного, определяемого падением напряжения на диоде VD1. Благодаря этому транзистор VT2 закрыт и сигнализатор "молчит".
   Если нагрузка выключена своим выключателем (SA1), ток через диод VD2 и падение напряжения на нем исчезают, транзистор VT1 закрывается. Вступает в работу автогенератор, из динамической головки ВА1 раздается звуковой сигнал, напоминающий о необходимости отсоединить блок питания от сети.

Рис.1

Рис.2


   В сигнализаторе, кроме указанных на схеме, могут использоваться и другие транзисторы серий МП39-МП42. Трансформатор Т1 - выходной от приемников типа "Селга-404", динамическая головка - 0.1ГД-8, 0.25ГД-19 или другая малогабаритная со звуковой катушкой сопротивлением 8...10 Ом. Вместо диода VD1 подойдет любой кремниевый (серий Д226, Д206), вместо VD2 лучше использовать германиевый, например, серии Д312 при токе нагрузки до 50 мА, Д311А при токе нагрузки до 80 мА или Д310 при большем токе. Конденсатор С1 может быть МБМ, КЛС, резисторы - МЛТ, МТ мощностью от 0,125 Вт.
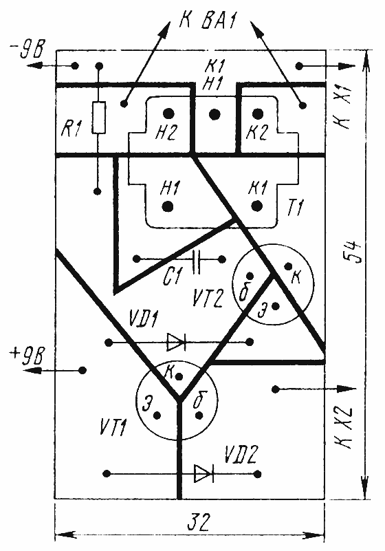
   Детали сигнализатора хорошо монтировать на печатной плате из фольгированного стеклотекстолита (рис.2). Толстыми линиями на чертеже обозначены прорези в фольге, изолирующие печатные проводники друг от друга. Конечно, плату можно изготовить методом травления, но тогда понадобится хлорное железо.
   Налаживание генератора сводится к подбору конденсатора С1, определяющего тональность сигнала. Может потребоваться также уточнение сопротивления резистора R1, чтобы обеспечивался четкий запуск генератора.
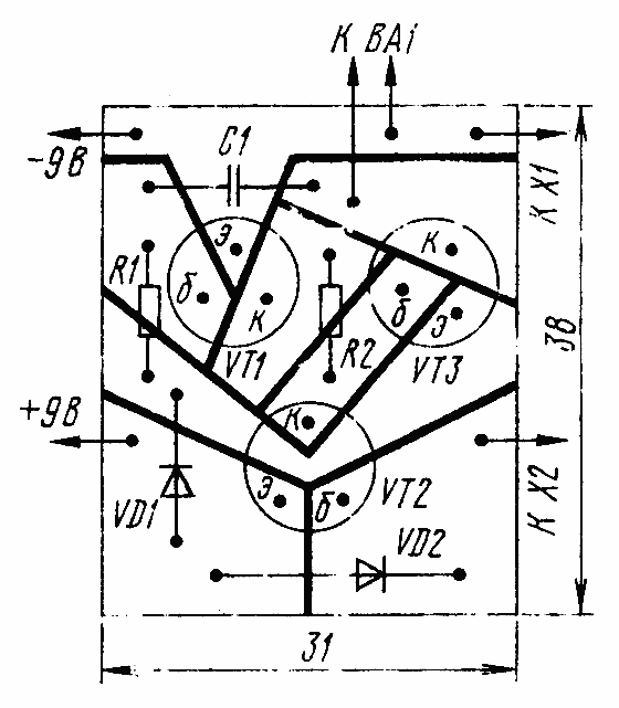
   Если у вас не окажется нужного трансформатора, сигнализатор может быть собран по схеме, приведенной на рис.3. На транзисторах VT1, VT3 разной структуры выполнен несимметричный мультивибратор, частоту генерации которого изменяют подбором конденсатора С1. Звукоизлучателем служит динамическая головка либо электромагнитный капсюль.
   Транзистор VT1 - любой из серий МП35-МП38, остальные детали сходны с аналогичными предыдущего варианта. Располагаются они на печатной плате в соответствии с рис.4.
   Любой из сигнализаторов целесообразно укрепить на общем основании с блоком питания.

Рис.3

Рис.4



    Ю. Прокопцев, г. Москва, Радио №2, 1994 г., стр.26


Добавил:  Павел (Admin)  
Автор:  Ю. Прокопцев, г. Москва, Радио №2, 1994 г., стр.26 

Вас может заинтересовать:

  1. Использование ИС семейства TL494 в преобразователях питания
  2. Применение КР1182ПМ1
  3. Преобразователь напряжения 6 в 12 вольт (ток до 0,8А)
  4. Использование маломощных высокочастотных транзисторов в качестве стабилитронов (4..9В)
  5. Применение термокомпенсированной оптронной развязки в преобразователях напряжения (Оптронов не жалеть-2)


    © PavKo, 2007-2018   Обратная связь   Ссылки views: 18026 -- users: 17021 -- web3   Яндекс.Метрика