Портал для радиолюбителей
   Универсальное зарядное устройство СЦ-21, СЦ-32, Д-0,06, Д-0,1, Д-0,25, Д-0,55, 7Д-0,115, 316, 332, 3336
    Главная -> Статьи -> Блоки питания, зарядные устройства -> Универсальное зарядное устройство СЦ-21, СЦ-32, Д-0,06, Д-0,1, Д-0,25, Д-0,55, 7Д-0,115, 316, 332, 3336


<< Назад в раздел   Распечатать Дата добавления: 2008-08-04 | Просмотров: 12933


   Оно рассчитано на зарядку малогабаритных элементов типов СЦ-21, СЦ-32, аккумуляторов Д-0,06, Д-0,1, Д-0,25, Д-0,55, аккумуляторных батарей 7Д-0,115, а также гальванических элементов 316, 332 и батарей 3336.
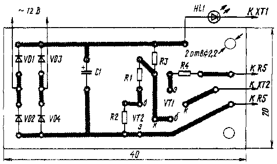
   Зарядное устройство (рис.1) представляет собой стабилизатор тока, выполненный на транзисторах VT1 и VT2. Питается стабилизатор от выпрямителя на диодах VD1-VD4 со сглаживающим конденсатором С1. В свою очередь, на выпрямитель подается переменное напряжение 12 В, которое может быть снято с готового трансформатора питания небольшой мощности, например, ТС-5-1. Необходимый для зарядки ток (2.5...15 мА) устанавливают переменным резистором R5. Установленный ток не меняется ни в течение всего периода зарядки, ни при коротком замыкании выходных зажимов ХТ1, ХТ2. Процесс зарядки индицируется светодиодом HL1.
   Выпрямительные диоды VD1-VD4 могут быть, кроме указанных на схеме, любые другие с допустимым выпрямленным током не менее 30 мА, например, серий КД105, Д226, Вместо светодиода АЛ102В допустимо установить любой из АЛ307А - АЛ307Г, а вместо транзисторов КТ315Б - КТ315А-КТ315Е. Переменный резистор R5 - СП5-50 или другой, мощностью не менее 1 Вт и с функциональной характеристикой А, остальные резисторы - МЛТ-0,125.

Рис.1

   Оксидный конденсатор С1 - емкостью не менее указанной на схеме и на номинальное напряжение не ниже 20 В.
   Часть деталей устройства размещена на печатной плате (рис.2) из фольгированного стеклотекстолита толщиной 1,5 мм. Монтаж плотный, поэтому резисторы и диоды установлены вертикально.
   Прежде чем начать работать с зарядным устройством, нужно отградуировать шкалу переменного резистора. Для этого движок резистора устанавливают сначала в верхнее по схеме положение и подключают к зажимам миллиамперметр на 25... 30 мА. Подают на устройство напряжение питания и подбором резистора R4 устанавливают ток через миллиамперметр примерно равный 15 мА. Делают отметку этого значения на шкале резистора. Затем плавно перемещают движок резистора вниз по схеме, устанавливают и отмечают на шкале другие значения выходного тока, а значит, будущего тока зарядки.
   Как показала практика работы с данным зарядным устройством, удается значительно продлить "жизнь" элементов типа СЦ-21, заряжая их током 2,5... 3 мА в течение 12...13 ч. Заряжать другие элементы, аккумуляторы и батареи следует током, примерно равным десятой части значения их емкости.


Рис. 2

В. НИКИФОРОВ г. Михайловка, Волгоградской обл., Радио №1, 1991 г., стр.69

Доработка

   Если Вас не устраивают регулируемые пределы зарядного тока 3…15 мА, их можно расширить до 1,5…55 мА, чтобы ток был достаточен как для зарядки зарубежных элементов (1,5 мА), так и для отечественных аккумуляторов Д-0,55.
   Вместо транзистора КТ315Б (VT2) автор установил КТ815Б с небольшим теплоотводом, а вместо резисторов R4 и R5 включил галетный переключатель на 11 положений с набором резисторов для "стандартных" значений зарядного тока: 1,5; 2; 2,5; 3; 6; 10; 11,5; 12; 25; 35; 55 мА. Сопротивления подключаемых переключателем резисторов можно подобрать для конкретных значений тока по методике, описанной выше. Для указанных токов автор установил соответственно резисторы сопротивлением 910, 680, 560, 470, 220, 150, 120, 110, 51, 36, 22 Ома. Мощность резисторов - от 0,125 до 0,5 Вт.

А. Липухин, г. Новокузнецк, Радио №7, 1993 г., стр.29


Добавил:  Павел (Admin)  
Автор:  В. НИКИФОРОВ г. Михайловка, Радио №1, 1991 г. 

Вас может заинтересовать:

  1. Устройство аварийного электропитания
  2. Источник питания с гальванической развязкой от сети на оптронах
  3. Применение термокомпенсированной оптронной развязки в преобразователях напряжения (Оптронов не жалеть-2)
  4. БП для трансивера ICOM 718
  5. Сетевой адаптер с гальванической развязкой


    © PavKo, 2007-2018   Обратная связь   Ссылки views: 4741 -- users: 4100 -- web3   Яндекс.Метрика