Портал для радиолюбителей
   Переговорное устройство по сети 220 В
    Главная -> Статьи -> Шпионские штучки -> Переговорное устройство по сети 220 В


<< Назад в раздел   Распечатать Дата добавления: 2010-08-07 | Просмотров: 10352

 

Применение такого рода устройств оправдывает себя при переговорах в пределах одного дома или соседних домов, т.к. применять радиостанцию на таких расстояниях нецелесообразно, а телефон нынче оплачивается по минутам.

Принцип действия этих устройств основан на том, что по проводам электрической сети можно передавать электромагнитные колебания с частотой от 10 кГц до 100 кГц, и они могут беспрепятственно распространяться до ближайшего трансформатора.

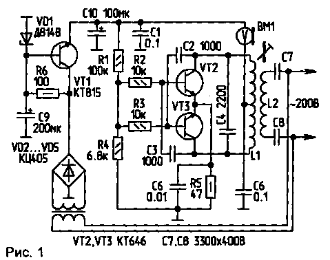
Рис. 1

В простейшем виде это устройство представляет собой генератор ВЧ (рис.1) и детекторный приемник с УНЧ (рис.2)

Автогенератор собран по обычной двухтактной схеме. Он модулируется по амплитуде угольным микрофоном ВМ1, включенным в цепь питания коллекторов VT2, VT3. Катушки L1...L4 размещены в сердечниках СБ-12 или аналогичных. Важно, чтобы L1 и L4 были идентичными по количеству витков, диаметру провода и способу намотки.

L1 содержит 100 витков с отводом от середины. Провод — диаметром 0,1...0,15 мм. Обе половины катушки наматываются в разных секциях каркаса, т.е. половина — в одной секции и половина — в другой.
L2 содержит примерно 50 витков провода диаметром 0,1...0,15 мм и наматывается поверх L1.
L4 — 100 витков; наматывается аналогично L1, но без отвода.
L3 — 50 витков, поверх L4.

Для увеличения дальности действия можно применить УВЧ в приемнике, а также усилитель мощности в передатчике. Для более качественной модуляции можно применить модулятор на транзисторах, желательно с микрофонным компрессором.

Не следует сильно увеличивать мощность, так как это приводит к появлению помех в аппаратуре, питаемой от сети. Не следует также повышать частоту выше 150 кГц, так как это приводит к появлению помех в эфире.


РАДИОЛЮБИТЕЛЬ 7/97, с.16.



Добавил:  Павел (Admin)  
Автор:  Неизвестно 

Вас может заинтересовать:

  1. РМ с удвоением частоты на 470 мГц
  2. Простой жучок на микросхеме
  3. Простой РМ на 144 MHz мощностью 20 мВт
  4. Радиопередатчик с ЧМ в диапазоне частот 100-108 МГц
  5. Схема радиомикрофона 88-108 МГц


    © PavKo, 2007-2018   Обратная связь   Ссылки views: 3931 -- users: 3876 -- web3   Яндекс.Метрика