Портал для радиолюбителей
   Программируемый переключатель гирлянд
    Главная -> Статьи -> Цветомузыкальные установки -> Программируемый переключатель гирлянд


<< Назад в раздел   Распечатать Дата добавления: 2007-10-08 | Просмотров: 14807

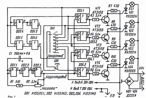
Всего четыре микросхемы, столько же транзисторов и тринисторов, да с десяток резисторов и конденсатор понадобятся для постройки автомата (рис. 1), обеспечивающего десять вариантов последовательностей включения четырех новогодних ламповых гирлянд. Нужную программу работы устанавливают переключателями SA 1 и SB 1.

Схема переключателя гирлянд

На элементах DD 2.1 - DD 2.3 собран задающий генератор, частота следования импульсов которого зависит от емкости конденсатора С1 и суммарного сопротивления резисторов R1 и R2. Переменным резистором R2 «Частота» плавно изменяют частоту следования импульсов, а значит, и частоту переключения гирлянд. С выхода генератора (вывод 8 микросхемы DD 2) импульсы поступают на синхронизирующие входы триггеров DD 3.1 - DD 4.2, на которых выполнен регистр сдвига. В зависимости от положения подвижного контакта переключателя SA1 будет та или иная последовательность появления уровней логических сигналов (0 или 1) на прямых и инверсных выходах триггеров. Кнопочным переключателем SB1 «Корректировка» пользуются для запуска регистра сдвига и корректировки задаваемой программы переключения гирлянд. В зависимости от продолжительности удержания кнопки переключателя в нажатом состоянии (когда ее подвижный контакт соединен с нижним по схеме неподвижным) при одном и том же поло­жении переключателя SA1 можно по лучать несколько разновидностей сочетаний включения гирлянд. Каждая гирлянда соединена последовательно с тринистором, на управляющий электрод которого подано через ограничительный резистор постоянное напряжение 5 В, а параллельно управляющему электроду и катоду подключен транзисторный ключ. Когда на базе транзистора уровень логического 0 (он поступает с инверсного выхода триггера), транзистор закрыт, но зато открыт тринистор. Гирлянда включена. Как только на базу поступает уровень логической 1, транзистор открывается и шунтирует управляющий электрод тринистора. Тринистор закрывается, гирлянда гаснет. Как уже было сказано, варьируя продолжительностью нажатия кнопки SB1, можно «запрограммировать» самые разнообразные сочетания включения гирлянд. Так, в положении «1» переключателя SA 1 удается получить такие сочетания (тире объединены одновременно горящие гирлянды, точками с запятой - варианты сочетаний): 1, 2, 3, 4; 1-2, 2-3, 3-4, 4-1; 1-2-3, 2-3-4, 3-4-1, 4-1-2; 1-3, 2-4. В положении «2» сочетания такие: 1, 1-2, 1-2-3, 1-2-3-4, 2-3-4, 3-4, 4; 2-3, 1-3-4, 2-4, 3, 1-4, 2, 1-3, 1-2-4; в положении «3»: 2-3, 1-3-4, 1-2-4; 1-4, 2, 3; в по­ложении «4»: 1, 1-2, 1-2-3, 2-3-4, 3-4, 4; в положении «5»: 1-3, 2-4. В положении «6» вступает в работу узел, выполненный на элементах DD1.1 - DD1.3, DD2.4 и выполняющий операцию «ИСКЛЮЧАЮЩЕЕ ИЛИ». Гирлянды начинают включаться по изменяющейся очередности, создавая впечатление повторения разнообразия предыдущих программ. В положении «7» работе переключателя останавливается, и вспыхивают все гирлянды. Питаются гирлянды от сети через двухполупериодный выпрямитель на диодах VD1- VD4, а микросхемы и транзисторные ключи - от любого источника со стабилизированным выходным напряжением 5 В при токе нагрузки до 200 мА. При указанных на схеме тринисторах и диодах мощность каждой гирлянды может быть до 500 Вт. Транзисторы - любые из серии КТ315; тринисторы - КУ201, КУ202 с индексами К-Н; диоды - любые, рассчитанные на обратное напряжение не ниже 300 В и выпрямленный ток, превышающий общий ток потребления гирлянд. Постоянные резисторы - МЛТ-0.125, переменный - СП-1; конденсатор - К50-6; переключатель SA 1 - галетный, например 11П1Н (число его положений ограничивают перестановкой фиксатора), SB 1 - кнопка MT 1-1. Часть деталей автомата смонтирована на печатной плате (рис. 2) из одностороннего фольгированного стеклотекстолита, которая установлена на общем шасси из изоляционного материала. На этом же шасси закреплены П-образные радиаторы, согнутые из полосок листового алюминия толщиной 2 мм и размерами 25х55 мм, к которым прикреплены тринисторы и диоды. На шасси могут быть расположены и детали стабилизированного источника питания.

Органы управления автоматом — переключатели, переменный резистор и выключатель блока питания (его нет на схеме) укрепляют на передней стенке корпуса, в котором установлено шасси. На задней стенке крепят зажимы (они также не показаны на схеме) или разъемы для подключения гирлянд. При отсутствии микросхемы К155ЛЕ1 можно вообще обойтись без нее, отказавшись от «комплексной» программы зажигания гирлянд (положение «6» переключателя SA1), либо собрать этот узел автомата на микросхеме К155ЛАЗ по приведенной на рис. 3 схеме. Узел значительно упростится, если использовать в нем один из элементов микросхемы К155ЛП5. В этом случае вывод 3 микросхемы подключают к контакту «6» переключателя SA1, а выводы 1 и 2 - соответственно к выводам 12 и 9 микросхемы DD3.1. Естественно, должны быть подключены к источнику питания выводы 7 и 14 микросхемы. В любом варианте нового исполнения узла придется несколько изменить рисунок печати на плате.

Автомат не требует налаживания, но для надежного переключения гирлянд, возможно, придется уменьшить сопротивление резисторов в цепи управляющих электродов тринисторов до 200 Ом. При желании изменить частоту переключения следует подобрать резисторы R 1, R 2 и конденсатор С1.

(Прим. вед. расс.: Схема действительно очень проста и не требует никакого налаживания, при этом имеет очень много световых эффектов. Данная конструкция успешно радует глаз вот уже в течение шести лет на каждый Новый год.)

О . Желюк, г . Костополь. Радио №11, 1986г.


Добавил:  Павел (Admin)  
Автор:  О . Желюк, г . Костополь. Радио №11, 1986г 

Вас может заинтересовать:

  1. Простейшая 3-х канальная цветомузыкальная установка
  2. Беглый светодиодный огонь (вариант последний)
  3. Усилитель мощности для СДУ
  4. Цветомузыкальная установка с фазоимпульсным управлением
  5. Цветомузыкальная установка с применением активных фильтров на транзисторах


    © PavKo, 2007-2018   Обратная связь   Ссылки views: 6048 -- users: 4288 -- web3   Яндекс.Метрика