Эквалайзер


Эквалайзер, как известно, предназначен для регулировки АЧХ звуковоспроизводящей аппаратуры. Он состоит из нескольких регуляторов, с помощью которых можно изменять коэффициент передачи усилительного устройства в достаточно узких полосах частот. Это позволяет получить сложную форму АЧХ, которую невозможно реализовать традиционными регуляторами тембра. В результате у слушателя появляется возможность существенно изменять характер воспроизводимой звуковой картины и таким образом компенсировать частотные искажения, вносимые источниками звуковых программ, акустическими системами и помещениями прослушивания.
Эквалайзеры обычно строят на базе активных полосовых фильтров на ОУ, причем чем больше фильтров, тем сильнее можно изменять АЧХ. Однако существенное увеличение их числа сильно усложняет управление эквалайзером, поэтому количество фильтров обычно  ограничивают 8-10.
Ниже приводится описание восьми полосного эквалайзера. Диапазон его рабочих частот 20...20 000 Гц; коэффициент передачи — 3...4;
частоты настройки каждого из восьми фильтров указаны в таблице; добротность (отношение частоты настройки к полосе пропускания) фильтра — 1,12; диапазон регулировки коэффициента передачи — +_ 12,5 дБ.
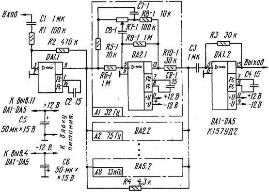
Принципиальная схема эквалайзера приведена на рис. 1.
Рис.1
Он состоит из восьми параллельно включенных активных фильтров на сдвоенных ОУ DA2-DA5. На ОУ DA1 собран входной и выходной буферные усилители. Параллельно фильтрам включен резистор R4.
Поскольку все фильтры инвертирующие, а через резистор R4 сигналы проходят без инверсии, то в выходном усилителе сигналы вычитаются. Благодаря этому выравнивается АЧХ на краях полосы пропускания фильтров и получается требуемый диапазон регулировки коэффициента передачи в каждой полосе.
Схемы фильтров одинаковы, а частоты их настройки определяются емкостями конденсаторов С7-1-С7-8 и С8-1-С8-8, значения которых указаны в таблице.
Частота
настройки
фильтра,Гц
Емкость конденсаторов,пФ
C7-1-C7-8 C8-1-C8-8
32
75
180
425
1000
2370
5620
13300
170 000
73 500
30 000
13 000
5 000
2 300
980
415
17 000
7 350
3 000
1 300
550
230
98
41
Перемещением движков резисторов R7 - 1-R7- 8 можно изменять коэффициент передачи соответствующих фильтров, а следовательно, и АЧХ в полосе этих фильтров. В крайнем левом положении (по схеме) движка этих резисторов коэффициент передачи на частоте настройки фильтров максимален (+12,5 дБ), а в крайнем правом — минимален (-12,5 дБ).
Все детали эквалайзера, кроме переменных резисторов, размещены на печатной плате из фольгированного текстолита, эскиз которой показан на рис. 2.
Рис.2
В эквалайзере можно использовать постоянные резисторы ВС и МЛТ, конденсаторы К50-6 (С5.С6) и КЛС, КМ, МБМ (остальные), причем для фильтров следует отобрать конденсаторы с небольшим TKE Конденсаторы С7 и С8 составлены из двух-трех, включенных параллельно. Функциональные характеристики переменных резисторов должны быть линейными (группа А), они могут быть как движковые, с линейным перемещением, так и осевые.
При использовании движковых резисторов (СПЗ-23А) можно сделать графический эквалайзер. Положение движков этих резисторов будет наглядно отражать АЧХ эквалайзера (рис.3).
Рис.3
При применении осевых резисторов СП, СПО и т. д. качество устройства нисколько не ухудшится, но снизится наглядность регулировки АЧХ.
Какого-либо специального налаживания эквалайзер не требует, необходимо только заранее подобрать емкости конденсаторов фильтра с точностью не хуже 5...10%.
Для питания эквалайзера необходим двухполярный стабилизированный блок питания напряжением 12...15 В и током до 50 мА.
Для стереофонического комплекса потребуется изготовить два описанных эквалайзера и установить в них сдвоенные переменные резисторы.
И.НЕЧАЕВ



Добавил:  Павел (Admin)  webmaster@radioman-portal.ru | 

Автор:  И.НЕЧАЕВ  Рейтинг@Mail.ru