Портал для радиолюбителей
   Магистральный усилитель для спутниковых ТВ-тюнеров
    Главная -> Статьи -> Телевизионная техника -> Магистральный усилитель для спутниковых ТВ-тюнеров


<< Назад в раздел   Распечатать Дата добавления: 2011-10-28 | Просмотров: 7391

    В комплект для приема спутниковых ТВ-программ входят параболическая антенна, которая устанавливается таким образом, чтобы попадала в зону прямой видимости со спутника, понижающий конвертор и тюнер (внутренний блок). Между собой они соединяются коаксиальным кабелем, длина которого обычно не должна превышать 15...20 м, но на практике бывает и больше. В результате сигнал, приходящий на тюнер, существенно ослабляется, и качество принимаемого изображения ухудшается.

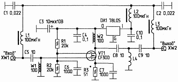
    Для компенсации затухания в кабеле предлагаю магистральный усилитель (рис.1). Он питается от инжектируемого в кабель напряжения и включается посередине кабеля. Усилитель собран по однокаскадной схеме, его усиление - не менее 10 дБ. Он построен на двухзатворном мало-шумящем полевом СВЧ-транзисторе. Напряжение питания стабилизируется маломощной ИМС DA1. ФНЧ L1-С1, L3-C2 предотвращают самовозбуждение усилителя и обеспечивают прохождение на конвертор напряжение питания.

Принципиальная схема магистрального усилителя

Рис.1. Принципиальная схема магистрального усилителя

    Усилитель собирают на печатной плате (рис.2) из фольгированного стеклотекстолита толщиной 1,5 мм. Все детали - SMD или обычные, с выводами минимальной длины (для уменьшения паразитных индуктивностей выводов). XW1, XW2 - разъемы типа "F". L4 имеет 2 витка провода ПЭВТЛ-2 d0,36 мм, намотанных на оправке d2 мм, которую после намотки удаляют.

Печатная плата

Рис.2. Печатная плата

    Усилитель помещают в латунный или литой дюралюминиевый корпус. Корпус после настройки герметизируют. VT1 можно заменить на отечественный 3П351А-2 (параметры усилителя при этом должны улучшиться, но такой транзистор найти весьма трудно). При наладке, возможно, придется подобрать резистор R3 по максимальному коэффициенту усиления устройства в целом.

Автор: В.ФЕДОРОВ, 398046, г.Липецк, а/я 1341


Добавил:  Павел (Admin)  
Автор:  Неизвестно 

Вас может заинтересовать:

  1. Подключение к антенне нескольких ТВ(УКВ)-приемников
  2. Прибор для восстановления кинескопов
  3. Передатчик видеосигнала на микросхеме КР1043ХА4
  4. Антенные усилители SWA от польской антенны
  5. Моментальный ремонт кнопок ПДУ


    © PavKo, 2007-2018   Обратная связь   Ссылки views: 17857 -- users: 17398 -- web3   Яндекс.Метрика