Из «Электроники-Контура-80» - 4-х диапазонный трансивер (Перестройка "Радио-76" на 4 диапазона)
На базе набора «Электроника-Контур-80» и трансиверной приставки, описанной в статье Г. Шульгина (см. «Радио», 1981. № 10, с. 17—19), был создан трансивер, работающий в диапазонах 160, 80, 40 и 20 м как в телефонном, так и телеграфном режимах. Его чувствительность — 1...2 мкВ. Избирательность по зеркальному каналу — не хуже 50 дБ. Побочное излучение не превышает — 50 дБ.
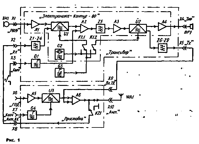
Структурная схема построенной радиостанции показана на рис. 1. При приеме сигнал из антенны WA1 через разъем Х10, нормально замкнутые контакты реле К2.1, разъем Х8 и соединительный кабель поступает на вход трансивера Х2 «RX». Выделенный одним из диапазонных полосовых фильтров Zl — Z4 сигнал приходит на первый смеситель «Электроники-Контура-80». На его гетеродинный вход через нормально замкнутые контакты реле К1 подается напряжение с ГПД G3.
Усиленный узлом А2 и отфильтрованный электромеханическим фильтром Z5 сигнал ПЧ поступает на второй смеситель U2, на второй вход которого через контакты реле К1.2 приходит напряжение частотой 500 кГц с кварцевого гетеродина G2. Сигнал звуковой частоты, усиленный узлом А4. поступает на головные телефоны E3F1. В телеграфном режиме полоса пропускания этого усилителя сужается до сотни герц (средняя частота около 900 Гц).
При передаче «холодные» концы обмоток реле (на структурной схеме не показаны) соединяются с общим проводом. Реле в свою очередь переключают выходные цепи гетеродинов, «заземляют» разъём Х8 в приставке. Кроме того, они коммутируют цени смещения выходной лампы н расстройки.
В режиме SSB усиленный микрофонным усилителем Al сигнал звуковой частоты поступает на смеситель U1 Сформированный в цепи U1-А2-Z5-A3 однополосный сигнал переносится в нужный диапазон смесителем U2 и через один из диапазонных полосовых фильтров Z6.....Z9 подается на вход (разъем Х9) трехкаскадного усилителя мощности А6. В режиме CW напряжение с телеграфного гетеродина 01, управляемого ключом, подается на усилитель А2. Дальнейшее его прохождение аналогично прохождению SSB сигнала.
Принципиальная схема трансивера приведена на рис. 2. В аппарате используются основная плата «Электро-ники-Контура-80» (на схеме обозначена как Al), кварцевый гетеродин и два реле, коммутирующие выходную цепь гетеродина.
ГПД собран на транзисторах VT2, VT3, VT5. На VT2 выполнен его задающий генератор, на VT3 — буферный каскад — истоковый повторитель, на VT5 - усилитель мощности.
В 160-метровом диапазоне ГПД вырабатывает переменное напряжение частотой 2350...2450 кГц. в 80-метровом — 4000...4150 кГц, в 40-мегровом — 7500...7600 кГц, в 20-метровом 13 500...13 850 кГц. Необходимую расстройку частоты обеспечивает варикап VD1. напряжение на котором определяется резисторами R2, R3 и R6.
Сигнал ГПД подавляется в смесителе на основной плате А1 приблизительно на 20 дБ. Еще на 30 дБ его ослабляют на низкочастотных диапазонах полосовые фильтры. В диапазоне 14 МГц обычный двухконтурный полосовой фильтр такого подавления не обеспечивает. Попытка применить трехконтурный полосовой фильтр успеха не принесла из-за больших потерь. Поэтому вместо него на входе и выходе трансивера включены усилительные каскады на транзисторах VT1 и VT8, входная часть которых представляет собой полосовой фильтр, связь между контурами которого больше критической. Нагрузка в этих каскадах — одиночный контур, настроенный на среднюю частоту 14-метрового диапазона. Благодаря принятым мерам АЧХ усилительных каскадов имеет плоскую вершину и хороший коэффициент прямоугольности.

На транзисторе VT4 собран телеграфный гетеродин. Для его согласования с усилителем ПЧ применен истоковый повторитель на транзисторе VT6. сигнал с которого поступает на основную плату «Электроники-Контура-80» в точку соединения конденсатора С6 и базы транзистора Т1.
Из режима SSB в CW трансивер переводят переключателем SA3. Им отключают напряжение питания микрофонного усилителя на основной плате и подают его на телеграфный гетеродин. Кроме того, его контакты замыкают цепь отрицательной обратной связи с двойным Т-мостом на элементах R27-R29, С47-С50 с квазирезонансной частотой около 900 Гц, которой охватывается выходной усилитель НЧ.
Чтобы вышеупомянутую трансиверную приставку можно было использовать совместно с имеющимся коротковолновым приемником (чем самым организовать еще одно рабочее место). два ее каскада переделаны, как показано на рис. 3. Вновь введенные элементы и цепи на нем показаны утолщенной линией.
В режиме «Трансивер» смеситель приставки переключателем SAT1' закорачивают накоротко. Сигнал на управляющую сетку лампы V13 поступает с полосовых фильтров. При работе на прием лампы V13 и V14 закрывают, подавая на их первую сетку (разомкнув контакты реле К1) напряжение -70 В.

Для того чтобы одновременно переводить на передачу трансивер и приставку, параллельно существующим разъемам «Педаль» включены дополнительные (в трансивере через диод VD8). соединенные между собой. В этом случае при нажатии педали трансивера на передачу включаются оба устройства, педали приставки — только приставка.
Трансивер питают от стабилизированного источника (см. схему на рис. 4).
Конструкция и габариты корпуса . трансивера такие же, как и у приставки. Органы управления размещены на передней панели. Переключатель SAI установлен так же. как в приставке. На шассн над переключателем диапазонов на стеклотекстолите во и плате находятся полосовые фильтры передачи и приема. Контуры ГПД расположены непосредственно на шасси. Вблизи них установлен конденсатор переменной емкости (С6) — подстроечный с воздушным диэлектриком. На его ось насажена шкала с верньерным механизмом от радиостанции Р-108. У задней стенки закреплен сетевой трансформатор и размещены детали источника питания. Регулирующий транзистор VTI находится на теплоотводе. В подвале шасси расположены платы ГПД, телеграфного гетеродина и основная плата, которую, во избежание наводок на электромеханический фильтр, следует максимально удалить от сетевого трансформатора.
Конденсатор С24 с основной платы «Электроннки-Контура-80» удаляют и припаивают к контактам переключателя SA3. В освободившиеся отверстия запаивают отрезок экранированного провода, идущего к SA3. Резистор R19 с основной платы разметают на контактах переключателя SA3.
В трансивере использованы резисторы МЛТ, конденсаторы КСО (в контурах гетеродинов), KM, KT, K50-6, дроссели ДМ-0,1, реле РЭС-15 (паспорт РС4.591.004). Намоточные данные катушек приведены в таблице. Все катушки намотаны виток к витку, L1 — в два слоя, L2 — L4, L5 выполнены на каркасах диаметром 9 мм с подстроечником СЦР-1 проводом ПЭВ-2 0.33, L6-L15, L20-L28 — на унифицированных каркасах, используемых в катушках на KB диапазонах в радиоприемнике ВЭФ-201, проводом ПЭВ-2 0.15, LI8. LI9 — из набора «Электроника-Контур-80». применяемые в кварцевом гетеродине. В ГПД желательно применять катушки с вожженной обмоткой.

Рис. 3

Рис. 4

Табл.1. Намоточные данные катушек
В качестве сетевого трансформатора взят ТВ К-ПО.
При доработке приставки реле РЭС-15 (К1) заменяют на РЭС-22 или подобное (РЭС-6, РЭС-9). которое устанавливают вблизи разъема XST. Одна его группа контактов будет выполнять функции прежних контактов, вторая — коммутировать антенный вход трансивера. третья — соединять с общим проводом точку А (см. рис. 3).
Основную плату и приемные полосовые фильтры налаживают согласно инструкции, приложенной к набору «Электроника-Контур-80». Затем настраивают ГПД. Движки резисторов R2, R3. R6 устанавливают в среднее положение и убеждаются с помощью осциллографа в наличии генерации. После этого определяют интервал перестройки частоты. Его устанавливают, как правило, подбором контурных конденсаторов, а передвигают его подстроечниками катушек L2—L5. Подстройкой резистора R14 и подбором конденсатора С31 добиваются, чтобы на всех диапазонах уровень выходного напряжения ГПД (при подключенном смесителе) был около 2,5 В. Включив расстройку при работе на прием, измеряют частоту ГПД при среднем положении движка резистора R2. Выключив расстройку, резистором R3 восстанавливают частоту в режиме приема, R6 — в режиме передачи.
После этого настраивают телеграфный гетеродин. При нажатом ключе осциллографом контролируют форму сигнала на выходе повторителя VT6. Подбирая конденсатор С34 и резистор RI7, получают неискаженный сигнал частотой 501 кГц.
Если в распоряжении радиолюбителя нет частотомера, то телеграфный гетеродин настраивают так. Вначале подстроечник катушки L7 вывинчивают до предела. Затем, не переводя аппарат на передачу, нажимают на ключ и медленно ввинчивают подстроечник до тех пор, пока на выходе трансивера появится тональный сигнал частотой 800... 1000 Гц. Нажимая и отпуская ключ, проверяют качество манипуляции. При необходимости подбирают конденсатор С12 и, возможно, резистор R7. Контролируя в режиме передачи уровень сигнала на катушке L4 на основной плате, подбирают конденсатор С37 таким образом, чтобы уровень телеграфной посылки составлял 0,8.. .0,9 от максимального уровня SSB сигнала.
Двойной Т-мост подстраивают резистором R29, подводя усилитель звуковой частоты к порогу возбуждения. Автогенерации не должно быть при приеме сигналов любого уровня.
Полосовые фильтры в тракте передачи настраивают после подключения трансивера к приставке. Настройку ведут в режиме передачи при нажатом ключе, добиваясь максимального отклонения стрелки индикатора анодного тока выходного каскада приставки. Время от времени ключ отпускают, следя за тем, чтобы фильтр не оказался настроенным на частоту гетеродина.
Ток покоя лампы ГУ-19 должен быть 25...30 мА. Если он значительно меньше, то стабилитрон Д816Г (V16) в приемнике нужно заменить на Д816В.