Портал для радиолюбителей
   Самодельное коаксиальное реле
    Главная -> Статьи -> Радиоспорт, любительская радиосвязь -> Самодельное коаксиальное реле


<< Назад в раздел   Распечатать Дата добавления: 2015-04-03 | Просмотров: 13227

Журнал Радио № 11 от 1967 года

При работе на КБ или УКВ радиостанции желательно использовать, одну антенну как для приема, так и дли передачи. Это позволит иметь одну и ту же диаграмму направленности в обоих режимах работы, что особенно важно, когда применяются антенны направленного действия.

Коммутация антенны при переходе с приема на передачу и наоборот обычно осуществляется различными электромеханическими или электронными устройствами. Однако в любом случае к устройству, переключающему антенну, предъявляется ряд требовании: во-первых, оно должно быть быстродействующим, особенно при работе полудуплексом; no-вторых, необходима слабая связь между входом приемника н выходом передатчика в режиме «передача» (чтобы избежать перегрузки входных цепей приемника и получить возможность контролировать сигнал своего передатчика), наконец, волновое сопротивление устройства должно быть равным волновому сопротивлению фидерных линий. Несоблюдение последнего условия приведет к потерям ВЧ энергии в антенной цени как во время приема, так и но время передачи, и снизит эффективность работы на радиостанции.

За последнее время опубликовано много описаний электронных переключателей антенны, но всем им присущи определенные недостатки. К их числу в первую очередь следует отнести низкую электрическую прочность, а также искажение формы сигнала передатчика, что приводит к повышению уровня его гармоник н порой создает помехи телевидению, Если говорить о скорости переключения и устройствах с электромеханическим реле, то она, как правило, меньше чем у электронных. Работа таких устройств сопровождается большим шумом, и, кроме того, они вносят рассогласование в фидерную линию.

Этих недостатков значительно меньше в так называемых коаксиальных рели, предназначенных для включения в коаксиальные линии с определенным волновым сопротивлением. Геометрические размеры основных токонесущих частей этих реле выбираются таким образом, чтобы их характеристические волновые сопротивления не отличались от такого же сопротивления фидерных линий. Коаксиальное реле, описание которого приводится в этой статье, имеет характеристическое сопротивление 75 Ом.



Рис. 1. Разрез реле в сборе
1 — Основание реле. 2 — Коаксиальный разъем приемника. 3 — Коаксиальный разъем передатчика. 4 — Коаксиальный разъем антенны. -5 — Электромагнит. 6 — Пластина основных контактов. 7 — Шток основных контактов. 8—Шток вспомогательных контактов. 9 — Крышка. 10 — Обмотка электромагнита. 11 — Якорь электромагнита. 12 — Вспомогательные контакты.

Конструкция реле

На рис. 1 показано реле в разрезе. На прямоугольном основании реле 1, имеющем в сечении форму квадрата, укреплены коаксиальные разъемы 2, 3, 4, электромагнит 5 и вспомогательные, контакты 12. В основании реле просверлены сквозные отверстия. В одном отверстии находятся штоки 7 и 8 для перемещения основных контактов 6 и вспомогательных контактов 12, и в другом расположены контакты коаксиальных разъемов.

Отечественная промышленность выпускает два типа коаксиальных разъемов: с выступом над фланцем (рис. 2,я) и без этого выступа (рис. 2,6). На рис. 1 показаны разъемы с выступом. В этом случае часть отверстий для них должна иметь больший диаметр. При установке разъемов без выступа углубление большего диаметра делать не нужно. После сборки и регулировки отверстие, где находятся контакты коаксиальных разъемов, закрывают крышкой 9. Это полностью экранирует реле.

Реле работает следующим образом. Когда через обмотку 10 электромагнита не проходит ток, антенна подключена через разъемы 4 и 2 ко входу приемника. При подаче напряжения на обмотку 10 якорь 11 перемещается вниз и давит на шток 7, вследствие чего контакт разъема 4 замыкается с контактом разъема 3 и антенна оказывается подключенной к выходу передатчика. Одновременно шток 8 замыкает вспомогательные контакты 12. Последние можно использовать для подключения головных телефонов к монитору либо для включения светового табло, сигнализирующего о включении радиостанции па передачу.

Управлять антенным реле можно с помощью ножной педали или системы «VOX».



Рис. 2. Коаксиальные разъемы: а — с выступом, б — без выступа.

Расчет волнового сопротивления

Диаметр отверстия, в котором находится контактная пластина антенного разъема (D) и ширина основной контактной пластины (F) определяют волновое сопротивление реле, которое можно рассчитать по формуле, приведенной под рис. 3.



Рис. 3. Расчет волнового сопротивления реле

Для наиболее распространенных типов коаксиальных кабелей с волновым сопротивлением 52, 60 и 75 Ом размеры D и F, в зависимости от типа разъемов, указаны в таблице.

Волновое сопротивление
р, ом
Ширина основной контактной пластины F, мм Диаметр отверстия D, мм Вариант коаксиального разъема (по рис. 2)
52 6,7 8 а
60 5,9 8 а
75 4,6 8 а
52 8,0 8,5 б
60 7,0 9,5 б
75 5,5 9,5 б

Детали коаксиального реле

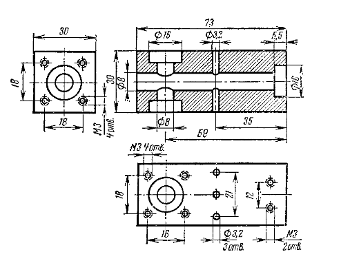
Главной деталью реле является его основание, чертеж которого дан на рис. 4. Оно изготовляется из меди или латуни. Наиболее тщательно следует выполнить центральное отверстие в основании, так как оно определяет волновое сопротивление реле. Сначала это отверстие можно просверлить сверлом несколько меньшего диаметра, а затем диаметр довести до расчетного с помощью развертки. Размеры углублений для разъемов также должны быть выдержаны достаточно точно, чтобы обеспечить надежный контакт корпусов разъемов c основанием реле.



Рис. 4. Основание реле

Если применить разъемы без выступающей части (рис. 2,б), надобность в углублениях отпадает, что снижает трудоемкость изготовления основания реле. В описываемом реле был использован электромагнит от пускателя блока питания радиостанции 10РТ. До установки электромагнита с его катушки удаляют защитный слой из ниток и три верхних слоя обмотки. Выступающие края каркаса катушки спиливают напильником до размера скобы электромагнита, и в нижней части скобы сверлят три отверстия. В двух из них нарезают резьбу М3 для крепежных винтов, а в центральном — помещают шток основного контакта. При сборке это отверстие должно совпасть с отверстием для штока в основании реле. На верхней части скобы укрепляют пластину, ограничивающую перемещение якоря, которое ие должно превышать 4 мм. Катушку обматывают полпхлорвнниловой изоляционной лентой.

Серебряные контакты, припаиваемые на удлиняющих стержнях разъемов 2 и 3 соглдсно рис. 2, и контактные пластины можно взять от реле типа МКУ-48, Оба штока изготовляют из полистирола, оргстекла, фторопласта или другого изоляционного материала ио чертежам рис. 5.



Рис. 5. Штоки

Регулировка реле проста и особых пояснений не требует.

Реле в течение года эксплуатировалось на радиостанции UT5BX. Измерения показали, что ослабление напряжения, обеспечиваемое реле между выходом передатчика н входом приемника, не менее 40 дб. Коэффициент стоячей волны, обусловленный наличием реле в цепи фидера, был не более 1,1 вплоть до частоты 250 МГц.

Для питания обмотки электромагнита использовался выпрямитель на напряжение 20 В.


Добавил:  Павел (Admin)  
Автор:  С. Бунимович (UB5UN), В. Ошкадеров (UT5BX)  

Вас может заинтересовать:

  1. ВЫСОКОЧАСТОТНЫЕ НАВОДКИ В РАДИОЛЮБИТЕЛЬСКОЙ ПРАКТИКЕ
  2. ВЫБОР ПРОМЕЖУТОЧНОЙ ЧАСТОТЫ
  3. Частоты для работы цифровыми видами связи
  4. Простой метод повышения стабильности ГПД
  5. НЕКОТОРЫЕ ПУТИ ВОЗНИКНОВЕНИЯ И НЕКОТОРЫЕ СПОСОБЫ УСТРАНЕНИЯ ПОМЕХ


    © PavKo, 2007-2018   Обратная связь   Ссылки views: 27958 -- users: 26954 -- web3   Яндекс.Метрика