Портал для радиолюбителей
   Акустика Торнадо
    Главная -> Статьи -> Акустические системы -> Акустика Торнадо


<< Назад в раздел   Распечатать Дата добавления: 2007-10-30 | Просмотров: 11895

Уже прошло достаточно много времени с момента, когда я сделал эту Акустику.
Проходит время, и я замечаю негативные явления, связанные с моей работой в той, или иной, степени.
Решил поделиться с Вами моей конструкцией колонки.
Поиски в акустике были направлены только на практические результаты.
И так, после долгих экспериментов, я создал одну конструкцию, которой дал
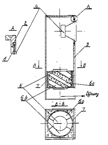
название Торнадо. Привожу один эскиз с моих официальных бумаг из
патентного бюро Германии. Тут наглядно показана конструкция колонки.
Конструкция колонки в нижней части открытая, то есть, имеет
непосредственный контакт с помещением.
На эскизе обозначено:

 

1 – вибрационная плата (стеклотекстолит или Makrolon);
2 – эластичное крепление вибрационной платы - Silikon;
3 – корпус колонки (мой любимый материал – натуральное дерево);
4 – головка громкоговорителя;
5 – волновой демпфер, или пропеллер;
6а; 6в – два спиральных отверстия, получаемых между круглым отверстием и пропеллером.

Рассмотрим каждый элемент конструкции колонки в отдельности, и какие преимущества этой конструкции в сравнении с известным фазоинвертором (ФИ).

Вибрационная плата.
Этот элемент обладает механической подвижностью, т.к. крепится с помощью силикона к корпусу колонки. Во время работы головки, плата должна вибрировать и естественно что-то должно происходить. А происходят как не странно, какие то „чудеса“, плата практически не вибрирует и каким то образом это позитивно влияет на качестве звука. По акустическим замерам методом „Sinus – Burst“ у синуса уже нет „срезанной головы“ - верхней части амплитуды, и искажения К2+К3 резко падают в измерениях с лучшего показателя для ФИ 5% до 1,3% в данном случае, с хорошей геометрией синуса.
Оказывается, никто не рассматривал работу сил в физическом понятии в такой простом механизме, как динамик. А в нём работают активные и реактивные силы по закону Ньютона (Actio=Reactio) и они производят разную работу. Активные силы идут на производство движения диффузора, а реактивные силы делают сложный путь своего движения, приходя в массу динамика. Когда силы приходят на какой-то механизм или массу, они „ищут“ где могут реализовать свою энергию, точнее слабое место. Но, в хорошо построенной конструкции, такое место трудно найти и ничего не остаётся делать, как возвращаться назад. Возвращаясь назад уже с потерями, реактивные силы начинают мешать активным силам, т.е. вырабатывают искажения, что и создаёт нам проблемы в звуке, а на акустических замерах мы видим синус без головы.
Вибрирующая плата (в-плата) создаёт противофазное движение для реактивных сил, вырабатываемых головкой. Двигаясь в противофазе, в-плата активно устраняет реактивные силы, чем сохраняет энергию динамика в целом.
Как оказалось, в акустике всё взаимосвязано: Qms-> Qes-> Qts-> Vas, даже в лабораториях это подтверждается. Но в лаборатории экспериментировали с изменениями только одной величины Qes, повлиять на Qms активно как-то не сумели, а оказалось, что оказывая влияние на Qms можно практически получить любой желаемый результат. Конечно, надо влиять на Qms путём воздействия только на реактивные силы и этим повышать КПД системы в целом. Так я, экспериментируя с головкой, где Vas=204 литра, сумел реализовать её в резонаторе V=40 литров при Qts=0,7, это действительно необычный показатель V=Vas/5.

Резонатор.
Сделать резонатор, который может „петь“, прямо скажем задача не излёгких. То что работа резонатора зависит от его геометрических размеров нашёл Гельмгольц и это послужило основой в теории. Конструкция с вибрирующей платой, или платами, абсолютно не знакома для теории. Как показала практика такой резонатор не требует точного расчёта своих размеров, и обладает более высокой производительностью, а это означает большей энергией. Этот эффект реализуется на практике как постройка колонок без предварительного расчёта, и с малым по размерам резонатором. Резонатор у Торнадо как правило в два раза меньше по размерам чем для ФИ с такой же головкой, возможно этот показатель может быть и больше, с разными головками у меня выходило по разному.
В таком резонаторе уже приходится следить за сохранением энергии и ипользование ваты или др. материалла как звукопоглотитель уже не допустимо – такой резонатор просто перестаёт работать, и бас изчезает. Проанализируйте этот момент сами, я к примеру не понимаю любую конструкцию где гасится энергия внутри резонатора ... . Можно только догадываться какой звук даёт колонка с ватой внутри.
При постройки резонатора с в-платой единственным критерием остаётся настройка взаимодействия двух объёмов: резонатора и двух спиральных каналов пропеллерa. Это можно сделать только путём замера параметра TSP. Это самый важный момент и только это требует навыков работы с акустическими замерами. Всё может подаждать, замер АЧХ и куча других акустических замеров, но этот замер, который производится електрическим способом, главный при постройки акустики и им надо владеть и желательно понимать. Я подбираю сечение каналов в пропеллере под определенный график TSP. Самым эффективным и дающим малые искажения будет график В4, график с двумя одинаковыми амплитудами импеданца.

Контрольное отверстие.
Так называют отверстие, или канал, с помощью которого резонатор соединён с пространством. В конструкции ФИ - это трубный канал, и он находится внутри резонатора, располагаясь на передней или задней части корпуса колонки. У Торнадо роль контрольного отверстия выполняют два спиральных канала, располагаются они, как правило, в нижней, или в завершающей части конструкции. То есть, спиральные каналы не располагаются внутри резонатора, а на его стороне противоположной от динамика, это прямоточная конструкция по расположению элементов.
Спиральные каналы получаются при наличии специального устройства - пропеллера в круглой части колонки, каждый канал имеет спиральный разворот равный 180°при угле наклона или угол шага равный 30°. В этих каналах звуковая волна, скорость которой 343,3м/сек, получает турбулентное движение, где и создаются силы, против её спирально-поступательного движения. Это знакомый эффект – торнадо, и это имя я дал моей конструкции. Как в дальнейшем оказалось из практики, эффект турбулентности достаточно продуктивен для воздушного сопротивления резонатору. Сечение одного спирального канала примерно такое же как у канала ФИ для данной головки, но в Торнадо их два и это означает, что конструкция Торнадо имеет в два раза больший по сечению канал сообщения. Даже это говорит о том как работает турбулентность. Такие спиральные отверстия работают непосредственно с волной, разворачивая её по фазе, но как дополнительный излучатель они уже не работают.

Пропеллер строится из принципа наименьших потерь, его диаметр должен иметь размеры такие же, как у применяемого динамика, или больше. Спиральные отверстия должны огибать возможный наибольший диаметр для данной конструкции пропеллера.
И это не всё что могут спиральные отверстия. Так, изменяя конструкцию пропеллера, можно получить „линейный“ импеданс, который просто необходим в СЧ колонках, как гарантия получения наименьших искажений в СЧ диапазоне, и это при очень малых объёмах конструкций.


Заключение.
С конструкцией Торнадо я не разу не терпел „фиаско“, колонки всегда давали бас. Сравнивать Торнадо с другими конструкциями тяжело, что-нибудь похожего в акустике нет. Колонки воспроизводят очень сочный и красивый бас, такой бас способна делать только струна музыкального инструмента, когда играешь на нём.
Без в-платы Торнадо работает очень слабо, но зато ФИ, с в-платой получает кучу энергии, но беда остаётся на своём месте – звук от этого качественней не становится. Я считаю, что в Торнадо, из-за её прямоточного построения элементов конструкции и эффективной работы спиральных каналов, не имеет больших фазовых сдвигов в звуковом давлении, чем и создаётся впечатления или эффект стоячей волны. Этот эффект стоячей волны ФИ никогда не делал, при всей своей достаточно хорошей мощности. Для получения этого эффекта надо иметь прямое взаимодействие с объёмом помещения. Я пытался найти это взаимодействие, но сказалась плохая техническая оснащённость, так что это дело будущего. Есть и другая версия о понятии стоячей волны, но это уже другая тема.

Valentin Kludt


Добавил:  Павел (Admin)  
Автор:  Valentin Kludt 

Вас может заинтересовать:

  1. Смешанное подключение акустики к комбинированным усилителям (2 варианта)
  2. Сидит краса в темнице
  3. На что обращать внимание при прослушивании
  4. Измерение параметров динамиков в домашних условиях и один способ настройки фазоинверторов
  5. О ремонте НЧ головок громкоговорителей


    © PavKo, 2007-2018   Обратная связь   Ссылки views: 1034 -- users: 484 -- web3   Яндекс.Метрика