Портал для радиолюбителей
   Фазовый метод расчета разделительных фильтров акустических систем
    Главная -> Статьи -> Акустические системы -> Фазовый метод расчета разделительных фильтров акустических систем


<< Назад в раздел   Распечатать Дата добавления: 2007-10-04 | Просмотров: 12347

А. Вахрамеев

В последние годы значительно возросли требования к качеству аппаратуры звуковоспроизведения. В первую очередь это относится к ширине рабочего диапазона частот и величине нелинейных и фазовых искажений. Качество воспроизведения в значительной степени зависит от конструктивного исполнения акустических систем (АС). В частности, для воспроизведения низких, средних и высоких частот нашли широкое применение многополосные АС, в которых устанавливаются по две, три и более динамических головок. Для разделения полос звукового спектра динамические головки включаются через разделительные фильтры первого, второго или более высокого порядка. Однако, как известно, точное разделение частот сложного звукового сигнала на граничной частоте раздела fp выполнить невозможно (рис. 1). Поэтому между соседними полосами воспроизведения динамических головок имеется зона совместного действия. Сигнал с частотой раздела fp обе головки воспроизводят с примерно равным уровнем. На других частотах зоны совместного действия уровни сигналов, подаваемых на головки, резко отличаются друг от друга по амплитуде. Для идеального воспроизведения звука в зоне совместного действия должны быть обеспечены условия для синфазной по звуковому давлению работы обеих головок (в дальнейшем—синфазная работа головок), т. е. между токами головок не должно быть фазового сдвига, а зона совместного действия должна быть как можно меньше. Однако выполнить эти условия весьма затруднительно.

Фильтры первого порядка (рис. 1, а) просты, их амплитудночастотные характеристики (АЧХ) имеют пологую форму, и благодаря этому зоны совместного действия динамических головок относительно, широки. Например, зона совместного действия низкочастотной ВА1 и среднечастотной ВА2 головок примерно равна 50... 5000 Гц (рис. 1, б).

Рис. 1. Простые разделительные фильтры:

а — принципиальные схемы; б — амплитудночастотные характеристики; в — фазочастотные характеристики

Для АС, содержащих три динамические головки, могут быть зоны одновременного действия всех трех головок (рис. 1, б, 500...5000 Гц). ( Амплитудночастотные характеристики строились до уровня сигналов практической слышимости звучания динамических головок.)

В таких разделительных фильтрах последовательно с низкочастотной (НЧ) головкой ВА1 включается дроссель L1, индуктивное сопротивление которого прямо пропорционально частоте. Как известно, в цепях с индуктивным сопротивлением ток отстает от приложенного напряжения, а в цепях, содержащих емкость,— опережает напряжение. Следовательно, амплитуда тока и угол сдвига между током и приложенным напряжением не остаются постоянными и находятся в сложной зависимости от частоты.

Например, для простых разделительных фильтров фазочастотная характеристика (ФЧХ) имеет вид, представленный на рис. 1, в. В зоне совместного действия 50...5000 Гц, в зависимости от частоты, угол (р сдвига фаз между токами, проходящими по головкам ВА1 и ВА2, изменяется соответственно от 142 до 35°. Аналогичная картина наблюдается и между фазочастотными характеристиками головок ВА2 и ВАЗ. Угол сдвига фаз между токами головок на краях зоны совместного действия составляет 60 и 100°. Очевидно, что угол сдвига фаз между токами головок ВА1 - ВА2, ВА2 - ВАЗ чрезмерно велик и зависит от частоты, следовательно, синфазная по звуковому давлению работа головок в зоне совместного действия не обеспечена. .

Если ток в первой головке изменяется по закону Ii sin ot, а во второй—l2 sin (o)t+cpi2), следовательно, между токами динамических головок существует фазовый сдвиг на угол (pi2 и в этом случае в окружающем пространстве звуковое давление будет пропорционально так называемому эквивалентному току Iэ

IЭ = I1 sin ωt + I2 sin(ωt + φ1-2) = IM sin (ωt + α),

амплитуда которого IM определяется из выражения:

IM = корень.кв(I12 + I22 + I1I2 cos φ1-2),

а угол между эквивалентным током и током первой головки можно определить таким образом:

tg α = (I2 sin φ1-2) / (I1 + I2 cos φ1-2),

т. е. угол а зависит не только от угла сдвига фаз между составными токами (pi2, но и от соотношения их амплитуд I1 / I2. В зоне совместного действия динамических головок угол сдвига фаз может изменяться в пределах от 0 до φ1-2 в зависимости от соотношения амплитуд токов и, следовательно, при звуковоспроизведении будут внесены искажения оригинала записи.

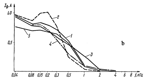
Рис. 2. Разделительный фильтр второго порядка: а — принципиальная схема; б — амплитудно-частотная характеристика низкочастотной динамической головки ВА1

 

1 — основной вариант по схеме рис. 2.a. (L1 = 7,9 мГн, R1 = 1,45 Ом, СЗ = 50 мкФ, Рд= 5,5 Ом R2=0)

2—то же, но при СЗ = 100 мкФ

3—то же, но при С3 = 25 мкФ

4—то же, но при R2 = 5 Ом

5—то же, но при R15 Ом

в—зависимость угла сдвига фаз между током нижних частот и напряжением, приложенным к фильтру:

1 — основной вариант (L 1 = 7,9 мГн, R = l1,45 Ом, С3 = 50 мкФ, Рд = 5,5 Ом, R2 = 0)

2 — то же, но при СЗ = 100 мкФ

3—то же, но при С3 = 25 мкФ

4—то же, но при R2 = 5 Ом

5— то же, но при R1 = 5 Ом

Применение разделительных фильтров второго порядка повышает крутизну спада амплитудночастотных характеристик и уменьшает зону совместного действия динамических головок. Тем самым создаются условия для более четкого разделения частот. Для низкочастотного разделительного фильтра второго порядка (рис. 2,а) полное сопротивление динамической головки ВА1 равно

ZД = RД + j XД = RД + j f L1,

где Rд, Хд и Lд — активное, индуктивное сопротивление и индуктивность катушки динамической головки. Полное сопротивление дросселя L1:

ZL = Z1-2 = R1j XL1 = R1 + j f L1,

где L1 — индуктивность дросселя; R1 — суммарное активное сопротивление обмотки дросселя и дополнительно включаемого регулировочного резистора.

Реактивное сопротивление емкости конденсатора СЗ равно

XC3 = j(1 / f C3)

Ток, проходящий через динамическую головку между точками 2, 3, равен

При известных параметрах элементов разделительного фильтра и динамической головки могут быть рассчитаны и построены амплитудно и фазочастотные характеристики (рис. 2 б, в).

В формуле (1) присутствуют реактивные сопротивления конденсатора СЗ, дросселя L1 и катушки динамической головки ВА1, которые находятся в сложной зависимости от частоты. Вследствие этого в фильтрах второго порядка угол сдвига фаз между током динамической головки и приложенным напряжением не остается постоянным и в зависимости от частоты изменяется в широких пределах. Так, например, для низкочастотного разделительного фильтра угол сдвига фаз между током динамической головки и приложенным к фильтру напряжением в зависимости от частоты может изменяться в пределах от —10 до —270° на частотах 20 и 20000 Гц соответственно (рис. 2, в). Для среднечастотной динамической головки этот угол может изменяться от +110 до —75° на частотах 80 и 20000 Гц (рис. 3), а для высокочастотной—от +135 до —50° (на 150 и 20000 Гц).

 

Рис. 3. Разделительный фильтр средних частот второго порядка:

а — принципиальная схема; б—зависимость угла сдвига фаз между током и напряжением, приложенным к фильтру: / — основной вариант (С4 =40 мкФ. L2=0,9 мГн, R4=0,75 Ом, Кд=б.З Ом, R3=0)

2 — то же, но при С4=20 мкФ

3 — то же, но при С4=20 мкФ ( в статье видимо опечатка)

4—то же, но при C4=80 мкФ

5—то же, но при L2=0,6 мкФ

6—то же, но при R3=5 Ом

Таким образом, угол сдвига фаз между током низкочастотной динамической головки и напряжением, приложенным к фильтру, при изменении частоты подаваемого напряжения может изменяться . на 260°, а для среднечастотной и высокочастотной головок этот же угол изменяется на 185°. Это обстоятельство является основной причиной несинфазной работы динамических головок в зоне их совместного действия.

Изменением параметров элементов разделительных фильтров можно регулировать фазочастотную характеристику каждой динамической головки. Благодаря этому имеется возможность получения идентичных характеристик головок и, тем самым, обеспечения условий синфазности их работы в зоне совместного действия. Так для низкочастотного разделительного фильтра по схеме рис. 2,а фазочастотная характеристика претерпевает следующие изменения:

при увеличении емкости конденсатора СЗ (кривая 2) центральная часть характеристики смещается параллельно влево;

уменьшение емкости конденсатора СЗ (кривая 3) смещает параллельно центральную часть характеристики вправо;

при увеличении сопротивления резистора R1 и уменьшении индуктивности дросселя L1 левая часть смещается в область малых значений углов с одновременным смещением центральной части вправо (кривая 5);

включение резистора R2 последовательно с конденсатором СЗ смещает правую часть характеристики (кривая 4) в область меньших углов.

При изменении параметров разделительных фильтров происходит коррекция не только фазочастотной характеристики, но и деформация амплитудночастотной характеристики. Так, на рис. 2,6:

от увеличения емкости конденсатора СЗ (кривая 2) незначительно возрастает амплитуда тока, полоса пропускания частот уменьшается; при уменьшении емкости конденсатора СЗ (кривая 3) ток уменьшается, а полоса пропускания увеличивается;

увеличение сопротивления резистора R1 снижает максимальное значение амплитуды тока, не оказывая влияния на полосу пропускания фильтра (кривая 5);

уменьшение индуктивности дросселя L1 сопровождается увеличением амплитуды тока и расширением полосы пропускания фильтра и т. д.

Электрические схемы разделительных фильтров для среднечастотной и высокочастотной динамических головок могут быть одинаковыми, отличаясь лишь значением параметров элементов (рис. 3,а). Для такой схемы значение силы тока головки может быть рассчитано по формуле

При емкости конденсатора С4 = 40 мкФ для динамической головки ЗГД1 фазочастотная характеристика похожа по форме на характеристику низкочастотной головки, однако она смещена в область положительных значений углов. Изменение параметров элементов разделительного фильтра оказывает влияние на фазочастотную характеристику (рис. 3,6) следующим образом:

увеличение емкости конденсатора С4 (кривая 4) смещает центральную часть характеристики в область низких частот;

уменьшение индуктивности дросселя L2 (кривая 5) смещает центральную часть в область высоких частот и левый конец характеристики в область меньших значений углов φ;

увеличение активного сопротивления головки RД (или сопротивления резистора, включенного последовательно с ней) перемещает всю характеристику параллельно в сторону увеличения угла сдвига тока;

увеличение сопротивления резистора R3 (кривая 6) спрямляет характеристику, смещая правую и левую части в сторону меньших значений угла.

Влияние изменений параметров этих же элементов на амплитудно-частотную характеристику следующее:

увеличение емкости конденсатора С4 ведет к возрастанию максимального значения амплитуды характеристики, резкому повышению ее неравномерности, зона пропускания увеличивается в сторону низких частот;

увеличение активного сопротивления головки RД в незначительной степени снижает неравномерность АЧХ;

увеличение сопротивления резистора R4 снижает неравномерность АЧХ и одновременно смещает ее в сторону низких частот;

сопротивление R3 сглаживает неравномерность характеристики.

При известных закономерностях влияния изменений параметров элементов разделительных фильтров на их фазо и амплитудно-частотные характеристики, создание идентичных (совмещенных) фазовых характеристик низкочастотной и среднечастотной динамических головок не представляет особых затруднений.

Наибольшую трудность вызывает согласование фазовых характеристик высокочастотной и среднечастотной динамических головок. Оба разделительных фильтра емкостные и, естественно, идентичность их фазочастотных характеристик может наступить при одинаковых значениях емкостей конденсаторов С4, а это противоречит условию разделения частот. Поэтому одним из вариантов является установка в высокочастотном фильтре конденсатора С4 малой емкости (около 2 мкФ) и дросселя L2 с незначительной индуктивностью (менее 0,1 мГн). Изменение емкости конденсатора С4 оказывает резкое влияние на фазовую и амплитудную характеристики. Кроме этого, могут проявляться резонансные явления, поэтому необходимо принимать меры к уменьшению неравномерности АЧХ, например, включить последовательно с конденсатором С4 (на рис. 3) резистор R3 с небольшим сопротивлением.

Вторым вариантом фазового согласования токов головок ВА2 и ВАЗ является построение фильтров по разным схемам: Например, головку ВАЗ можно включить через разделительный фильтр третьего порядка

Рис. 4. Схемы измерения полного сопротивления катушек динамических головок:

а — измерение методом замещения; б — измерение с источником напряжения

Порядок расчета фазо и амплитудно-частотных характеристик акустических систем может быть следующим. Во первых, для выполнения расчета необходимо знать активные и индуктивные сопротивления каждой динамической головки на частотах в зоне их полезной работы. Активное сопротивление может быть измерено мостом постоянного тока, омметром или другим прибором. Определение индуктивного сопротивления динамических головок связано с некоторыми трудностями, так как оно находится в сложной зависимости от частоты и от условий монтажа головки. Поэтому индуктивное сопротивление динамических головок следует определять при нормальных условиях их работы (смонтированных в ящике с закрытой задней стенкой и т. д.). На практике индуктивное сопротивление динамических головок определяется экспериментально-расчетным путем. Для этого производят измерение полного сопротивления головки по схеме рис. 4. Активное вспомогательное сопротивление г в схеме рис. 4,а должно быть больше, а в схеме рис. 4,6 — меньше ожидаемого сопротивления головки в 10...20 раз. По указанным схемам снимается зависимость полного сопротивления динамической головки от частоты.

По схеме рис. 4,а измерение осуществляется методом замещения. Устанавливая через определенные интервалы частоту звукового генератора G, вольтметром PV замеряется падение переменного напряжения на сопротивление катушки динамической головки ВА. Затем вместо головки включается переменный резистор R и, изменением его сопротивления добиваются получения на нем того же значения напряжения. В этом случае активное сопротивление R равно полному сопротивлению 2д1 динамической головки на данной частоте. Количество точек измерения определяется типом головки (НЧ, ВЧ) и неравномерностью ее характеристики. По полученному значению полного сопротивления для каждого значения частоты индуктивное сопротивление динамической головки определяется по формуле

Xдi = кор.кв(Zдi2 - Rд2)

Уровень выходного напряжения звукового генератора влияния на результаты измерений почти не оказывает. Так, при изменении напряжения от 1 до 30 В полное сопротивление динамической головки изменяется на 5... 8 %. Измерения по схеме рис. 4,6 более точные, величина полного сопротивления головки равна

Zдi = r Uдi / Ur

По определенным значениям сопротивлений динамических головок для конкретных, частот и предполагаемым параметрам элементов разделительных фильтров по формулам (1) и (2) рассчитываются фазочастотные и амплитудночастотные характеристики. По построенным амплитудным характеристикам определяются граничные частоты раздела и зоны совместного действия динамических головок, а также неравномерность характеристик и необходимость в их выравнивании. По этим же характеристикам можно сделать заключение о крутизне разделения частот, об оценке качеств разделительных фильтров и о путях желательного изменения (смещения, сужения и т. д.).

Затем строятся фазовые характеристики и обращается особое внимание на их сближение в зоне совместного действия динамических головок. После анализа по

строенных характеристик и при наличии каких либо недостатков, на основе известного характера воздействия изменения элементов разделительных фильтров на их характеристики, намечается вариант корректировки и вновь просчитываются характеристики. Полученные характеристики строятся, анализируются и т. д. до получения необходимых результатов. Затем все элементы акустической системы монтируются и проводятся электрические испытания.

По изложенной методике нами были определены параметры разделительных фильтров для акустической системы на динамических головках: 6ГД2 (L1 = 7,9 мГн, R2 = 1 Ом, С3 = 30 мкФ, Rд = 5,5 Ом, R1 = 1,45 Ом); ЗГД1 (L2 = 1,3 мГн, R4 = 1 Ом, С4 = 60 мкФ, Rд6,8 Ом, R3 = 2 Oм); 1ГДЗ (L2 = 0,08 мГн, R4 = 0,5 Ом, С4 = 2мкФ, Rд = 8,70м, R3 = 1 Ом).

На рис. 5 и 6 представлены измеренные характеристики низкочастотной (НЧ — 6ГД2) и среднечастотной (СЧ—ЗГД1) динамических головок. Как видим, граничная частота деления fP1 = 400 Гц, зона совместного действия 80...2000 Гц, а угол сдвига — между фазочастотными характеристиками составляет 150...190°. Следовательно, необходимо поменять полярность включения одной из динамических головок (“повернуть” ток на 180°). Как станет ясным из согласования среднечастотной головки с высокочастотной, следует изменить полярность включения среднечастотной головки (рис. 6, перевернутая СЧхарактеристика). В этом случае угол сдвига фаз между токами головок составляет 30 и 10° соответственно на частотах 80 и 2000 Гц. Для более точного совмещения характеристик в зоне 500...2000 Гц следует увеличить сопротивление R2 до 1,3 Ом (см. рис. 2,а). Аналогично выполнено согласование фазовых характеристик средне и высокочастотной динамических головок.

В результате согласования фазовых характеристик низко, средне и высокочастотной динамических головок представляется возможным создание акустической системы с высококачественным воспроизведением всего диапазона частот и “кажущимся” расширением диапазона воспроизводимых частот.

При изготовлении разделительных фильтров в качестве конденсаторов СЗ и С4 необходимо использовать бумажные конденсаторы на рабочее напряжение не менее 100 В, например МБГП2 на 160 В. Резисторы R1—R4 можно выполнить проводом диаметром 0,4...0,6 мм из любого высокоомного сплава; намотка производится бифилярно.

Дроссель в ВЧ фильтре выполняется на любом цилиндрическом каркасе медным проводом диаметром 0,6. ..0,8мм (около 140 витков). Дроссель L2 СЧ фильтра (примерно 240 витков) выполняется проводом диаметром 0,8 мм, активное сопротивление которого не должно превышать сопротивления резистора R4, так как на схеме под R4 обозначено активное суммарное сопротивление обмотки дросселя и дополнительного резистора. Если величина индуктивности окажется недостаточной при требуемом значении активного сопротивления, в катушку вставляется небольшой ферритовый сердечник.

Дроссель L1 низкочастотного фильтра выполняется на каркасе средних размеров (наружный диаметр 25... 30 мм) проводом 0,8 мм. Активное сопротивление обмотки 1,45 Ом. Для повышения индуктивности в катушку вставляется ферритовый П-образный сердечник от трансформатора строчной развертки. Сердечники из других материалов (трансформаторная сталь, карбонильное железо и т. п.) применять не следует, так как с ними проявляется зависимость значения индуктивности от силы или от частоты тока. Это может привести к появлению нелинейных искажений.

Соединительные провода в фильтрах должны иметь сечение не менее 0,8 мм2, а для соединения с усилительной аппаратурой—не менее 1,5 мм2. Это необходимо для снижения потерь напряжения и мощности в проводах и устранения возможных взаимных влияний между фильтрами.

Совершенно недопустимо использование отдельных элементов в схемах двух фильтров, например, конденсатор С4 высокочастотного фильтра включать после аналогичного конденсатора среднечастотного фильтра (как это часто практически делается). Если это условие не выполнять, появляются взаимные влияния на амплитудные и особенно на фазочастотные характеристики.



Добавил:  Павел (Admin)  
Автор:  А. Вахрамеев 

Вас может заинтересовать:

  1. Ремонт и перемотка звуковой катушки громкоговорителя
  2. Смешанное подключение акустики к усилителю с двумя мостовыми выходами каналов
  3. Двухкорпусной громкоговоритель
  4. Установка "Квадро эффект"
  5. О громкоговорителях со сдвоенными головками


    © PavKo, 2007-2018   Обратная связь   Ссылки views: 31957 -- users: 30596 -- web3   Яндекс.Метрика