Портал для радиолюбителей
   Простой термостабилизатор 2 вариант
    Главная -> Статьи -> Бытовая электроника -> Простой термостабилизатор 2 вариант


<< Назад в раздел   Распечатать Дата добавления: 2007-12-19 | Просмотров: 9969


   В быту и на производстве довольно часто возникает необходимость поддерживать постоянную температуру в помещении, в сосуде с жидкостью и т. д. Известно много электронных устройств для автоматического поддержания температуры. Некоторые из них сложны в изготовлении и содержат дефицитные элементы, другие не имеют гальванической развязки с питающей сетью и поэтому небезопасна их эксплуатация.
   Предлагаемый вариант терморегулятора обеспечивает поддержание с точностью ±0,5°С температуры, устанавливаемой в пределах от 10 до 50 °С. Мощность нагревателя, подключаемого к терморегулятору, не должна превышать 2 кВт. Основное достоинство устройства - простота в изготовлении и доступность элементной базы.
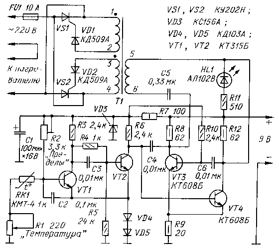
   Принципиальная электрическая схема терморегулятора изображена на рис.1. Устройство представляет собой совокупность четырех функциональных узлов: триггера Шмитта, мультивибратора, трансформатора и тринисторного ключа.
   Триггер Шмитта следит за сопротивлением терморезистора RK1 - датчика температуры. Когда сопротивление терморезистора, уменьшаясь, переходит нижний порог, триггер Шмитта переключается и своим выходным сигналом затормаживает мультивибратор. В результате этого тринисторный ключ не пропускает тока через обогреватель. При увеличении сопротивления терморезистора сверх определенного верхнего порога триггер Шмитта снова переключается в прежнее положение и разрешает работу мультивибратора, импульсы которого открывают тринисторный ключ. В результате этого через нагреватель протекает электрический ток. Этот процесс повторяется с частотой, которая зависит от мощности обогревателя, разности между значениями установленной температуры объекта и температуры окружающей среды, тепловой инерции объекта и ширины петли гистерезиса триггера Шмитта.
   Триггер Шмитта собран на транзисторах VT1, VT2. В эмиттерную цепь этих транзисторов включены два диода VD4, VD5. За счет их нелинейности удалось сузить петлю гистерезиса триггера и повысить точность поддержания температуры. Резистором R2 устанавливают пределы регулирования температуры, а резистором R1 - конкретное значение температуры в этих пределах. Связь между транзисторами VT2 и VT4 непосредственная, поэтому, если первый из них открыт, то второй закрыт, и наоборот.

Рис. 1


   Частоту генерации (около 20 кГц) мультивибратора, собранного на транзисторах VT3, VT4, определяют номиналы резисторов R6, R10, конденсаторы С4, С6. Значение частоты выбрано, исходя из условия надежного открывания тринистора, для чего необходим импульс на управляющем электроде длительностью не менее 10 мкс.
   Мультивибратор заторможен, когда открыт транзистор VT2.
   Импульсный трансформатор Т1 обеспечивает гальваническую развязку коммутируемой цепи и устройства управления, что соответствует требованиям электробезопасности при эксплуатации термостата. Первичная обмотка трансформатора подключена к коллектору транзисторов VT3, VT4 через разделительный конденсатор С5, что исключает связь между ними и трансформатором по постоянному току. Такой способ питания первичной обмотки трансформатора обеспечивает прохождение тока в двух направлениях, что повышает КПД трансформации.
   Обмотки 1-2, 3-4 трансформатора подключены к управляющим переходам тринисторов через диоды VD1, VD2. Это обеспечивает выравнивание нагрузки в каждой полуволне управляющего импульса и отсекает отрицательное напряжение на управляющих электродах тринисторов. Встречно-параллельное включение тринисторов позволяет пропускать и положительную, и отрицательную полуволны сетевого напряжения через нагреватель без применения выпрямительного моста, на котором бесполезно выделяется значительная мощность.
   Светодиод HL1 индицирует включение нагревателя.
   В устройстве использованы резисторы СП1 (R1, R2), ОМЛТ (R7, R8, R9, R12) и МЛТ (остальные). Конденсаторы КМ (С2-С6) и K52-1 (С1). Транзисторы VT1, VT2-KT315, а VT3, VT4 - КТ603, КТ608 с любой буквой. Вместо указанных на схеме диодов можно использовать КД104А (VD4, VD5) и КД510А (VD1, VD2).
   Если мощность нагревателя превышает 200 Вт, то тринисторы необходимо устанавливать на теплоотводы. При мощности, не превышающей 300 Вт, вместо КУ202Н можно использовать тринисторы КУ201Н.
   Трансформатор Т1 намотан на кольце размерами 18х12х4 мм, из феррита 2000НМ. Все три обмотки одинаковые и содержат по 50 витков провода ПЭЛШО 0,17. При изготовлении трансформатора нужно принять меры к тому, чтобы он выдерживал напряжение между обмотками не менее 600 В.
   Ток, потребляемый терморегулятором, не превышает 250 мА при напряжении питания 8...12 В.
   Перед включением терморегулятора в сеть необходимо установить резистор R2 в среднее положение. Если этот резистор будет решено вынести на переднюю панель, то последовательно с ним необходимо включить ограничительный резистор сопротивлением 300.. .510 Ом.
   Правильно собранный терморегулятор начинает работать сразу. Лишь в отдельных случаях требуется подборка резистора R3.

    Ю. МАЯЦКИИ, г. Харьков, Радио №7, 1991 г., стр.32


Добавил:  Павел (Admin)  
Автор:  Ю. МАЯЦКИИ, г. Харьков, Радио №7, 1991 г., стр.32  

Вас может заинтересовать:

  1. Принцип работы электронного счетчика
  2. Имитатор звука мотора и гудка автомашины
  3. Устройство для управления шторами. Часть 2. Механика
  4. Устройство защиты сильноточной аппаратуры (конструкуия 2)
  5. Doorphone Intercom


    © PavKo, 2007-2018   Обратная связь   Ссылки views: 187 -- users: 122 -- web3   Яндекс.Метрика