Разделительные фильтры трехполосных громкоговорителей


С целью снижения интермодуляционных искажений при звуковоспроизведении громкоговорители Hi-Fi систем составляют из низкочастотных, среднечастотных и высокочастотных динамических головок. Их подключают к выходам усилителей через разделительные фильтры, представляющие собой комбинации LC фильтров нижних и верхних частот.

Ниже приведена методика расчета трехполосного разделительного фильтра по наиболее распространенной схеме.

Частотная характеристика разделительного фильтра трехполосного громкоговорителя в общем виде показана на рис. 1. Здесь: N - относительный уровень напряжения на звуковых катушках головок: fн и fв - нижняя и верхняя граничные частоты воспроизводимой громкоговорителем полосы; fр1 и fр2 - частоты раздела.

 рис. 1

В идеальном случае выходная мощность на частотах раздела должна распределяться поровну между двумя головками. Это условие выполняется, если на частоте раздела относительный уровень напряжения, поступающего на соответствующую головку, снижается на 3 дБ по сравнению с уровнем в средней части ее рабочей полосы частот.

Частоты раздела следует выбирать вне области наибольшей чувствительности уха (1... 3 кГц). При невыполнении этого условия, из-за разности фаз колебаний, излучаемых двумя головками на частоте раздела одновременно, может быть заметно "раздвоение" звука. Первая частота раздела обычно лежит в интервале частот 400... 800 Гц, а вторая - 4... 6 кГц. При этом низкочастотная головка будет воспроизводить частоты в диапазоне fн...fp1. среднечастотная - в диапазоне fp1... fр2 и высокочастотная - в диапазоне fр2...fв.

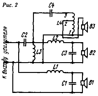
Один из распространенных вариантов электрической принципиальной схемы трехполосного громкоговорителя приведен на рис. 2. Здесь: B1 - низкочастотная динамическая головка, подключенная к выходу усилителя через фильтр нижних частот L1C1; В2 - среднечастотная головка, соединенная с выходом усилителя через полосовой фильтр, образованный фильтрами верхних частот C2L3 и нижних частот L2C3. На высокочастотную головку В3 сигнал подается через фильтры верхних частот C2L3 и C4L4.

 рис. 2

Расчет емкостей конденсаторов и индуктивностей катушек производят исходя из номинального сопротивления головок громкоговорителя. Поскольку номинальные сопротивления головок и номинальные емкости конденсаторов образуют ряды дискретных значений, а частоты раздела могут варьироваться в широких пределах, то расчет удобно производить в такой последовательности. Задавшись номинальным сопротивлением головок, подбирают емкости конденсаторов из ряда номинальных емкостей (или суммарную емкость нескольких конденсаторов из этого ряда) такими, чтобы получившаяся частота раздела попадала в указанные выше частотные интервалы.

В разделительных фильтрах обычно используют металлобумажные конденсаторы типов МБГО, МБГП и МБМ с допускаемым отклонением от номинальной емкости не более ± 10%. Наиболее подходящие для использования в фильтрах типономиналы конденсаторов приведены в табл 1.

Тип конденсатора

Емкость, мкф

МБМ
МБГО, МВГП
МБГП
МБГО

0,6
1; 2; 4; 10
15; 26
20; 30

Емкости конденсаторов фильтров С1...С4 для различных сопротивлений головок и соответствующие значения частот раздела приведены в табл 2.

Zг,0м

4.0

4.5

5.0

6.5

8.0

12,5

15

С1,C2, мкф

40

30

30

20

20

15

fp1, Гц

700

840

790

580

700

-

520

С3,С4,

мкф

5

5

4

4

3

2

1 .5

fр2,Гц

5.8

5.2

5.

4,4

4.8

4,6

5.4

Легко видеть, что все значения емкостей могут быть либо непосредственно взяты из номинального ряда емкостей. либо получены параллельным соединением не более чем двух конденсаторов (см. табл. 1).

После того как емкости конденсаторов выбраны, определяют индуктивности катушек в миллигенри по формулам:

aud_9773.gif

В обеих формулах: Zг-в омах; fp1, fр2 - в герцах.

Поскольку полное сопротивление головки является частотнозависимой величиной, для расчета обычно принимают указанное в паспорте головки номинальное сопротивление Zг, оно соответствует минимальному значению полного сопротивления головки в диапазоне частот выше частоты основного резонанса до верхней граничной частоты рабочей полосы. При этом надо иметь в виду, что фактическое номинальное сопротивление различных образцов головок одного и того же типа может отличаться от паспортного значения на ±20%.

В некоторых случаях радиолюбителям приходится использовать в качестве высокочастотных головок имеющиеся динамические головки с номинальным сопротивлением, отличающимся от номинальных сопротивлений низкочастотной и высокочастотной головок. При этом согласование сопротивлений осуществляют, подключая высокочастотную головку В3 и конденсатор С4 к различным выводам катушки L4 (рис. 2), т. е. эта катушка фильтра играет одновременно роль согласующего автотрансформатора. Катушки можно намотать на круглых деревянных, пластмассовых или картонных каркасах с щечками из гетинакса. Нижнюю щечку следует сделать квадратной; так ее удобно крепить к основанию - гетинаксовой плате, на которой крепят конденсаторы и катушки. Плату крепят шурупами ко дну ящика громкоговорителя. Во избежание дополнительных нелинейных искажений катушки должны выполняться без сердечников из магнитных материалов.

Пример расчета фильтра.

В качестве низкочастотной головки громкоговорителя используется динамическая головка 6ГД-2, номинальное сопротивление которой Zг=8 Ом. в качестве среднечастотной - 4ГД-4 с таким же значением Zг и в качестве высокочастотной - ЗГД-15, для которой Zг=6,5 Ом. Согласно табл. 2 при Zг=8 Ом и емкости С1=С2=20 мкф fp1=700 Гц, а при емкости С3=С4=3 мкф fр2=4,8 кГц. В фильтре можно применить конденсаторы МБГО со стандартными емкостями (С3 и С4 составляют из двух конденсаторов).

По приведенным выше формулам находим: L1=L3=2,56 мГ; L2=L4=0,375 мГ (для автотрансформатора L4 - это значение индуктивности между выводами 1-3).

Коэффициент трансформации автотрансформатора

aud_9774.gif

На рис. 3 показана зависимость уровня напряжения на звуковых катушках головок от частоты для трехполосной системы, соответствующей примеру расчета. Амплитудно-частотные характеристики низкочастотной, среднечастотной и высокочастотной областей фильтра обозначены соответственно НЧ, СЧ и ВЧ. На частотах раздела затухание фильтра равно 3,5 дБ (при рекомендуемом затухании 3 дБ).

 рис. 3
рис. 3

Отклонение объясняется отличием полных сопротивлений головок и емкостей конденсаторов от заданных (номинальных) значений и индуктивностей катушек от полученных расчетом. Крутизна спада кривых НЧ и СЧ составляет 9 дБ на октаву и кривой ВЧ - 11 дБ на октаву. Кривая ВЧ соответствует несогласованному включению громкоговорителя 1 ГД-3 (в точки 1-3). Как видно, в этом случае фильтр вносит дополнительные частотные искажения.

Примечание редакция. В приводимой методике расчета принято, что среднее звуковое давление при одной и той же подводимой электрической мощности для всех головок имеет примерно одинаковое значение. Вели же звуковое давление, создаваемое какой-либо головкой, заметно больше, то для выравнивания частотной характеристики громкоговорителя по звуковому давлению эту головку рекомендуется подключать к фильтру через делитель напряжения, входное сопротивление которого должно быть равно принятому при расчете номинальному сопротивлению головок.

(РАДИО N 9, 1977 г., с.37-38)


Добавил:  Павел (Admin)  webmaster@radioman-portal.ru | 

Автор:  Неизвестно  Рейтинг@Mail.ru