Портал для радиолюбителей
   Микшерные и разветвляющие каскады
    Главная -> Статьи -> Предварительные усилители -> Микшерные и разветвляющие каскады


<< Назад в раздел   Распечатать Дата добавления: 2008-01-27 | Просмотров: 9447

Микшерными принято называть каскады, предназначенные для сведения двух или нескольких электрических сигналов в один общий сигнал. Иногда каскады этого назначения называются суммирующими, так как в них по существу происходит независимое сложение напряжений нескольких сигналов. Разветвляющими называются каскады, предназначенные для повторения на нескольких независимых друг от друга выходах напряжений одного и того же сигнала. В радиолюбительской практике такие каскады называются также размножителями сигнала.
Названные выше каскады находят широкое применение при записи и воспроизведении звука.

Нерегулируемый микшерный каскад на два входа.

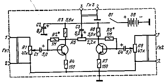
На рис.1 приведена принципиальная схема простого суммирующего каскада на два входа, собранного на двух биполярных транзисторах с общей коллекторной нагрузкой. Входные сигналы подаются к гнездам Гн.1 и Гн2, далее на базы транзисторов 77 и Т2, Суммирование сигналов происходит в их общей коллекторной нагрузке на резисторе R5. Коэффициент передачи каждого каскада по напряжению около 0,7. Для устранения влияния входного сопротивления последующего УНЧ, с которым будет работать данный каскад, введен дополнительный эмиттерный повторитель на транзисторе ТЗ. Выходной суммарный сигнал снимается с эмиттера транзистора ТЗ и через конденсатор С5 подается к выходному гнезду ГнЗ. Питание осуществляется от отдельной батареи, но можно использовать стабилизированный источник питания УНЧ, с которым каскад будет работать.

mikch1.gif
Puc.1

При повторении конструкции можно использовать транзисторы типа КТЗГ5Г. Налаживание сводится к подбору, в случае необходимости, сопротивлений резисторов R.1 и R9 в базовых цепях транзисторов Т1 и Т2 для установки коллекторного тока каждого из них равным 0,25 мА.

Как показала практика, входное сопротивление каждого входа 1-2 МОм, выходное-около 100 Ом. Коэффициент нелинейных искажений 0,1% при входном напряжении 1 В и 0,5% при входном напряжении 2 В.

Микшерный каскад с двумя регулируемыми входами и выходом.

На рис.2 приведена принципиальная схема простого суммирующего каскада на два входа, в котором применены два транзистора и переменные резисторы во входных и выходной цепях. Наличие переменных резисторов RI и R9 позволяет регулировать напряжения исходных сигналов на входах каскада для создания определенных эффектов и предотвращения перегрузки на входах. Переменный резистор R5, включенный между коллекторами транзисторов Т1 и Т2, дает возможность суммировать сигналы в самых различных соотношениях. Например, в правом крайнем положении его движка сигнал правого по схеме входа усиливается больше, чем левого, и наоборот. В среднем положении движка оба сигнала усиливаются примерно одинаково (в 10-15 раз). Входное сопротивление каждого каскада около 40 кОм, выходное-около 4 кОм. Напряжение питания 9 В, потребляемый ток - до 2 мА.

mikch2.gif
Puc.2

При повторении можно использовать транзисторы типа КТ315В, КТ315Г. Регулировка сводится к подбору сопротивлений резисторов R2 и R8, при которых коллекторные токи транзисторов Т1 и Т2 будут равны примерно по 1 мА. Особенностью данного каскада является его чувствительность к перегрузкам во входных цепях при полностью введенных движках переменных резисторов R1 и R9. В этом случае коэффициент нелинейных искажений на выходе каскада достигает 0,5% при входном напряжении 100 мВ. Поэтому рекомендуется использовать каскад с неполностью введенными движками переменных резисторов R1 и R9.

Микшерный каскад на полевых транзисторах.

На рис.3 приведена принципиальная схема микшерного каскада, предназначенного для использования в высококачественных УНЧ. Его основное достоинство - большое входное сопротивление обоих входов (по 1 МОм), высокая линейность амплитудной характеристики. Эти преимущества обусловлены использованием в каскаде полевых транзисторов Т1 я Т2. Входы и выход каскада не регулируются. Входные гнезда Гн1 и Гн2, выходное - ГнЗ. Коэффициент передачи каждого канала равен примерно 3. Максимальное входное напряжение сигнала на каждом входе 0.5 В.

mikch3.gif
Puc.3

При повторении конструкции можно использовать полевые транзисторы типа КП303Е или КП303В. Для дальнейшего улучшения качества работы каскада рекомендуется увеличить напряжение питания до 15-20 В. В случае необходимости коэффициент усиления по одному из входов может быть увеличен до 10 за счет уменьшения сопротивления в цепи истока транзистора соответствующего каскада (R2 и R4) до 100-300 Ом.
Первоначально каскад был описан в американском радиолюбительском журнале.

Каскад для сведения двух стереофонических сигналов.

Все описанные выше каскады предназначены для получения общего сигнала из двух напряжении, поступающих от разных источников, например, одновременно с выхода электрофона и микрофона или двух микрофонов, магнитофона и телефона и т. д. Суммарный сигнал далее может быть усилен и воспроизведен любым монофоническим УНЧ с громкоговорителем.

Практика показывает, что иногда такой каскад необходим для ... сведения двух стереофонических сигналов в один монофонический. В предыдущих главах речь шла о том, как лучше всего разделить оба стереофонических канала между собой, а здесь рассматривается специальный каскад, объединяющий оба канала. Зачем?

Чаще всего это необходимо для воспроизведения стереофонической программы через монофоническую электроакустическую установку, когда имеется стереофонический проигрыватель, а усилитель и громкоговоритель - монофонические. И если вход УНЧ монофонической установки подключить к выходу только одного из двух каналов проигрывателя, то звук будет неполноценным. Для высококачественного воспроизведения стереофонических программ через монофонические установки необходимо объединить сигналы обоих каналов на входе УНЧ.

mikch4.gif
Puc.4

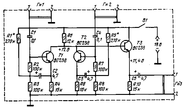
Эту задачу может решить любой из описанных выше каскадов, но все же лучше это сделать с помощью специального каскада, имеющего очень малые нелинейные искажения, работающего при повышенном напряжении питания. На рис.4 приведена принципиальная схема каскада для сведения двух стереофонических каналов в один монофонический. Как видно из рис.4, каскад имеет много общего с каскадом на рис.1. Отличие состоит во входных цепях транзисторов Т1 и Т2, а также в наличии стабилитрона Д1 на 18 В. Эти изменения способствуют уменьшению влияния помех за счет пульсации напряжения питания и уменьшают возможность перегрузки на входах. Стабилитрон Д1 заменяется двумя последовательно соединенными стабилитронами типа Д814Б.

Разветвляющий каскад с тремя выходами.

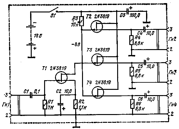
На рис.5 приведена принципиальная схема разветвляющего каскада на три выхода, предназначенного для независимого подключения до трех потребителей к одному источнику сигнала. В этом случае выход источника сигнала подключается к гнезду Гн1, а входы потребителей-к гнездам Гн2-Гн.4. На практике радиолюбители редка пользуются такими разветвляющими каскадами, подключая к выходу источника сигнала сразу несколько потребителей, например при записи с одного электропроигрывателя на входы трех магнитофонов одновременно. Здесь низкое входное сопротивление нагрузки ухудшает работу предусилителя электропроигрывателя, а кроме того, магнитофоны влияют друг на друга. При использовании каскада по схеме рис.5 такого взаимного влияния не наблюдается. Он выполнен на четырех полевых транзисторах. Каскад на транзисторе Т1 включен по схеме усилителя с общим истоком. Транзисторы Т2-Т4 используются в развязывающих истоковых повторителях. Коэффициент усиления, даваемый каскадом по каждому каналу, равен 10-15.

mikch5.gif
Puc.5

При повторении конструкции можно использовать транзисторы типа КП102Е-КП102Л или КП103Е-КП103К. В случае необходимости, отключив конденсатор С2, коэффициент усиления можно уменьшить в несколько раз. Питание от батареи или стабилизированного источника напряжением 10-20 В. Потребляемый ток 10-12 мА.

Литература

В.А.Васильев. Зарубежные радиолюбительские конструкции. Москва, "Радио и Связь", 1982.


Добавил:  Павел (Admin)  
Автор:  Неизвестно 

Вас может заинтересовать:

  1. Применение микросхемы К548УН1
  2. Предварительный УЗЧ на микросхемах серии К174
  3. Электронный переключатель сигналов на TDA1029
  4. Усилитель-корректор для звукоснимателя
  5. Усилитель-корректор на К157УЛ1 для магнитного звукоснимателя


    © PavKo, 2007-2018   Обратная связь   Ссылки views: 1954 -- users: 1653 -- web3   Яндекс.Метрика