Портал для радиолюбителей
   КАК УЛУЧШИТЬ КАЧЕСТВО ПРИЕМА
    Главная -> Статьи -> Радиоприемники -> КАК УЛУЧШИТЬ КАЧЕСТВО ПРИЕМА

https://mk-box.ru/product-category/kontejnery-dlya-generatorov-i-dgu/

<< Назад в раздел   Распечатать Дата добавления: 2008-02-18 | Просмотров: 14279

Предложенный в свое время (см. "Радио", 1985, N 12, с. 28) А. Захаровым УКВ радиоприемник с ФАПЧ до сих пор повторяют многие радиолюбители. И это неудивительно, если принять но внимание такие его достоинства, как простота, отсутствие шумов, незначительные искажения НЧ сигнала.

Однако опыт работы с этим приемником позволил выявить значительную зависимость устойчивости и качества его приема от длины и положения антенны и недостаточную полосу синхронизации.

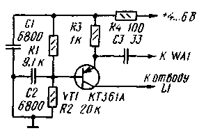
ul-kapr1.gif

Уменьшить влияние антенны можно введением в приемник усилителя радиочастоты (УРЧ). К приемнику его подключают согласно рисунку. Для увеличения полосы синхронизации следует несколько ухудшить добротность катушки генератора, намотав ее проводом диаметром 0,28...0,32 мм. При неоднократном повторении доработанного приемника было отмечено существенное улучшение качества приема.

В генераторе использовались транзисторы КТ306Б (Г) и KT3102Б. сопротивление нагрузочного резистора в коллекторной пени не должно выходить за пределы 2,7...3,6 кОм, при напряжении источника питания +4...+6 В эмиттерный ток составляет 0.8...1 мА.


Добавил:  Павел (Admin)  
Автор:  А. СОКОЛОВ г. Ленинград (Р 6/88) 

Вас может заинтересовать:

  1. Контрольный приемник для соревнований
  2. УКВ блок автомагнитолы Yamaha YX-9500
  3. Цифровой FM стерео приемник 60-110 МГц с микропроцессорным управлением
  4. Простой ламповый супергетеродин
  5. РЕГЕНЕРАТИВНЫЙ УКВ-ЧМ РАДИОПРИЁМНИК


    © PavKo, 2007-2018   Обратная связь   Ссылки views: 1876 -- users: 1850 -- web3   Яндекс.Метрика