Портал для радиолюбителей
   Улучшение технических характеристик радиоприемников
    Главная -> Статьи -> Радиоприемники -> Улучшение технических характеристик радиоприемников


<< Назад в раздел   Распечатать Дата добавления: 2008-02-18 | Просмотров: 21252

Используя кварцевые фильтры метрового диапазона, диоды Шотки и мощные ВЧ-транзисторы, можно значительно улучшить такие параметры приемников, как линейность и селективность по зеркальному каналу. Описываются восемь способов усовершенствования радиоприемников, в том числе выбор высокой промежуточной частоты, использование раздельных АРУ и усиления, применение двухтактных УРЧ, использование каскадов для двойных балансных преобразователей частоты с диодами Шотки и оптимальное распределение АРУ по каскадам приемника.

Несмотря на то что радиоприемники начали разрабатываться на заре электронной техники, все же существуют пути их дальнейшего усовершенствования. Такие новые компоненты как кварцевые фильтры, работающие в диапазоне метровых волн, pin-диоды и мощные высокочастотные транзисторы, позволяют отойти от некоторых укоренившихся концепций и разработать приемники с меньшими искажениями, лучшей селективностью по зеркальному каналу и высокой линейностью.

Особенно ощутимые преимущества при этом можно реализовать в диапазоне 2-30 МГц, однако многие из предлагаемых способов применимы и к приемникам, работающим на других частотах.

Первым шагом в разработке приемного устройства является составление структурной схемы, на которой для каждого блока отмечаются ожидаемые коэффициенты шума и потери (потери также являются источниками дополнительных шумов). Это дает возможность рассчитать коэффициент шума всего приемника. Так, например, в блок-схеме приемника, показанной на рис. 1, коэффициент шума, определенный путем суммирования шумов и потерь, составляет 8 дБ.

pr-e41.gif

РИС. 1. Блок-схема приемника позволяет определить коэффициенты усиления отдельных каскадов и коэффициент шума приемника. Коэффициент шума всего приемника определяется суммированием коэффициентов шума, коэффициентов усиления и потерь (в децибелах) отдельных каскадов. Для получения широкого динамического диапазона коэффициент усиления должен иметь минимальное значение, необходимое для компенсации потерь.

Каждый каскад необходимо оптимизировать с точки зрения динамического диапазона и коэффициента шума. Максимальный динамический диапазон получается, если коэффициенты усиления ВЧ- и ПЧ-каскадов имеют минимальную величину, необходимую для компенсации потерь. Как видно из структурной схемы, потери, составляющие 0,5 дБ во входной цепи и аттенюаторе АРУ, 6,5 дБ в преобразователе частоты и 4,5 дБ в фильтре ПЧ, компенсируются усилением около 11 дБ в усилителе ВЧ. Необходимо заметить, что второй преобразователь частоты наиболее чувствителен к перегрузкам, так как минимальная полоса пропускания кварцевого фильтра составляет ±3,5 кГц, и, следовательно, в этом каскаде более высокие напряжения концентрируются в узкой полосе частот.

После выбора основных параметров струкгурной схемы разработчик может перейти к проектированию отдельных каскадов. Именно на этом этапе можно реализовать преимущества новых компонентов. Рассмотрим последовательность способов усовершенствования приемника.

1. Для получения лучшей селективности по зеркальному каналу промежуточная частота должна быть выше принимаемого диапазона частот

В прошлом в приемниках с двойным или тройным преобразованием каждая соответственно из двух или трех промежуточных частот была ниже частот принимаемого диапазона, а селективность приемника определялась главным образом цепями, работающими на самой низкой промежуточной частоте (часто 455 кГц). Это объясняется тем, что имевшиеся в то время компоненты могли обеспечить требуемую селективность только на низких промежуточных частотах. Однако при низкой первой промежуточной частоте осложняется проблема ослабления помех зеркального канала. Частоты помех, действующих на входе, после преобразователя, к которому подведено напряжение гетеродина, могут попасть в полосу пропускания УПЧ. В случае промежуточной частоты 1 МГц ослабление помехи зеркального канала, хотя оно и составляет 80 дБ на низшей частоте приема (2 МГц), падает на частоте 30 МГц до 30 дБ. Например, в случае приема сигнала с частотой 30 МГц помеха по зеркальному каналу имеет частоту 32 МГц, близкую к частоте принимаемого сигнала и не может быть в достаточной мере ослаблена входным фильтром. В то же время при приеме на частоте 2 МГц частота помехи 4 МГц в два раза выше входной частоты, что обеспечивает хорошую селективность по зеркальному каналу. Для ослабления помех по зеркальному каналу, имеющих частоты, близкие к принимаемым, разработчики пытались использовать в преселекторах следящие полосовые фильтры, что увеличивало стоимость приемника.

Гетеродин должен перестраиваться в диапазоне, равном по ширине диапазону частот входных сигналов. Так, в приемнике с диапазоном 2-30 МГц коэффициент перекрытия диапазона гетеродином должен составлять 1:15. При таком коэффициенте перекрытия могут потребоваться сложные механические устройства, обеспечивающие точное сопряжение настроек контуров входного сигнала и гетеродина. Используя в каскадах УПЧ кварцевые фильтры диапазона метровых волн (30 - 120 МГц), выпускаемые в настоящее время, можно решить вышеуказанные проблемы. Выбрав промежуточную частоту выше частот рабочего диапазона, можно в приемнике с диапазоном 2-30 МГц использовать эллиптический фильтр нижних частот с частотой среза, например, 31 МГц. В этом случае помехи с частотами выше рабочего диапазона ослабляются на 80 дБ, а селективность по зеркальному каналу не зависит от частоты принимаемых сигналов. Тот же фильтр обеспечит ослабление излучения гетеродина, что позволяет располагать несколько приемников на близком расстоянии друг от друга. Когда промежуточная частота равна, например, 40 МГц, гетеродин должен перекрывать диапазон 42-70 МГц (в приемнике с диапазоном 2-30 МГц); следовательно, коэффициент перекрытия составляет менее 1:2. При этом значительно упрощается конструкция гетеродина и уменьшается вероятность того, что взаимодействие гармоник гетеродина с входными сигналами в преобразователе частоты приведет к образованию помех, попадающих в полосу пропускания приемника.

2. Использование раздельных каскадов для АРУ и для усиления с целью уменьшения искажении.

В прошлом электронные лампы использовались одновременно и для усиления, и для АРУ. Однако из-за нелинейности ламповых характеристик при поступлении напряжения АРУ возникали интермодуляционные искажения. То же самое имеет место и при использовании биполярных и полевых транзисторов. Если же усиление и АРУ осуществлять в раздельных каскадах, то можно обеспечить оптимальный режим каждого из них. Так, например, для АРУ можно использовать аттенюатор на pin-диодах. включенный между входным фильтром нижних частот и ВЧ-усилителем, как показано на рис.1. Диодный аттенюатор должен иметь постоянные входные и выходное импедансы, так как в противном случае всякое изменение импеданса нагрузки приведет к изменению характеристик фильтра, а изменение импеданса источника, работающего на усилитель, вызовет в нем изменение шумов и искажений. На рис. 2 показан аттенюатор, представляющий собой обычный двойной T-мост на pin-диодах. Входной и выходной импедансы такого аттенюатора поддерживаются неизменными. С этой целью используется дифференциальный усилитель, который обеспечивает соответствующее перераспределение токов в выводах аттенюатора (сумма коллекторных токов должна быть неизменной).

pr-e42.gif

РИС. 2. Пять pin-диодов, включенных по схеме двойного T-моста, выполняют функции аттенюатора. Чтобы обеспечить постоянство входного и выходного импедансов, сумма коллекторных токов транзисторов должна сохраняться неизменной.

3. Использование двухтактных усилителей ВЧ на мощных транзисторах с глубокой обратной связью для уменьшения искажений

В большинстве приемников старого типа только некоторые лампы считались достаточно линейными для применения во входных усилителях в режиме класса А. Разработчики использовали свойства этих ламп для получения малых интермодуляционных искажений. В настоящее время выпускаются мощные линейные высокочастотные транзисторы, которые, работая в режимах с большим постоянным током при сильной обратной связи по току и напряжению (что редко используется на практике), могут обеспечить линейность даже лучшую, чем лампы. На рис. 3 показана схема такого усилителя, собранного на мощных линейных транзисторах диапазона дециметровых волн.

pr-e43.gif

РИС. 3. На двух мощных высокочастотных транзисторах можно собрать усилитель с хорошей линейностью. Для линеаризации усилителя используется обратная связь, создаваемая эмиттерным резистором без шунтирующего конденсатора, коллекторно-базовыми резисторами и коллекторно-базовыми трансформаторами. Кривые иллюстрируют уменьшение нелинейности.

Двухтактный усилитель ослабляет продукты нелинейности второго порядка на 40 дБ по отношению к однотактному. Коэффициент усиления зависит от глубины обратной связи и в варианте рис. 3 равен 11 дБ. Введение обратной связи уменьшает коэффициент усиления на 40 дБ при одновременном расширении динамического диапазона. В усилителе используются три типа обратных связей: обратная связь по току осуществляется посредством эмиттерного резистора 6,8 Ом без шунтирующего конденсатора; резистор 330 Ом, включенный между коллектором и базой без шунтирующего конденсатора, обеспечивает обратную связь по напряжению. Поскольку указанные обратные связи изменяют входной и выходной импедансы, вводится еще трансформаторная обратная связь, благодаря которой выходной и входной импедансы равны по 50 Ом. При этом к.с.в.н. усилителя не превышает 1,2 в диапазоне частот от 100 кГц до почти 200 МГц. Преимущества ВЧ-усилителя нового типа лучше всего иллюстрируются его характеристикой, показанной на рис. 3. При входной мощности -27 дБм (два синусоидальных сигнала с амплитудами 20 мВ каждый) коэффициент усиления равен 12 дБ. При такой величине входного сигнала уровень интермодуляционных продуктов второго порядка (f1±f2) в однотактном каскаде не превышает -65 дБ, а продуктов третьего порядка (f1±2f2) -100 дБ. В двухтактном усилителе уровень нелинейных продуктов второго порядка дополнительно уменьшается до -105 дБ. Уровень продукта нелинейности третьего порядка достигает уровня полезного выходного сигнала при входной мощности +22 дБм.

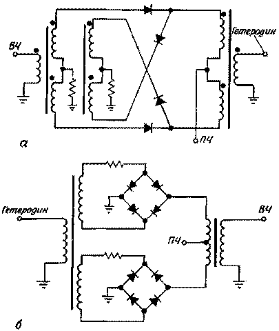
4. Применение двойных балансных преобразователей частоты с диодами Шотки

Преимущества двухтактных преобразователей над однотактными известны (высокая чувствительность, малые искажения), но высокая стоимость препятствует их широкому распространению. В настоящее время по доступной цене выпускаются малошумящие преобразовательные диоды на горячих носителях (диоды Шотки). Следует отметить, что в настоящее время выпускаются также двойные балансные преобразователи на полевых транзисторах. Такие преобразователи обеспечивают хорошее подавление продуктов нелинейности третьего порядка, но из-за неудовлетворительного согласования полевых транзисторов ослабление продуктов нелинейности второго порядка в них на 20- 30 дБ хуже, чем на диодах Шотки. Кроме того, полевые транзисторы ограничивают сигналы при меньших уровнях, чем диоды Шотки. Главное преимущество смесителей на диодах Шотки заключается в том, что они позволяют осуществить лучшее согласование по сравнению с обычными кремниевыми или германиевыми диодами. Такие смесители могут работать при большем напряжении от гетеродина. В шуме диодов Шотки отсутствует составляющая, пропорциональная 1/f2, которая препятствует использованию кремниевых диодов на низких частотах. С целью оптимизации характеристик преобразователя частоты были разработаны схемы, показанные на рис. 4,а и б. Иногда преобразователь содержит до 64 диодов (по 16 в каждой секции). Второй преобразователь в применении по структурной схеме рис. 1 работает с большими сигналами, чем первый, поэтому он должен иметь более широкий динамический диапазон. В преобразователе по схеме рис. 4, а это достигается включением последовательных резисторов и использованием двухтактной схемы.

pr-e44.gif

РИС. 4. Включив резисторы последовательно с диодными мостами в двухтактном преобразователе частоты, можно сохранить динамический диапазон при больших уровнях сигнала (а). Трансформатор в нижней схеме служит для подавления паразитных сигналов.

Следует отметить, что последовательные резисторы увеличивают потери в смесителе с 6,5 до 8 дБ. В преобразователе по схеме рис. 4, б для подавления помех побочных каналов применяется гибридный трансформатор.

5. Использование кварцевых фильтров с малыми потерями для получения высокой селективности в каскадах первой промежуточной частоты (метровые волны) и эффективного ослабления помех по зеркальному каналу.

До последнего времени было невозможно массовое производство кварцевых фильтров с высокой селективностью и малыми вносимыми потерями. На рис. 5, а показана частотная характеристика, типичная для современных кварцевых фильтров. Поскольку ослабление помехи зеркального канала между первой и второй промежуточными частотами определяется крутизной ската частотной характеристики фильтра, селективность по зеркальному каналу может достигать 80 дБ. Цена одного такого фильтра недавно составляла 400 долл., а в настоящее время при серийном изготовлении она упала до 50 долл. Механические фильтры старого типа (с магнитострикционным преобразователем) вносили сильные интермодуляционные искажения, обусловленные нелинейностью преобразователя. В современных механических фильтрах для уменьшения нелинейности применяют пьезоэлектрические преобразователи. Аналогичные эффекты могут иметь место и в кварцевых фильтрах, если ферромагнитный сердечник входного трансформатора насыщается при малых уровнях сигнала. Для уменьшения нелинейности можно применить схему рис. 5, б. Испытания проводятся с подачей двух сигналов с амплитудой 1 В на 50-Ом вход фильтра; при этом уровень паразитного сигнала не должен превышать -80 дБ.

pr-e45.gif

РИС. 5. Используя кварцевые фильтры, можно обеспечить малые потери и крутые фронты частотной характеристики (нижняя кривая растянута для наглядности относительно средней частоты). В цепи, показанной на рисунке, используются однотипные фильтры, настроенные на одинаковую рабочую частоту.

6. Двойное преобразование частоты совместно с неперестраиваемыми фильтрами нижних частот позволяет регулировать полосу пропускания без изменения крутизны ската частотной характеристики.

Получение прямоугольной частотной характеристики УПЧ при использовании узкополосных полосовых фильтров всегда представляло серьезную проблему. В новой схеме с двойным инвертированием спектра входного сигнала можно применить фильтры нижних частот, при этом крутизна ската частотной характеристики УПЧ не зависит от полосы пропускания. Дополнительным преимуществом фильтров нижних частот является в два раза меньшее по сравнению с полосовыми фильтрами время установления. Это устраняет нежелательные колебания в фильтрах в случае приема импульсных сигналов. Сущность способа поясняется схемой (рис.6).

pr-e46.gif

РИС. 6. Полоса пропускания УПЧ-приемника зависит от частотного сдвига между двумя гетеродинами, работающими на второй промежуточный частоте. Входной сигнал дважды преобразуется по частоте в диапазон 52-64 кГц, а фильтры с крутым спадом на частоте 64 кГц формируют фронты частотной характеристики УПЧ.

Селективность приемника определяется главным образом трактом второй промежуточной частоты 525 кГц. Полоса пропускания по второй промежуточной частоте и, следовательно, полоса пропускания приемника в целом могут устанавливаться в пределах 150 Гц-12 кГц. При этом выбор полосы пропускания осуществляется не заменой фильтра, а регулировкой частотного сдвига между двумя гетеродинами. Сигнал 525 кГц с максимальной шириной спектра, например ±6 кГц (510-531 кГц), поступает на преобразователь частоты вначале с частотой гетеродина 467 кГц, в результате чего образуется сигнал, занимающий полосу частот от 52 (525-6-467) до 64 кГц (525+6-467). Результирующий сигнал поступает в кварцевый фильтр нижних частот, частотная характеристика которого имеет резкий спад на частоте 64 кГц (этот спад образует один из фронтов частотной характеристики УПЧ). Указанный фильтр с фиксированной частотой среза настраивается только один раз. Затем спектр сигнала с полосой 52-64 кГц вновь переносится на среднюю частоту 525 кГц и вновь поступает на преобразователь с частотой гетеродина 583 кГц. При этом сигнал возвращается в диапазон 52-64 кГц, но с инвертированным спектром (составляющие спектра, находившиеся ранее у границы полосы пропускания 64 кГц, сейчас находятся на 12 кГц ниже этой границы). Фильтр с частотой среза 64 кГц подавляет составляющие сигнала, находившиеся при первом преобразовании у границы 52 кГц. Полученный таким образом сигнал, отфильтрованный с высокой селективностью, вновь переносится по спектру на частоту 525 кГц и детектируется. Следует отметить, что фронты частотной характеристики УПЧ сохраняются неизменными, а ширина полосы уменьшается регулировкой частотного сдвига между двумя гетеродинами. Так, например, при ширине полосы пропускания 2 кГц гетеродины настроены на частоты 462 кГц (525+1-64) и 588 (525-1+64). В связи с тем, что границы полосы пропускания формируются фильтром нижних частот, частотная характеристика близка к прямоугольной даже при ширине полосы пропускания 150 Гц. Описываемый способ обеспечивает симметрию фазовой характеристики или характеристики групповой задержки относительно средней частоты. Кварцевые или механические фильтры, обычно используемые в УПЧ, являются чебышевскими фильтрами с нелинейной фазовой характеристикой. В то же время фильтры нижних частот бесселевского типа могут обеспечить требуемую линейность.

7. В числе факторов, ухудшающих динамический диапазон приемника, необходимо учитывать шумовые боковые полосы гетеродина

Шумовые боковые полосы спектра гетеродина могут значительно ухудшить динамический диапазон приемника вследствие эффекта, называемого блокированием. Шумы гетеродина могут взаимодействовать с сильными входными сигналами, близкими по частоте к принимаемому сигналу, что приведет к появлению шума в полосе пропускания УПЧ, который интерферирует с полезным сигналом, уменьшая отношение сигнал/шум. Сильные искажения, обусловленные блокированием, могут возникнуть при уровнях сигнала, значительно меньших порога сжатия по уровню 3 дБ (еще один параметр, характеризующий динамический диапазон). Порог сжатия по уровню 3 дБ соответствует появлению заметной перекрестной модуляции и обычно имеет место при больших амплитудах сигнала, чем эффект блокирования. Из рис. 7, приведенного в качестве примера, видно, что при спектральной плотности шумовой боковой полосы 145 дБ/Гц (расстройка 20 кГц относительно средней частоты гетеродина) и коэффициенте шума приемника 10 дБ блокирование приемника 3 дБ возникает при входном напряжении около 50 мВ, в то время как порог сжатия по уровню 3 дБ соответствует амплитуде сигнала около 1 В.

pr-e47.gif

РИС. 7. Входное напряжение, соответствующее эффекту блокирования 3 дБ, в зависимости от шумов боковых полос гетеродина, которые преобразуются при действии сигналов на входе, и от общего коэффициента шума приемника.

При использовании в качестве гетеродина синтезатора частот необходимо также устранить ложные сигналы, поскольку они, подобно шумовым боковым полосам, могут ухудшить параметры приемника.

8. Правильное распределение АРУ по каскадам приемника для получения максимального динамического диапазона

Динамический диапазон приемника зависит от наименьшего уровня сигнала, при котором напряжение АРУ поступает к ВЧ-аттенюатору. Пока уровень сигнала в антенне не достигнет величины, соответствующей отношению сигнал/шум 48 дБ, АРУ должна действовать только в УПЧ (рис. 8).

pr-e48.gif

РИС. 8. Цепи АРУ увеличивают отношение сигнал/шум (разность по вертикали между двумя кривыми). Для получения широкого динамического диапазона входной аттенюатор АРУ должен вступить в действие только тогда, когда отношение сигнал/шум достигнет 48 дБ.

После этого должен вступить в действие аттенюатор АРУ, который защищает второй преобразователь от перегрузки. Если аттенюатор АРУ начнет работать при меньших сигналах, то при этом не только уменьшится отношение сигнал/шум, но может ухудшиться стабильность АРУ. Цепь АРУ необходимо тщательно проанализировать как систему с замкнутой петлей обратной связи, например, при помощи годографа Найквиста, для оптимизации ее параметров.


Добавил:  Павел (Admin)  
Автор:  U. L. Rohde (Фэрфилд, шт. Нью-Джерси) 

Вас может заинтересовать:

  1. Синтезатор сетки частот
  2. Простой УКВ ЧМ приемник
  3. Цифровой FM стерео приемник 60-110 МГц с микропроцессорным управлением (конструкция 2)
  4. Простой ламповый супергетеродин
  5. Цифровая шкала для FM-приёмников супергетеродинного типа на микросхемах: СХА1191,СХА1238,ТЕА5711, ТА8127,ТА8164,ТА8167 и др.


    © PavKo, 2007-2018   Обратная связь   Ссылки views: 4340 -- users: 4297 -- web3   Яндекс.Метрика