Портал для радиолюбителей
Статьи
Программы
Справочник
Соревнования
Журналы
История
Форум
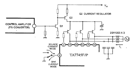
TA7745
TA7745
Микросхема управления двигателем
© PavKo, 2007-2018
Обратная связь
Ссылки
views: 6626 -- users: 2332 -- web3