|
ГИ-7Б - Импульсный
генераторный триод
Импульсный генераторный
триод для генерирования и усиления ВЧ колебаний дециметрового диапазона в
непрерывном режиме и в импульсном при анодной модуляции.
Схема соединений
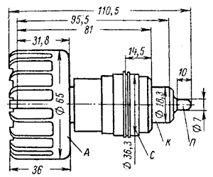
Основные размеры
-
Оформление - металлокерамическое.
-
Вес наибольший: ГИ-7Б и ГИ-7БТ - 330 г; ГИ-70Б и ГИ-70БТ
- 170 г.
-
Охлаждение принудительное: ГИ-7Б и ГИ-7БТ - воздушное не
менее 24 м3/ч; ГИ-70Б и ГИ-70БТ - анода, водяное 1 л/мин, сеточного и
катодного цилиндров, воздушное не менее 6 м3/ч.
-
Междуэлектродные емкости для ламп ГИ-7Б и ГИ-70Б:
|
Наименование
|
Мин.
|
Ном.
|
Макс.
|
|
Сетка-анод
|
10,0
|
11,1
|
12,2
|
|
Анод-катод
|
0,055
|
0,075
|
0,095
|
|
Анод-сетка
|
4,0
|
4,6
|
5,2
|
|
Наименование
|
Мин.
|
Ном.
|
Макс.
|
|
Сетка-анод
|
10,0
|
11,1
|
12,2
|
|
Анод-катод
|
0,055
|
0,075
|
0,095
|
|
Анод-сетка
|
4,2
|
4,6
|
5,0
|
Основные параметры
|
Наименование
|
Мин.
|
Ном.
|
Макс.
|
| Ток накала, А |
1,8
|
1,925
|
2,05
|
| Ток анода на хвосте характеристики (при напряжении сетки
минус 40 В, напряжении анода 1,5 кВ), мА |
-
|
-
|
5
|
| Обратный ток сетки (при напряжении анода 1,5 кВ), мкА |
-
|
-
|
96
|
| Ток эмиссии в импульсе при напряжении анода и сетки 400 В,
А |
20
|
-
|
-
|
| Ток утечки сетки-катод (при отрицательном напряжении сетки
200 В), мкА |
-
|
40
|
40
|
| Крутизна характеристики, мА/В |
20
|
23
|
26
|
| Проницаемость при изменении напряжения на аноде 200 В, % |
1,2
|
1,5
|
1,8
|
| Напряжение в рабочей точке (отрицательное значение), В |
7,5
|
10
|
12,5
|
| Колебательная мощность в режиме непрерывного
генерирования, Вт: |
|
|
|
| - на длине волны 18,5 см * |
30
|
-
|
-
|
| - на длине волны 52,0 см ** |
200
|
-
|
-
|
| - в импульсном режиме |
11
|
-
|
-
|
| Долговечность, час |
500
|
-
|
-
|
| Критерии долговечности: |
|
|
|
| - колебательная мощность в режиме непрерывного
генерирования, Вт |
24
|
-
|
-
|
* При напряжении анода 1,05 кВ и токе анода 300 мА.
** При напряжении анода 1,7 кВ и токе анода 270 мА.
Основные параметры
измерены в следующем режиме
| Напряжение накала, В |
12,6
|
| Напряжение анода, кВ |
1,3
|
| Напряжение анода в импульсе, кВ |
9
|
| Ток анода, мА |
150
|
| Ток анода в импульсе, А |
7,5
|
| Длина волны, см |
9,2
|
| Длительность импульса, мксек |
10
|
| Скважинность |
1400
|
Анодная характеристика

Анодно-сеточная
характеристика

|