Портал для радиолюбителей
   Бесконтактный прерыватель электронной системы зажигания
    Главная -> Статьи -> Автомобильная электроника -> Бесконтактный прерыватель электронной системы зажигания


<< Назад в раздел   Распечатать Дата добавления: 2008-05-16 | Просмотров: 9633

Автолюбители, установившие на свой автомобиль электронную систему зажигания наверное уже оценили ее преимущества. Контактный же прерыватель продолжает по-прежнему доставлять хлопоты. Эрозия, окисление, загрязнение контактов заставляют автолюбителя периодически проводить работу по поддержанию их рабочего состояния. Избавиться от этих забот можно, если дополнить электронную систему зажигания формирователем импульсов с бесконтактным датчиком.

Известно несколько типов датчиков, способных работать в бесконтактных системах зажигания - фотоэлектрические, гальваномагнитные, параметрические. К параметрическим относят те датчики, в основе работы которых лежит превращение изменения измеряемой величины в изменение параметра - емкости, индуктивности, сопротивления, магнитного сопротивления. Наиболее доступен для изготовления в любительских условиях параметрический электромагнитный датчик. Его работа основана на свойстве магнитопровода катушки, в которой протекает переменный электрический ток, изменять свое магнитное сопротивление при введении в зазор магнитопроеода ферромагнетика с малым удельным магнитным сопротивлением.

В литературе неоднократно были описаны параметрические датчики для бесконтактной системы зажигания, например [1, 2, 3]. В этих конструкциях катушка датчика, намотанная на Ш-образном ферритовом магнитопроводе, входит в состав блокинг-генератора. У такого решения много недостатков - сложность изготовления в любительских условиях магнитопровода датчика, слишком малый зазор между магнитопроводом и переключающим диском, значительный потребляемый ток.

Ниже описана конструкция бесконтактного прерывателя с электромагнитным датчиком, свободная от указанных недостатков. Бесконтактный прерыватель может работать совместно со всеми модификациями электронных систем зажигания промышленного изготовления ("Электроника", "Искра", "ПАЗ"), а также с любительскими конструкциями, описанными в [1, 4, 5].

Эти электронные системы зажигания рассчитаны на подключение контактного прерывателя, поэтому входной узел у них построен таким образом, чтобы обеспечить ток через замкнутые контакты прерывателя 70...180 мА. Столь значительный ток выбран для уменьшения чувствительности системы к состоянию контактов прерывателя . Обязательным для электронной системы зажигания является узел подавления дребезга контактов. Применение же бесконтактного прерывателя позволяет исключить из системы узел подавления дребезга контактов, выбрать гораздо меньший ток входного узла и таким образом сделать ее более надежной и экономичной. В рамках этой статьи просто невозможно дать рекомендации по модернизации готовых систем зажигания, поскольку существует множество схемных решений как промышленных, так и любительских.

Принципиальная схема бесконтактного прерывателя показана на рис.1. Датчик представляет собой катушку 11, которая вместе с конденсатором СЗ входит в состав генератора, выполненного на транзисторах VT1.1, VT1.2 микросборки VT1. При вхождении зубца диска в зазор магнитопровода катушки происходит срыв колебаний генератора, так как энергия электромагнитного поля катушки расходуется на образование вихревого тока в зубце.


В этот момент ток коллектора транзистора VT1.1 уменьшается, вызывая увеличение напряжения на коллекторе. Триггер Шмитта, выполненный на транзисторах VT2, VT3, формирует сигнал с крутыми фронтом и спадом. Транзистор VT4 работает в режиме переключения.

Вхождение зуба переключающего диска в зазор датчика соответствует моменту замыкания контактов прерывателя. Эквивалентный угол замкнутого состояния контактов определяется в основном угловой шириной зубца диска; этот угол выбран равным 50°. Небольшая погрешность в определении угла замкнутого состояния контактов обусловлена гистерезисом триггера Шмитта.

Температурная стабилизация генератора обеспечена отрицательной обратной связью по постоянному току через резистор R2, включенный в цепь эмиттера транзистора VT1.1, диодной термокомпенсацией (диодное включение транзистора VT1.2) и применением согласованной пары транзисторов, размещенных на одном кристалле. Ток через эмиттерный переход транзистора VT1.2 вы бран небольшим, около 1,5 мА. Благодаря этим мерам стабильность режима генератора сохраняется в температурном интервале -48...+90°С.


Напряжение питания генератора и триггера Шмитта фиксировано стабилитроном VD1, что исключает зависимость момента зажигания от напряжения бортовой сети автомобиля. Светодиод HL1 служит для установки момента зажигания и визуального контроля работы прерывателя.

Катушка L1 намотана на кольцевом магнитопроводе типоразмера 1(7х4х2 из феррита 2000НМ. В магнитопроводе пропилен сквозной паз шириной 3 мм, а обмотка размещена на стороне, противоположной пазу. Обмотка состоит из 37+50 витков провода ПЭВ-2 0,12. Ширина намотки - 3,5...4 мм. Магнитопровод в месте намотки необходимо обмотать одним слоем лакоткани или покрыть несколькими слоями лака.

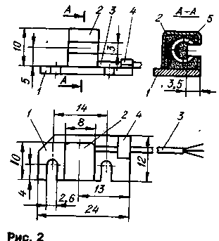
К обмотке припаивают выводы длиной 200 мм из провода МГТФ, изолируют места пайки и вставляют катушку в экранирующую коробку с прорезью спереди. Положение магнитопровода 5 в коробке 2 и размещение ее на крепежном фланце 1 иллюстрирует рис.2. Коробку можно изготовить из листовой латуни или меди (но не стали) толщиной 0,2...0,4 мм. Магнитопровод фиксируют относительно прорези, вставив в нее вкладыш из пористой резины, обернутый полиэтиленовой пленкой, после чего заливают коробку эпоксидной смолой.

После затвердевания смолы коробку припаивают к фланцу 1, выполненному из фольгированного стеклотекстолита, латуни или стали. Жгут выводов 3 закрепляют на фланце хомутом 4, фиксированным пайкой.

В электронном узле применены резисторы МЛТ, конденсаторы К1-7 (С1 - СЗ), К53-14 (С4, С5). Транзисторную сборку КР159НТ1Б заменять отдельными транзисторами крайне нежелательно, так как ухудшится стабильность генератора, особенно в области отрицательных значений температуры.

Все детали формирователя, кроме катушки L1, размещены на печатной плате из фольгированного стеклотекстолита толщиной 1 мм. Плату, установленную в прочную, плотно закрывающуюся коробку, следует монтировать возможно ближе к прерывателю-распределителю автомобиля.

Налаживание формирователя сводится к подборке резистора R3. Подключив вольтметр к коллектору транзистора VT1.1, подбирают этот резистор по минимуму показаний вольтметра - напряжение должно быть 2...3 В. Затем вводят в прорезь датчика стальную пластину. При этом показания вольтметра должны увеличиться до 6...6,5 В.

Конструкция зубчатого диска, рассчитанного для установки на четырехцилиндровый двигатель, показана на рис.4. Диск можно изготовить из любой малоуглеродистой мягкой стали. Его фиксируют стопорными винтами на кулачке прерывателя.


Установка катушки в прерыватель имеет особенности, зависящие от типа прерывателя-распределителя зажигания. Ниже рассматривается вариант ее монтажа в прерыватель-распределитель Р-118 автомобиля "Москвич-412". Для этого нужно последовательно снять распределитель, "бегунок" и вакуумный регулятор. Затем, вывернув винты крепления неподвижной пластины к дну прерывателя, снять ее, разъединить подвижную и неподвижную пластины. Снять с подвижной пластины контакты в сборе и спилить латунную ось контактной стойки заподлицо с пластиной. Высверлить алюминиевую заклепку крепления стойки фильца смазки кулачка и снять фильц.

На подвижной пластине просверлить в соответствии с рис.5 два отверстия сверлом диаметром 2,1 мм и нарезать резьбу М2,5 для крепления катушки-датчика. Восстановить соединение пластин и закрепить на подвижной пластине двумя винтами М2,5 фланец с датчиком. Установить пластины на место, надеть зубчатый диск на кулачок, отрегулировать положение его зубца в пазу датчика так, чтобы зазоры сверху и снизу были одинаковы и зафиксировать диск двумя стопорными винтами М2.

После выполнения всех электрических соединений включить зажигание и, поворачивая пусковой рукояткой коленчатый вал двигателя, убедиться в срабатывании бесконтактного прерывателя по зажиганию и погасанию светодиода. Затем можно приступить к установке момента зажигания. Методика этого процесса хорошо описана в инструкции по эксплуатации автомобиля. Моменту зажигания соответствует включение светодиода.

Плату формирователя можно встроить в кожух электронной системы зажигания.

Литература

1. В.Стаханов. Транзисторные системы зажигания. - Радио, 1991, №9, с.26-29.
2. A.Х.Синельников. Электронные приборы для автомобилей. - М.: Энергоатомиздат, 1986.
3. В.Горкин, А.Федоров. Бесконтактная система зажигания. - Сб. "В помощь радиолюбителю". вып.73. - М.: ДОСААФ, 1981.
4. Ю.Сверчков. Стабилизированный многоискро-вой блок зажигания. - Радио, 1982, N 5, с.27-30.
5. Г.Карасев. Стабилизированный блок электронного зажигания. - Радио, 1988, N 9, с.17,18.


Добавил:  Павел (Admin)  
Автор:  Неизвестно 

Вас может заинтересовать:

  1. Автоматическое зарядное устройство для автомобильных свинцово-кислотных аккумуляторов
  2. Расходомер топлива для автомобиля
  3. Реле системы охлаждения ВАЗ-2103...2108
  4. Электронная система зажигания для автомобильного отопителя
  5. Автоматическое зарядное устройство


    © PavKo, 2007-2018   Обратная связь   Ссылки views: 5425 -- users: 4777 -- web3   Яндекс.Метрика