Портал для радиолюбителей
   Одноламповый передатчик на 144-146 Мгц
    Главная -> Статьи -> Радиопередатчики -> Одноламповый передатчик на 144-146 Мгц


<< Назад в раздел   Распечатать Дата добавления: 2008-06-10 | Просмотров: 12712

Простейшей схемой однолампового передатчика является схема генератора с самовозбуждением и емкостной обратной связью.

Емкостным делителем служат междуэлектродные емкости радиолампы, показанные пунктиром. Конденсатор С3 во взаимодействии с этими емкостями может изменять соотношение емкостей делителя, изменяя тем самым обратную связь в генераторе. Чем больше емкость С3 + Ск, тем слабее обратная связь.

Рис.1. Схема передатчика

Частота генератора определяется элементами контура L1C1. Дроссели Др1 и Др2 рассчитаны на рабочую частоту генератора.

Для улучшения стабильности в передатчике применен несколько необычный контур. Он состоит из индуктивности с высокой добротностью и конденсатора большой емкости. Контурной катушки обычного вида в генераторе нет. Вместо нее применена прямоугольная скоба L1, изготовленная из листовой меди или латуни, толщиной 0,5...1 мм.

Рис.2. Размеры скобы L1

Одинаковые дроссели по 50 витков каждый (Др1 и Др2) наматываются на каркас сопротивления ВС 0,5 проводом ПЭЛ 0,17. Конденсатор настройки С1 малогабаритный подстроечный 40...60 пФ. Конденсатор С3 керамический подстроечный 8...30 пФ. Панелька для лампы 6П6С должна быть керамическая.

Рис.3. Монтаж передатчика

Скоба L1 укрепляется на шасси с помощью изоляторов. Пайка скобы с конденсатором должна быть выполнена очень качественно мощным паяльником. Если поверхность соединения будет мала, то повысится сопротивление этой части контура, а качество его может оказаться низким.

Справа от шасси укреплена изолированная планка с двумя зажимами, к которым крепится один виток - антенная катушка, находящаяся на расстоянии 2...3 мм от скобы L1. Виток делается из жесткого медного провода, диаметром 2...3 мм.

К панельке (контакты 8, 1 и 2) припаивается пластинка из меди или латуни, к которой в свою очередь, припаиваются все детали, соединенные с минусом анода. К контактам 3 и 4 припаивается полоска, отходящая от скобы L1. Расположение деталей таково, что соединительные провода отсутствуют и весь монтаж - на ламповой панельке. Питание подводится 4-х проводным шнуром.

Связь с антенной подбирается путем изменения расстояния между витком L2 и скобой L1. Нужно иметь ввиду, что изменение связи с антенной в некоторых пределах изменяет частоту передатчика.

Модулятор передатчика

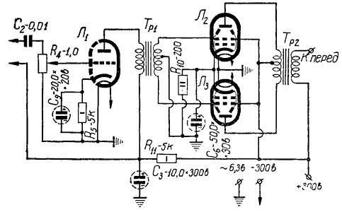
Л1 - усилитель напряжения (1/2 6Н1П); Л2, Л3 - двухтактный усилитель мощности (6П1П).

Рис.4. Принципиальная схема модулятора

  • Тр1 - имеет сердечник из пластин Ш-18, толщина набора 20 мм. Первичная обмотка имеет 2700 витков провода ПЭЛ 0,08. Вторичная обмотка - 4400 витков того же провода с отводом от середины. Может быть использован междуламповый трансформатор от вещательного приемника.

  • Тр2 - имеет сердечник сечением 12 см2 из пластин Ш-25. Первичная обмотка содержит 3000 витков провода ПЭЛ 0,17...0,2 с отводом от середины. Вторичная обмотка имеет 2100 витков того же провода. Обязательна хорошая изоляция между первичной и вторичной обмотками.


Добавил:  Павел (Admin)  
Автор:  О.Г.Туторский. "Радиолюбительская связь на УКВ". 1958 год 

Вас может заинтересовать:

  1. Одноламповый передатчик на 144-146 Мгц
  2. Экспериментальный QRP-передатчик
  3. Передатчик начинающего коротковолновника
  4. Портативный передатчик
  5. Ретранслятор для низовой УКВ связи


    © PavKo, 2007-2018   Обратная связь   Ссылки views: 20687 -- users: 19582 -- web3   Яндекс.Метрика