Портал для радиолюбителей
   Передатчик начинающего коротковолновника
    Главная -> Статьи -> Радиопередатчики -> Передатчик начинающего коротковолновника


<< Назад в раздел   Распечатать Дата добавления: 2008-06-10 | Просмотров: 18341

Передатчик разработан в соответствии с требованиями, предъявляемыми к любительским радиостанциям III категории.

В передатчике применены два транзистора и одна радиолампа. Такое сочетание позволило создать весьма простую в изготовлении и налаживании конструкцию.

Рис.1. Внешний вид передатчика

  • Передатчик рассчитан на работу телеграфом (CW) в диапазонах 3,5...3,65 и 7,0...7,1 МГц.

  • Мощность, подводимая к выходному каскаду, составляет 10 Вт.

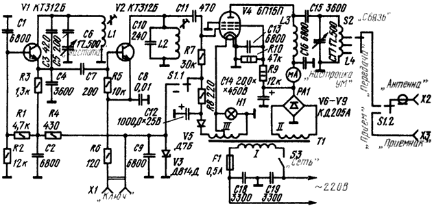
Рис.2. Принципиальная схема передатчика

Передатчик содержит три каскада.

  • Задающий генератор (ЗГ), выполнен на транзисторе V1 и служит для получения незатухающих колебаний высокой частоты.

  • Удвоитель частоты выполнен на транзисторе V2 и одновременно служит буферным каскадом.

  • Усилитель мощности собран на пентоде V4.

  • Удвоитель частоты, на диапазоне 40 м каскад на пентоде V4 выполняет еще и эту роль.

Для повышения стабильности генерируемой частоты ЗГ передатчика работает на участке 1,75...1,825 МГц. Колебательный контур ЗГ образован катушкой индуктивности L1 и конденсаторами С3-С6. Контур перестраивают конденсатором переменной емкости С6. Включенный последовательно с ним конденсатор С5 ограничивает диапазон перестройки ЗГ, что облегчает установку требуемой частоты. При таком способе "растяжки" диапазона плавность настройки на рабочую частоту на участках, предназначенных исключительно для работы телеграфом, будет лучше, чем на участках, где допускаются смешанные виды излучения, а это несомненное удобство: начинающие работают в основном с CW станциями.

Напряжение обратной связи, необходимое для поддержания незатухающих колебаний, снимается с емкостного делителя, образованного конденсаторами С3 и С4. Оно поступает в эмиттерную цепь транзистора. Режим транзистора по постоянному току стабилизирован делителем напряжения R1R2 в цепи базы и резистором R3 в цепи эмиттера. Напряжение питания подается на ЗГ через цепочку R4C2.

Возбуждающее напряжение ЗГ поступает на удвоитель частоты (транзистор V2) через конденсатор связи С7. На базе транзистора нет постоянного напряжения смещения, и поэтому он открывается только положительными полупериодами возбуждающего напряжения. Коллекторный ток транзистора при этом носит характер коротких импульсов, что обеспечивает высокий КПД транзистора в режиме удвоения частоты. При коллекторном токе в несколько миллиампер транзистор отдает мощность, достаточную для раскачки выходного каскада.

Колебательный контур удвоителя L2C10 настроен на среднюю частоту диапазона 3,75 МГц. Колебания в контуре поддерживаются импульсами коллекторного тока. Поскольку частота следования этих импульсов вдвое меньше, чем частота собственных колебаний контура, пополнение энергии колебаний происходит через один период, а второй период колебаний происходит как бы "по инерции" - за счет запасенной колебательным контуром энергии.

Напряжение питания подается на удвоитель (при нажатом телеграфном ключе, включенном в разъем Х1) через развязывающую цепочку R6C8, предотвращающую попадание ВЧ сигнала в цепи питания. Когда телеграфный ключ отжат, транзистор V2 закрыт и колебания в контуре L2C10 не выделяются, хотя ЗГ продолжает работать. При переходе на прием напряжение питания снимается с обоих транзисторных каскадов секцией S1.1 переключателя "Прием-передача".

Чтобы ослабить влияние нестабильности питающего напряжения на режим работы транзисторных каскадов (главным образом, ЗГ), напряжение питания их стабилизированно стабилитроном V3. Оконечный каскад выполнен на ламе V4 - выходном телевизионном пентоде 6П15П.

При анодном напряжении 300 В эта лампа позволяет получить мощность порядка 10 Вт. ВЧ напряжение на управляющую сетку лампы подается с контура удвоителя через конденсатор С11. Одновременно через резистор R7 на сетку поступает и напряжение смещения. Положительное напряжение около 200 В на экранную сетку снимается с делителя R9R10. Через это же делитель разряжается конденсатор фильтра выпрямителя С14 при выключении передатчика.

Анодная цепь лампы питается по так назаваемой "параллельной" схеме через дроссель L3, который пропускает лишь постоянную составляющую анодного тока, а переменная составляющая поступает через разделительный конденсатора С13 в выходной контур передатчика L4C17.
Катушка выходного контура L4 снабжена несколькими отводами, к одному из которых через переключатели S2 и S1.2 подключается антенна.

Переключателем S2 на установленной рабочей частоте можно подобрать оптимальную связь контура с антенной, т.е. такую, при которой в антенну отдается максимальная мощность. В режиме приема антенна отключается от выходного контура переключателем S1.2 и подключается ко входу приемника через разъем Х3.

Выходной контур передатчика в диапазоне 80 м настраивают конденсатором С17 на частоты 3,5...3,65 МГц. Контур в этом случае выделяет основную (первую) гармонику анодного тока лампы, а сама лампа V4 работает в режиме усиления мощности. При переходе на диапазон 40 м емкость конденсатора С17 уменьшают и настраивают контур на частоты 7,0...7,1 МГц. Теперь контур выделяет вторую гармонику анодного тока лампы, а лампа одновременно работает как удвоитель частоты и усилитель мощности. Иначе говоря, переход с диапазона на диапазон осуществляется лишь перестройкой выходного контура передатчика без каких-либо дополнительных переключений.

Максимальная мощность, отдаваемая передатчиком в антенну, в диапазоне 40 м на 15 ... 20% меньше мощности, отдаваемой в диапазоне 80 м. Это объясняется уменьшением КПД выходного каскада при работе в режиме удвоения. Для питания выходного каскада применен выпрямитель, собранный по мостовой схеме на диодах V6-V9. Он обеспечивает постоянное напряжение +300 В.

Низковольтная обмотка III трансформатора составлена из двух обмоток накала, соединенных последовательно. С одной обмотки напряжение подается на нить накала лампы V4 и на сигнальную лампу Н1 (она освещает шкалу передатчика). Суммарное напряжение с двух обмоток подается на однополупериодный выпрямитель, выполненный на диоде V5. Пульсации выпрямленного напряжения сглаживаются конденсатором С12. Напряжение этого выпрямителя используется для питания транзисторных каскадов и цепи смещения выходного каскада в режиме передачи.

При переходе на прием секция S1.1 переключателя S1 отключает коллекторные цепи транзисторов и стабилитрон V3 от выпрямителя. Отрицательное напряжение смещения на сетке лампы V4 возростает до18 В и надежно закрывает лампу. Отключать анодное и экранное напряжение при этом нет необходимости. Для того чтобы высокочастотные помехи от передатчика не проникали в сеть переменного тока, первичная обмотка трансформатора зашунтирована конденсаторами С18 и С19.

Детали передатчика

  • Транзисторы - КТ312 или КТ315 с любыми буквенными индексами или другие кремниевые маломощные транзисторы с граничной частотой не ниже 100 МГц.

  • Стабилитрон Д814Д можно заменить на Д813.

  • Диодом V5 может служить любой выпрямительный диод с обратным напряжением не ниже 50 В и предельно допустимым током не менее 100 мА.

  • Диоды V6-V9 - также любые, но с предельно допустимым током не ниже 100 мА и обратным напряжением 350...400 В (например, Д7Ж, Д226Б, Д210).

  • Стрелочный индикатор РА1 - с током полного отклонения стрелки 100...150 мА.

  • Катушка L1 выполнена на керамическом каркасе диаметром 12 мм и содержит 35 витков провода ПЭЛ диаметром 0,44, намотанных виток к витку с большим натяжением провода. Внутри каркаса размещен сердечник из карбонильного железа диаметром 8 и длиной 12 мм.

  • Катушка L1 выполнена на каркасе таких же размеров (но его можно изготовить из любого изоляционного материала) и тоже с подстроечным сердечником из карбонильного железа. Она содержит 26 витков провода ПЭЛ 0,44, также намотанных виток к витку.

Катушки можно намотать и на каркасе без сердечников, но в этом случае параллельно катушкам придется подключить подстроечные конденсаторы 8...30 пФ. Может потребоваться также увеличение емкости конденсаторов С5 и С10 для получения нужной частоты настройки контуров.

  • Дроссель L3 выполнен на керамическом каркасе диаметром 8 мм, в качестве которого можно использовать, например, резистор ВС-2 сопротивлением не ниже 100 кОм. Обмотка дросселя состоит из трех секций по 50 витков провода ПЭЛШО 0,15. Ширина секций - 2 мм, расстояние между секциями - 2 мм, намотка - типа "универсаль". В крайнем случае витки секций можно разместить между щечками из изоляционного материала или выточить каркас со щечками, например, из органического стекла.

  • Катушка выходного контура L4 выполнена на керамическом каркасе диаметром 18 мм и содержит 27 витков провода ПЭЛ 0,8, намотанного виток к витку с отводами от 3, 5 и 7-го витков, считая от нижнего, по схеме, вывода катушки.

  • Конденсатором настройки С6 служит одна секция обычного сдвоенного блока переменной емкости, применяемого в радиовещательных приемниках. Блок конденсаторов оснащен простейшим верньером с замедлением 6:1.

  • Для настройки выходного контура применен односекционный КПЕ с воздушным диэлектриком. Максимальная емкость конденсаторов С6 и С17 может быть в пределах 360...510 пФ.

  • Конденсаторы контура задающего генератора С1, С2, С7-С11 могут быть типа КСО любой группы с рабочим напряжением не ниже 250 В. Остальные конденсаторы (кроме электролититеских конденсаторов) - КСО или СГМ, с рабочим напряжением не ниже 500 В.

  • Электролититеские конденсаторы С12 и С14 - К50-3А.

  • В передатчике можно применить резисторы любого типа с номинальной мощностью 0,25 Вт (кроме резисторов R9 и R10, которые должны быть рассчитаны на мощность рассеивания не менее 2 Вт).

  • Переключатель S1 - тумблер на два положения с двумя группами контактов, например, ТП1-2.

  • Переключатель S2 галетный, на три положения, например, типа 3П3Н.

  • Разъемы Х1-Х3 могут быть любые.

  • Трансформатор Т1 использован готовый - от лампового радиовещательного приемника II класса. Он должен иметь повышающую обмотку с напряжением 250 В и две накальные обмотки по 6,3 В. При самостоятельном изготовлении трансформатор выполняют на сердечнике из пластин Ш30 при толщине набора 36 мм. Обмотка I для сети 220 В должна содержать 732 витка провода ПЭЛ 0,41, обмотка II - 780 витков ПЭЛ 0,29, обмотка III - 46 витков ПЭЛ 1,0 с отводом от середины. Часть обмотки III (между отводом и левым, по схеме, выводом) можно намотать и более тонким проводом.

Рис.3. Шасси передатчика (вид сверху)

Передатчик смонтирован на шасси размерами 270х160х50 мм, изготовленном из алюминия толщиной 2 мм. К шасси прикреплена передняя панель из дюралюминия толщиной 3 мм. Шасси вставляется в кожух, который можно изготовить из любого металла. В кожухе следует предусмотреть вентиляционные отверстия или решетки для лучшего охлаждения деталей передатчика.

Расположение деталей на передней панели и шасси показано на рис.1, 3. Детали транзисторной части передатчика расположены в подвале шасси, а анодной цепи выходного каскада - сверху шасси. Провод, соединенный с анодом лампы V4, выведен наверх через отверстие, просверленное непосредственно у 7-го лепестка ламповой панельки.

Монтаж передатчика выполнен навесным монтажом. Соединительные провода с ВЧ напряжением следует прокладывать кратчайшим путем и не связывать в жгуты с другими проводами. Блокировочные конденсаторы (С1, С2, С8, С9, С13, С16) устанавливают в непосредственной близости от других деталей соответствующего ВЧ узла. Их "заземленный" вывод соединяют с шасси кратчайшим путем. Конденсаторы С18 и С19 монтируют на задней стенке у ввода сетевого шнура.

Налаживание передатчика

Для этого требуется авометр и градуированный КВ приемник. Сначала настраивают транзисторные каскады передатчика. На это время отключают анодный выпрямитель, отсоединив выводы обмотки II трансформатора от диодного моста. Включив передатчик, устанавливают переключатель S1 в положение "Передача" и проверяют напряжение:

  • На конденсаторе С12 -18 В,

  • На стабилитроне V3 -13 В,

  • На эмиттере транзистора V1 -8 В.

Затем включают авометр, установленный в режим измерения тока, в гнезда Х1 "Ключ". Стрелка авометра должна показать ток 3...5 мА, а прикосновение пинцетом к коллектору транзистора V1 или замыкание выводов катушки L1 должно вызывать уменьшение тока до нуля. Отсутствие тока укажет на то, что задающий генератор не возбуждается. Придется проверить правильность монтажа и исправность транзистора V1.

Убедившись в работе ЗГ, включают приемник (антенной может служить небольшой отрезок провода, расположенный вблизи передатчика) и настраиваются на сигнал генератора. Если приемник рассчитан на диапазон 80 м, принимается вторая гармоника сигнала. Изменяя индуктивность катушки L1 и емкость конденсатора С5, устанавливают диапазон престройки передатчика 3,5...3,65 МГц. Затем настраивают контур L2C10 на вторую гармонику ЗГ. Момент резонанса замечают по уменьшению показаний авометра на 1...2 мА, включенного в гнезда Х1, и по увеличению громкости сигнала в приемнике на частоте 3,5 МГц.

Подключив обмотку II трансформатора питания к выпрямителю, проверяют напряжение:

  • На конденсаторе С14 и аноде лампы V4 +300 В.

  • На экранной сетке лампы V4 +180...200 В (при нажатом ключе) и +240 В (при отжатом ключе).

  • Анодный ток лампы при нажатом ключе может достигать 40...50 мА (контролируют по стрелочному прибору РА1).

Вращая ручку конденсатора С17 (при нажатом ключе), замечают момент уменьшения анодного тока лампы, что соответствует настройке выходного контура в резонанс. Простейший индикатор колебаний ВЧ - неоновая лампа, поднесенная к баллону лампы или к деталям контура, - в этот момент должна светиться. При настройке на частоты 80 м диапазона роторные пластины конденсатора С17 оказываются введенными на 75%, а при настройке на частоты 40 м диапазона - на 25%.

Для проверки выходной мощности передатчика к разъему Х2 "Антенна" подключают лампу на 26 В/10 Вт - она удобна тем, что сопротивление ее накаленной нити близко к 70 Ом. Переключая отводы катушки L4 переключателем S2 (при нажатом ключе) и подстраивая выходной контур в резонанс, добиваются наибольшей яркости свечения лампы - по ней судят о выходной мощности передатчика. На обоих диапазонах лампа должна светиться почти полным накалом.

Последний этап настройки - проверка качества телеграфного сигнала и температурной стабильности. Если при прослушивании сигнала передатчика с помощью приемника наблюдается выбег частоты - быстрое изменение тона сигнала в приемнике при нажатии ключа, полезно подобрать точнее конденсаторы С7 и С8, установить резистор R6 с большим сопротивлением и в небольших пределах изменить частоту настройки контура L2C10.

Температурную стабильность проверяют при замкнутых гнездах разъема Х1, нагруженном на эквивалент антенны (указанная выше лампа накаливания или резистор сопротивлением 70 Ом/10 Вт) передатчике и настройке приемника на нулевые биения. При прогреве передатчика частота должна изменяться не более чем на 500 Гц. Если изменения превышают это значение, необходимо определить по шкале приемника, в какую сторону "ушла" частота передатчика. Понижение частоты означает, что температурный коэффициент индуктивности (ТКИ) контура ЗГ положителен и превосходит по величине температурный коэффициент емкости (ТКЕ).

В этом случае конденсатор С3 необходимо заменить другим - с большим отрицательным ТКЕ. Например, если использовался серый керамический конденсатор, его следует заменить голубым. Если частота повышается, то ставят конденсатор с меньшим ТКЕ.

Все готово к выходу в эфир. К гнезду Х2 подключают антенну и устанавливают переключатель S2 в положение, соответствующее наилучшему согласованию выходного контура передатчика с антенной. Прослушивая по приемнику эфир, выбирают желаемую рабочую частоту (в менее "населенном" участке диапазона).

Устанавливают переключатель S1 в положение "Передача", и при отжатом телеграфном ключе настраивают передатчик на частоту приемника по нулевым биениям (сигнал ЗГ хорошо слышен на расположенный рядом приемник). Нажимают ключ и настраивают конденсатором С17 выходной контур в резонанс - об этом судят по уменьшению отклонения стрелки индикатора РА1. Теперь можно дать общий вызов и ожидать ответа принявшего его корреспондента.

Излучаемый передатчиком сигнал нетрудно контролировать по приемнику, уменьшив его усиление до нужного уровня.


Добавил:  Павел (Admin)  
Автор:  В.Поляков (RA3AAE) 1978 г. 

Вас может заинтересовать:

  1. Детекторный... передатчик
  2. Ретранслятор для низовой УКВ связи
  3. Передатчик на 144 МГц
  4. Передатчик начинающего радиолюбителя
  5. Передатчик начинающего коротковолновника


    © PavKo, 2007-2018   Обратная связь   Ссылки views: 10862 -- users: 9824 -- web3   Яндекс.Метрика