Портал для радиолюбителей
   Радиостанция на 420-435 МГц
    Главная -> Статьи -> Трансиверы -> Радиостанция на 420-435 МГц


<< Назад в раздел   Распечатать Дата добавления: 2008-06-11 | Просмотров: 11536

Радиостанция выполнена по трансиверной схеме.

Особенностями ее является простота схемы и конструкции, надежность в работе, экономичность и применение печатного монтажа. Чувствительность приемника не хуже 5...10 мкВ. Мощность, подводимая к анодной цепи генератора, не превышает 3...4 Вт (Ia = 25 мА, Ua = 150 В).

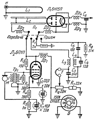
Радиостанция эксплуатировалась в течении двух лет и показала хорошие результаты работы как в условиях г. Горького, так и в полевых. Принципиальная схема радиостанции приведена на рис.1.

Рис.1. Принципиальная схема радиостанции

В высокочастотной части используется лампа Л1 6Н15П. В режиме приема она работает как двухтактный сверхрегенератор.
Эта же лампа вместе с контуром L3, L4, C4 является генератором гасящей частоты; последняя выбрана равной 465 кГц, но может лежать в пределах 0,4...4 МГц.
Телефоны непосредственно включены в анодную цепь лампы Л1, что обеспечивает достаточную громкость даже при приеме отдаленных корреспондентов.

Потенциометр R6 позволяет устанавливать необходимый режим сверхрегенерации. При приеме лампа Л2 не используется, однако для упрощения коммутации анодное напряжение с нее не снимается.

В режиме передачи лампа Л1 (6П1П) работает как двухтактный генератор с самовозбуждением. Обратная связь обеспечивается за счет междуэлектродных емкостей лампы и емкости монтажа. В передатчике применена анодная модуляция. Модулятор собран на лампе Л2 (6П1П), к его входу через микрофонный трансформатор подключен угольный микрофон. Последний питается постоянным напряжением, снимаемым с катодного сопротивления R5.

Связь с антенной индуктивная (петля связи L1). Настройка радиостанции по частоте осуществляется перемещением короткозамыкающей перемычки по двухпроводной линии L2. Настройка емкостью или флажком нецелесообразна в виду резкого уменьшения добротности линии и снижения мощности генератора.

Конструкция радиостанции

Конструктивно радиостанция выполнена в виде двух блоков: блока ВЧ и модулятора.

Рис.2. Вид радиостанции со стороны передней панели

Первый блок размещен в металлическом футляре размерами 143х90х70 мм, второй - выполнен на печатной плате размерами 140х90 мм, которая прикреплена к первому блоку и соединяется с ним при помощи разъема.

Рис.3. Печатная плата радиостанции (вид со стороны деталей)

На печатной плате, изготовленной методом травления фольгированного гетинакса, размещены гнезда для включения микрофона, микрофонный трансформатор Тр1, фишка для подключения кабеля питания, лампа Л2, модуляционный дроссель Др1, сопротивления R2, R3, R4, R5, конденсаторы С1 и С2 (рис.3).

Рис.4. Уголковая панель радиостанции

В блоке, собранном на уголковом шасси, размещены все остальные детали (рис.4). Двухпроводная линия L2 расположена на пластине из полистирола, прикрепленной к вертикальной перегородке. На переднюю панель выведены разъем для подключения антенного фидера, винт с изолированной ручкой для настройки линии, ручка сопротивления R6, гнезда для включения телефонов, разъем для фишки от модулятора и переключатель рода работы П1. Применение печатного монтажа не является обязательным, однако проводники, соединяющие концы линии L2 с анодами лампы Л1, должны быть минимальной длины.

Микрофонный трансформатор Тр1 намотан на сердечнике сечением 1,5...2 см2. Первичная обмотка I содержит 400 витков провода ПЭ 0,3, вторичная II - 8000 витков провода ПЭ 0,08. В качестве модуляционного дросселя использован дроссель фильтра радиоприемника "Урал" (содержит 3000 витков провода ПЭЛ 0,15), индуктивность не менее 4 Гн.

Контуром генератора гасящей частоты L4C4 служит контур ПЧ приемника "Балтика". Катушка контура L4 состоит из двух секций по 142 витка провода ЛЭШО 7х0,07, намотанного на полистироловом каркасе диаметром 8,6 мм. Намотка типа "Универсаль". Возможно использование любого другого контура ПЧ, резонансная частота которого лежит в диапазоне 0,4...4 МГц.

Катушка обратной связи L3 имеет 30 витков провода ПЭШО 0,15 и намотана между двумя секциями катушки L4. Дроссели Др2, Др3, Др4 и Др5 бескаркасные с внутренним диаметром 5 мм, выполнены посеребренным проводом диаметром 0,8 мм и содержат по 6 витков каждый.

Основной деталью радиостанции является двухпроводная линия L2, конструкция которой показана на рис.5. От тщательности ее изготовления зависит качество работы станции.

Рис.5. Конструкция двухпроводной лини L2

Линия выполняется из меди, бронзы, латуни. Трубки и контакты, изготовленые из фольги толщиной 0,3...0,5 мм, необходимо посеребрить.
Порядок сборки линии следующий. В основание 1 вставляют параллельно две трубки 2 и припаивают их. Контакты 3 свертывают в трубку, вставляют в отверстия на перемычке 4 и также припаивают. В отверстие перемычки (диаметром 2 мм) вставляют винт, а выступающий конец его расклепывают. Далее перемычку надевают на трубки, ввинчивают винт 5 в основание. Трущиеся части винта смазывают, но смазывать трубки нельзя. Перемычка должна перемещаться плавно, без перекосов. В основании линии имеются два отверстия с резьбой для крепления к изолятору.

Петля связи L1 изготовлена из посеребренного медного провода диаметром 2 мм. Расстояние между линией и петлей связи подбирается при налаживании станции.

Питание радиостанции

Для питания радиостанции требуется напряжение 150...170 В (ток 35...40 мА в режиме передачи и 17 мА в режиме приема). Напряжение накала 6,3 В при токе 0,9 А. В стационарных условиях питание осуществляется от обычного выпрямителя. В полевых - для накала используется аккумулятор, для питания анодных цепей - две последовательно соединенные батареи БАС-80.

Антенна

Радиостанция может работать с антеннами волновой канал (4 элемента) или двойной квадрат. Последняя конструктивно проще.

Налаживание радиостанции

Правильно собранная радиостанция сразу же начинает работать. При отсутствии сверхрегенерации необходимо переключить концы катушки обратной связи L3. Получив устойчивую сверхрегенерацию, проверяют перекрытие по частоте. Затем к радиостанции подключают антенну. При этом колебания сверхрегенератора могут сорваться, что указывает на сильную связь контура с антенной. Изменяя расстояние между витком связи L1 и линией L2, добиваются того, чтобы генерация не срывалась во всем диапазоне частот, одновременно следя за тем, чтобы мощность передатчика не слишком уменьшилась. В режиме приема необходима слабая связь антенны с контуром, в режиме передачи - более сильная. Поэтому при налаживании необходимо обеспечить оптимальную связь.

Налаживание передатчика радиостанции заключается в таком подборе Др2, Др3, Др4, Др5, чтобы обеспечить максимальную мощность генератора. Модулятор специального налаживания не требует, проверяют лишь качество и глубину модуляции.

Окончательную настройку радиостанции следует проводить в полевых условиях, используя простейший индикатор напряженности поля, а также при проведении двухсторонних связей.

Дополнение

"Радио" №7/1961 с.60. Что представляет собой конденсатор С6 и какова его емкость?

Конденсатор С6 служит для фильтрации токов высокой частоты в цепи питания подогревателя (нити накала) лампы Л1 передатчика. Емкость конденсатора С6 - 0,05 мкФ. Не каждый конденсатор можно применить в УКВ устройствах для этих целей. Дело в том, что обычные конденсаторы имеют соединительные провода, как внутреннего, так и наружного монтажа, а обкладки их выполнены в виде спирали. Это приводит к образованию индуктивностей, включенных последовательно с емкостью, с которыми нельзя не считаться, особенно на высоких частотах.

Поэтому в качестве конденсатора С6 применен так называемый проходной конденсатор. Его внутреннее устройство несколько отличается от обычных конденсаторов. С целью резкого уменьшения индуктивности каждая из обкладок выводится из изоляционной прокладки между пластинами и запаивается или заваривается на торцах. Варианты устройства такого конденсатора показаны на рис.1а и , а правильное схематическое обозначение - на рис.1в.

Рис.1а

Рис.1б

Рис.1в

В конструкции, показанной на рис.1б, внутри металлического корпуса 1 конденсатора расположен токонесущий стержень 2, к которому и присоединены торцы одной из обкладок конденсатора. Торцы другой обкладки присоединены к корпусу, который укрепляется с помощью приваренной к нему скобки непосредственно к шасси. Укрепить проходной конденсатор С6 в радиостанции нужно таким образом, чтобы или вовсе исключить соединительные провода от конденсатора к фильтруемому проводу и к корпусу устройства передатчика или добиться, чтобы длина проводов была предельно малой.

Рис.2

На рис.2, слева показано правильное выполнение соединений, а справа - неправильное.


Добавил:  Павел (Admin)  
Автор:  Г.Белевич (RA3TCF) 1960 г. 

Вас может заинтересовать:

  1. QRP трансивер "Микро-80" от RV3GM
  2. Основная плата трансивера «Аматор-ЭМФ-SA»
  3. Реверсивный QRP трансивер «Парус»
  4. Приемопередатчик на одной лампе
  5. Из «Электроники-Контура-80» - 4-х диапазонный трансивер (Перестройка "Радио-76" на 4 диапазона)


    © PavKo, 2007-2018   Обратная связь   Ссылки views: 2126 -- users: 2120 -- web3   Яндекс.Метрика