Портал для радиолюбителей
   Простой лабораторный источник питания
    Главная -> Статьи -> Блоки питания, зарядные устройства -> Простой лабораторный источник питания


<< Назад в раздел   Распечатать Дата добавления: 2008-07-16 | Просмотров: 14142

    Однажды автору этой статьи понадобился достаточно мощный и надежный источник питания с регулируемым в широких пределах выходным напряжением. Изучив доступную литературу, он пришел к выводу, что предлагаемые для повторения устройства имеют недостатки: у линейных стабилизаторов большие габариты (из-за необходимости применения оксидных конденсаторов большой емкости и теплоотводов), у ШИМ стабилизаторов довольно узок диапазон регулирования и в выходном напряжении присутствуют высокочастотные пульсации, а приборы с улучшенными потребительскими качествами (ограничением по току, индикацией режимов, коммутацией обмоток трансформатора и т. д.) относительно сложны. Пришлось искать иные решения, и в результате был разработан источник питания, свободный от названных недостатков.

    В предлагаемом лабораторном источнике питания применено двухступенчатое преобразование выпрямленного напряжения: ШИМ преобразование в промежуточное напряжение и последующая линейная стабилизация. Основные технические характеристики устройства следующие: пределы регулирования выходного напряжения - от 1,3 до 30 В, коэффициент нестабильности на напряжению - 0,07 %/В, нестабильность по току нагрузки 0,1 %, максимальное входное (переменное) напряжение - 27 В, КПД преобразования при максимальном токе нагрузки - не менее 70 %. Предусмотрена возможность изменения порога ограничения тока до 1,2 А, имеется нетриггерная защита от короткого замыкания со световой индикацией. Источник отличается малыми габаритами, минимальными тепловыми потерями (при токе нагрузки до 0,3 А теплоотводы не требуются).

    Структурная схема устройства показана на рис.1. Входное напряжение Uвх трансформируется ШИМ-преобразователем DA1 в промежуточное Uпр, которое, в свою очередь, является входным для аналогового стабилизатора DA2. Обратная связь через дифференциальный усилитель DA3 поддерживает необходимое для DA2 падение напряжения (для LM317 - 2,5 В), благодаря чему тепловые потери на DA2 минимальны.

Структурная схема источника питания

Рис.1. Структурная схема источника питания

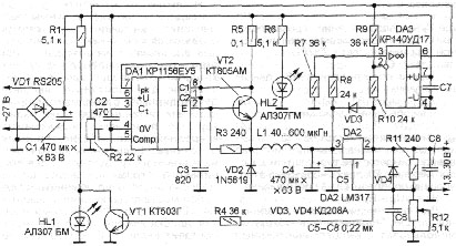
    Принципиальная схема источника питания изображена на рис.2. Выпрямленное напряжение с выхода моста VD1 сглаживается конденсатором С1 и подается на вход ШИМ преобразователя, собранного на элементах DA1, VT2, VD2, L1. Схема включения DA1 - типовая понижающая [1]. Применение микросхемы КР1156ЕУ5 свело к минимуму число пассивных элементов, но наложило ограничение на максимальное входное напряжение, которое в таком включении не должно превышать 40 В. ШИМ с помощью накопительного дросселя L1 и диода VD2 формирует промежуточное напряжение Uпр на конденсаторе С4.

Принципиальная схема источника питания

Рис.2. Принципиальная схема источника питания

    На микросхемном стабилизаторе DA2 собран линейный регулятор напряжения. Регулируют его переменным резистором R12. Диоды VD3 и VD4 защищают микросхему от обратных токов и отрицательных напряжений и введены в соответствии с рекомендациями по ее применению [2].

    ОУ DA3 и резисторы R7-R10 образуют дифференциальный усилитель, следящий за падением напряжения на стабилизаторе DA2. Коэффициент усиления DA3 выбран равным 1,5, что позволяет поддерживать установленное значение во всем интервале напряжений и токов, в том числе и при коротком замыкании выхода. Подстроечным резистором R2 регулируют падение напряжения при налаживании.

    На элементах VT1, HL1, R1 выполнен сигнализатор короткозамкнутого состояния выхода. В нормальном режиме транзистор VT1 открыт, и падение напряжения на нем не превышает нескольких десятых долей вольта. При снижении напряжения на выходе источника до 0,7 В и менее транзистор VT1 закрывается и светодиод HL1 начинает светиться. О включенном состоянии источника питания сигнализирует светодиод HL2.

    Весьма интересна роль резистора R5. При напряжении на нем более 120 мВ (среднее значение, определенное опытным путем) вступает в действие внутренний ограничитель ширины импульсов микросхемы DA1, превращая ее в источник тока. Этим свойством КР1156ЕУ5 можно воспользоваться для ограничения максимального тока нагрузки. Так, например, при сопротивлении этого резистора, равном 0,1 Ом, источник способен выдавать в нагрузку ток до 1,2 А, а при R5 = 1 Ом - только до 120 мА. Установив резистор сопротивлением 0,5 Ом и ограничив тем самым ток нагрузки значением 240 мА, можно отказаться от теплоотвода для микросхемы DA2 и от внешнего токового ключа ШИМ преобразователя (исключив транзистор VT2, резистор R3 и подключив вывод 2 DA1 к точке соединения дросселя L1 и диода VD2). В этом случае габариты изделия будут ненамного больше спичечного коробка.

    В качестве ключа VT2 можно применить любой транзистор со статическим коэффициентом передачи тока базы более 30 и допустимым током коллектора не менее 3 А. Автор использовал КТ805АМ. У него неплохие частотные свойства, поэтому малы потери при переключении. Очень хорошо "ведет" себя на этом месте полевой транзистор IRF3205 - ему не нужен теплоотвод при токе до 1 А.

    Индуктивность дросселя L1 может быть любой от 40 до 600 мкГн, единственное требование - он должен быть рассчитан на ток не менее 1,5 А. Резисторы - МЛТ, С1-4 с допускаемым отклонением сопротивления от номинала ±10 %, подстроечный резистор R2 - многооборотный проволочный СП5-2ВБ или подобный, переменный R12 - любого типа сопротивлением 4,7...6,8 кОм. Конденсаторы С1 и С4 - оксидные К50-35 емкостью 220...470 мкФ с номинальным напряжением 63 В, остальные - керамические (КД2, К10-7, К10-17ит. п.).

    Налаживание источника питания сводится к установке подстроечным резистором R2 напряжения 2,5 В между выводами 2 и 3 DA2 (при 50-процентной нагрузке).

Источники

  1. Бирюков С. Преобразователи напряжения на микросхеме КР1156ЕУ5. - Радио,2001, № 11,0.38,39,42.
  2. Интегральные микросхемы: микросхемы для линейных источников питания и ихприменение. - М.: Додека, 1996.

Автор: С. МУРАЛЕВ, г. Димитровград Ульяновской обл.


Добавил:  Павел (Admin)  
Автор:  С. МУРАЛЕВ, г. Димитровград Ульяновской обл. 

Вас может заинтересовать:

  1. Звуковой сигнализатор перегрузки блока питания
  2. Преобразователь напряжения 12 в 22 вольта (ток до 2А)
  3. Плавный пуск импульсных и трансформаторных блоков питания
  4. Как правильно подключать заземление
  5. Зарядное устройство с дискретной установкой зарядного тока


    © PavKo, 2007-2018   Обратная связь   Ссылки views: 9291 -- users: 8735 -- web3   Яндекс.Метрика