Портал для радиолюбителей
   Микромощный стереопередатчик
    Главная -> Статьи -> Шпионские штучки -> Микромощный стереопередатчик


<< Назад в раздел   Распечатать Дата добавления: 2010-08-25 | Просмотров: 8226

Схема микромощного стерео-передатчика показана на рисунке. Его основа - микросхема ВА1404, которая представляет собой микромощный УКВ ЧМ передатчик, работающий в системе стереовещания с пилот-сигналом (стандарт CCIR).

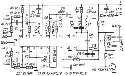
Схема стереопередатчика

В нашей стране радиовещание по этой системе осуществляется в диапазоне частот 87,5...108 МГц. В состав микросхемы входят двухканальный усилитель 34, мультиплексор, генератор поднесущей частоты, генератор несущей частоты, усилитель радиочастоты, а главные отличительные особенности - экономичность и возможность работы от одного гальванического элемента или аккумулятора. Несущая частота передатчика определяется элементами С13, С14, L1, и при указанных на схеме номиналах ее можно перестраивать в диапазоне 90...100 МГц. К радиочастотному выходу микросхемы подключен усилительный каскад на транзисторе VT1, а к его выходу - антенна. Большинство деталей монтируют на печатной плате из односторонне фольгированного стеклотекстолита, ее следует поместить в корпус подходящего размера. Если питание автономное, там же располагают и гальванический элемент, в этом случае станет необходим выключатель питания. Гнезда для подключения источника сигнала и антенны устанавливают на корпусе.

Печатная плата передатчика

В передатчике можно применить транзисторы серий КТ368, КТ399 с любым буквенным индексом, резисторы - МЛТ, Р1-4, конденсаторы – СЗ-С5, С8, С19 - К50-35 или аналогичные импортные, подстроечный С14 - CTC-05-10RA, остальные - К10-17. Катушки намотаны виток к витку проводом ПЭВ-2 0,5 на оправе диаметром 3 мм и содержат по 4 витка, их индуктивность примерно равна 60 нГн. Антенну желательно выполнить в виде отрезка изолированного провода длиной, равной четверти длины волны передатчика. Удобна в использовании телескопическая антенна от переносного радиоприемника. Можно использовать и короткие антенны, например, длиной 10...30 см, но дальность приема уменьшится.
Налаживание начинают с проверки правильности монтажа. Радиоприемник настраивают на частоту, свободную от радиовещательных станций и помех. После подачи напряжения питания и аудиосигнала на устройство необходимо подстроечным конденсатором С14 добиться уверенного приема передаваемого сигнала. При необходимости частоту можно увеличить, раздвигая витки катушки L1, а уменьшить - увеличивая число витков.
Для достижения максимальной дальности приема контур C20L2C21 с подключенной антенной должен быть настроен на частоту передатчика. Сделать это можно путем раздвигания витков катушки L2, а контролировать - индикатором напряженности поля или на слух, удалив приемник на некоторое расстояние. Если же нет возможности регулировать напряжение аудиосигнала на выходе звуковоспроизводящего устройства, то на входах каналов необходимо установить регуляторы уровня сигнала.


Добавил:  Павел (Admin)  
Автор:  В. Чистяков, г. Малоярославец Калужской обл., Радио №3, 2007г. 

Вас может заинтересовать:

  1. Радиожучек КЛОП на FM диапазон
  2. Радиопередатчик средней мощности с компактной рамочной антенной
  3. Простой телефонный "жучок"
  4. Радиомикрофон (ЧМ, 30-108 МГц, 2В, 100 м)
  5. УКВ микропередатчик для телефонного аппарата


    © PavKo, 2007-2018   Обратная связь   Ссылки views: 14379 -- users: 13425 -- web3   Яндекс.Метрика