Портал для радиолюбителей
   Антенный усилитель
    Главная -> Статьи -> Телевизионная техника -> Антенный усилитель

Комнатные цветы на фирмах в Черногорске среди цветов.

<< Назад в раздел   Распечатать Дата добавления: 2011-10-28 | Просмотров: 7831

Предложенный в [1] усилитель на полевом транзисторе с барьером Шоттки (ПТШ) был опробован для приема слабых ТВ сигналов и показал фантастические результаты. Так, еле различимое изображение 9-го канала Каменск-Шахтинского ретранслятора (100 км) при подключении данного усилителя восстанавливалось почти до нормального. Для примера, двухкаскадный усилитель на транзисторах КТ3132 не давал даже близко такого эффекта.

Схема антенного усилителя
Puc.1

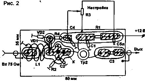
Адаптированная для приема TV схема показана на рис.1. Усилитель является резонансным и перестраивается от 6-го до 12-го каналов резистором R3. Катушка LI - бескаркасная и содержит 5 витков провода ПЭВ 0,7 на оправке диаметром 7 мм. Отвод - от 1-го витка снизу. Надо сказать, что ПТШ очень чувствительны к статическому электричеству, наводкам сети и перегрузкам по входу. Хотя затвор транзистора и соединен с корпусом через катушку L1, попадание на вход X1 даже очень небольшого заряда (от расчески например) вызывает его пробой. Поэтому рискованно подключать случайные антенны, особенно с разрезным вибратором. Центральная жила питающего кабеля должна быть соединена по постоянному току с экраном, а он, в свою очередь, - с несущей мачтой. Печатная плата усилителя показана на рис.2.

Печатная плата антенного усилителя
Puc.2

Усилитель можно изготовить широкополосным (рис.3), включив на вход широкополосный трансформатор Т1 с коэффициентом трансформации 1:9. Т2 предназначен для согласования выходного сопротивления усилителя с сопротивлением кабеля, что повышает КПД по сравнению с включением, показанным на рис.1. В усилителе не обязательно применять мощные ПТШ как в [I], вместо них почти так же хорошо работают такие как ЗП325 (АП325). Трансформатор Т1 намотан на кольце К7х4х2 100 НН и содержит 4 витка в три провода ПЭВ 0,2. Т2 - на таком же сердечнике 4 витка в два провода. В обеих схемах К - ферритовая бусинка, одетая на вывод стока для предотвращения самовозбуждения на СВЧ.

Широкополосный усилитель
Puc.3

Для эксперимента можно заменить ПТШ на обычный малошумящий ПТ КП312А (с соответствующей коррекцией R1 и R2). Разница в работе более чем убедительна.

Литература

1. S.Franklin (WВ5KGL).//Радиолюбитель. - 1992. - N3. - С.46 - 47.

А.РЫЖКИН, 346464, Ростовская обл., Усть-Донецкий р-н, ст.Н-Кундрюченская.

(РЛ 3-97 )


Добавил:  Павел (Admin)  
Автор:  Неизвестно 

Вас может заинтересовать:

  1. Описания устройств скрытого видеонаблюдения
  2. Дескремблер кодированного телеканала
  3. Конвертер 2500-2700 МГц в 470-670 МГц с симметричным входом
  4. Критически об U-колене
  5. Простая ромбическая антенна для приема телевидения MMDS


    © PavKo, 2007-2018   Обратная связь   Ссылки views: 8653 -- users: 6603 -- web3   Яндекс.Метрика