Портал для радиолюбителей
   Устройство для продления жизни кинескопа
    Главная -> Статьи -> Телевизионная техника -> Устройство для продления жизни кинескопа


<< Назад в раздел   Распечатать Дата добавления: 2011-10-29 | Просмотров: 6793

   Предлагаемое для повторения устройство для продления жизни кинескопа было разработано для телевизора "Садко-Ц280Д", но может быть использовано и в телевизорах других марок при соответствующем изменении его подключения. Основная причина старения кинескопа при длительной его работе - снижение эмиссии катода. Владелец телевизора имеет возможность активно вмешаться в этот процесс и существенно продлить жизнь кинескопа. Хотя такой естественный процесс идет при любых условиях, его скорость может быть изменена в несколько раз в зависимости от условий работы катода.
   Устройств, позволяющих замедлить снижение эмиссии, предложено уже немало. Описываемое ниже устройство отличается от них более стабильными параметрами, широким интервалом возможных задержек, надежной защитой кинескопа от перенапряжения и самого устройства от замыкания на выходе. Устройство включают в сеть кнопкой включения телевизора. Напряжение накала кинескопа плавно увеличивается от нуля до номинального значения и жестко стабилизируется на достигнутом уровне. В момент его достижения срабатывает реле, его контакты включают телевизор и на анод кинескопа поступает ускоряющее напряжение.
   Принципиальная схема устройства изображена на рис.1. Его основой служит генератор линейно возрастающего напряжения (ЛВН) на транзисторах VT2 и VT3. Транзисторы включены по схеме истокового повторителя со следящей обратной связью. В момент включения питания напряженно на конденсаторе С1 равно нулю, а на истоке транзистора VT3 (т.е. на выходе повторителя) - около 0,3 В. Последней начинает заряжать через резистор R5 конденсатор С1, и напряжение на нем и на выходе повторителя растет. Так как коэффициент передачи повторителя близок к единице, то напряжение на резисторе R5 сохраняется приблизительно постоянным. Остается постоянным и ток зарядки конденсатора С1. Следовательно, напряжение на нем растет линейно (нелинейность не превышает a1,5%).

Рис.1

   Достоинством генератора можно назвать небольшие для такого длительного времени задержки (около 50 с)номиналы элементов цепи R5C1. Это объясняется тем, что разность напряжений на выводах резистора R5, из-за которой и происходит зарядка конденсатора С1, не превышает 0,3 В и ток зарядки тоже очень мал (около 0,3 мкА). В то же время напряжение, до которого происходит зарядка конденсатора С1, может значительно превышать эту разность и ограничено только напряжением питания. Температурная стабильность коэффициента передачи повторителя очень высока, что объясняется взаимной компенсацией температурных коэффициентов полевого (VT3) и биполярного (VT2) транзисторов, имеющих противоположные знаки, и глубокой отрицательной обратной связью.
   Рост напряжения на выходе повторителя происходит до уровня заданного ограничителем напряжения на транзисторе VT1, стабилитроне VD2 и резисторе R1. Уровень ограничения Uогр равен: Uогр = Uст + Uбэ = 4,7 + 0,6 = 5,3 В, где Uст - напряжение стабилизации стабилитрона VD2, Uбэ - напряжение база-эмиттер, при котором открывается транзистор VT1. В момент, когда напряжение на выходе повторителя достигает значения Uогр, закрытый до этого транзистор VT1 открывается, срабатывает реле К1 и его контакты включают телевизор.
   Время задержки включения телевизора можно изменять в широких пределах подбором элементов цепи R5C1. В телевизоре "Садко - Ц280Д" установлен кинескоп 61ЛК5Ц-1 с малоинерционным катодом. Его время разогрева не превышает 12 с, поэтому время задержки (около 50 с), которое обеспечивается при указанных номиналах цепи, вполне достаточно.
   Напряженнее конденсатора С1 поступает на вход стабилизатора тока накала, собранного на ОУ DA1 и транзисторах VT4, VT6. Подключение входа (вывода 3) ОУ к конденсатору С1 не влияет на работу генератора ЛВН, так как ОУ К544УД1А имеет очень большое входное сопротивление. Работа стабилизатора сводится к автоматическому поддержанию напряжения на инверсном входе ОУ (U2) равным напряжению на прямом входе (U3). Благодаря большому коэффициенту передачи напряжения в петле обратной связи стабилизатора и точности работы ОУ, напряжения U2 и U3 отличаются не более чем на единицы милливольт.

Рис.2

Рис.3

   Напряжение на подогревателе катода кинескопа Uн, пропорционально напряжению U2, и равно Uн = U2((R7+R9)/R6)+1). Его устанавливают подстроечным резистором R7. Диод VD3 предохраняет от пробоя эмиттерный переход транзистора VT4 при отрицательном выходном напряжении ОУ.
   Опыт эксплуатации стабилитронов показывает, что в них возможен внутренний обрыв. В случае обрыва в стабилитроне VD2 напряжение на выходе устройства возрастет до 11 В и кинескоп может выйти из строя. Чтобы этого не произошло, в устройстве имеются элементы защиты R10, VT5. При возникновении обрыва в стабилитроне VD2 напряжение на эмиттере транзистора VT1 резко увеличивается, напряжение на конденсаторе С1 и на выходе ОУ начинает расти, коллекторный ток транзистора VT4 тоже растет, что приводит к росту эмиттерного тока транзистора VT6. Падение напряжения на резисторе R10 увеличивается, и в некоторый момент открывается транзистор VT5, шунтируя эмиттерный переход транзистора VT6. Рост его коллекторного тока прекращается. При указанном на схеме сопротивлении резистора R10 напряжение накала ограничивается на уровне 6,8 В. Ток накала при этом достигает 0,75 А (при номинале 0,7 А), что вполне допустимо. Эти элементы одновременно защищают и транзистор VT6 от замыкания на выходе. График изменения напряжения на выходе устройства при увеличении тока нагрузки показан на рис.2.
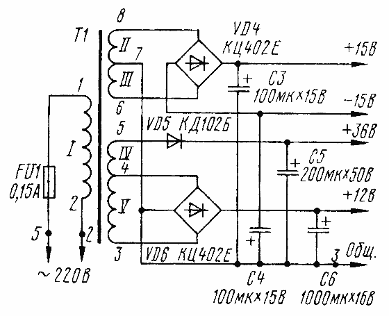
   Принципиальная схема блока питания устройства представлена на рис.3. Нумерация элементов на ней продолжает нумерацию деталей устройства.
   Трансформатор питания Т1 выполнен на магнитопроводе с малым рассеянием (с расширенной перемычкой) ШУ 13x26-40. Обмотка I содержит 3000 витков провода ПЭВ-2 0,21; II и III - по 230 витков провода ПЭВ-2 0,12; IV - 360 витков провода ПЭВ-2 0,16 и V- 205 витков провода ПЭВ-02 0,62. Можно также использовать магнитопроводы ОЛ, ПЛ и ШЛ.
   В большинстве аналогичных устройств авторы выбирали реле по входным параметрам (напряжению и току срабатывания) и рекомендуют реле РЭС-9 и РЭС-22. Но они совершенно не подходят по выходным параметрам - напряжению, току и виду нагрузки. Реле РЭС-9 коммутирует активную нагрузку при переменном напряжении не более 115 В и токе до 0,1 А, а реле РЭС-22 - также активную нагрузку при переменном напряжении до 250 В и токе до 0,1 А. Однако телевизор представляет собой нагрузку со значительной реактивной составляющей и током не менее 0,5 А. Следовательно, нужно выбирать реле, предназначенное для переключения индуктивной нагрузки при напряжении не менее 250 В и токе не менее 0,5 А. Подойдут реле МКУ-48, РКС-3 и др. В устройстве использовано реле РПТ-100. По выходным параметрам и габаритам оно подходит с запасом. Предназначено оно для работы с переменным напряжением питания 220В, но, конечно, может работать и от постоянного напряжения. Для увеличения чувствительности три из четырех контактов удалены. Реле монтируют якорем вверх. Для устранения эалипания якоря между ним и магнитопроводом приклеена пленка из немагнитного материала толщиной 0,01 мм. После такой переделки реле срабатывает при напряжении около 30 В и токе 15 мА.
   В устройстве конденсатор С1 - МБГО, С2 - любой, С3-С5 - К50-6, C6 - К50-35. Транзистор VT6 установлен на радиаторе с площадью поверхности 150 кв.см, а выпрямители VD4 и VD6 - на радиаторе с площадью 60 кв.см. Стабилитрон VD2 также снабжен радиатором из алюминия размерами 15x20x0,5 мм. Резисторы - МЛТ, кроме R10, который изготовлен в виде бескаркасной спирали из нихромовой проволоки диаметром 0,4 мм и длиной 20 см.
   Предварительно налаживание устройства начинают до установки в телевизор, используя эквивалент нагрузки - проволочный резистор сопротивлением 9 Ом на мощность рассеяния не менее 5 Вт. Включив одновременно питание устройства и секундомер, измеряют время, через которое сработает реле К1. Если оно отличается от желаемого, нужно добиться его подбором резистора R5 или конденсатора С1. Подстроечным резистором R7 устанавливают напряжение 6,3 В на эквиваленте нагрузки (пределы изменения его -5,9...6,7 В).
   В некоторых устройствах предусмотрена возможность значительного повышения напряжения накала. Это сделано для того, чтобы, ступенчато повышая его до 11...13 В, восстановить на некоторое время эмиссию катода. Однако такой способ позволяет продлить жизнь кинескопа после каждой ступени на две-три месяца, но не более чем на год, после чего катод необратимо теряет эмиссию. Специалисты это не рекомендуют, поэтому в предлагаемом устройстве режим повышения напряжения накала не предусмотрен.
   После предварительного налаживания нужно отключить устройство от сети, закрепить его на предназначенном месте внутри корпуса телевизоре и по схеме на рис.4 подключить к его цепям. Для этого нужно отпаять конец провода, идущего от сетевого выключателя S1 телевизора к разъему Х17 (А12), от контакте 1 разъема и припаять его к контакту 2 устройства. Затем следует удалить провод, соединяющий контакты 3 платы А8 с контактом 4 разъема Х4 (А7), и подключить проводом контакт 3 платы А8 с контактом 4 устройства, а контакт 2 платы с контактом 3 устройства. Отпаивать провод, соединяющий контакт 2 платы А8 с контактом 3 разъема Х4 (А7), нельзя, так как по нему на нить какала поступает напряжение смещении +65 В. Далее включают питание, дают устройству и катоду кинескопа прогреться 10...12 мин, измеряют напряжение накала и, если нужно, устанавливают его значение 6,3В. На этом налаживание заканчивают. Остается лишь выключить питание, соединить проводом контакт 1 устройства с контактом 1 разъема Х17 (А12) телевизора и закрыть его заднюю крышку.

Рис.4


М.ДОРОФЕЕВ г. Москва, Радио, 1994, 4, стр.7


Добавил:  Павел (Admin)  
Автор:  Неизвестно 

Вас может заинтересовать:

  1. Согласующий экспоненциальный трансформатор для спутниковых приемников
  2. Конвертер 2500-2700 МГц в 470-670 МГц с симметричным входом
  3. Дескремблер кодированного телеканала
  4. Самодельные направленные ответвители для кабельного телевидения
  5. Простой конвертер для приема телевидения MMDS 2,5-2,7 ГГц


    © PavKo, 2007-2018   Обратная связь   Ссылки views: 9653 -- users: 9063 -- web3   Яндекс.Метрика