Портал для радиолюбителей
   Противоугонное устройство, имитирующее неисправность двигателя
    Главная -> Статьи -> Автомобильные сигнализации -> Противоугонное устройство, имитирующее неисправность двигателя


<< Назад в раздел   Распечатать Дата добавления: 2007-10-22 | Просмотров: 7604


Похитители автомобилей становятся на редкость изобретательными в поиске и повреждении противоугонных устройств. А что если двигатель периодически запускается и глохнет? Если автомобиль оснащен аппаратурой, имитирующей неисправность двигателя, потенциальный похититель скорее всего не заподозрит действие противоугонного устройства и займется поисками новой жертвы.


Новое устройство обеспечивает нормальный запуск двигателя, а спустя 12 с размыкает цепь катушки зажигания, в результате чего двигатель глохнет. Через 4 с цепь вновь замыкается, позволяя похитителю возобновить запуск двигателя. Цикл повторяется, и еще через 12 с двигатель глохнет и не запускается. К этому времени похититель, возможно, отъедет на небольшое расстояние от места стоянки.

Похититель может тронуться с места в автомобиле, оборудованном данной схемой, однако он вскоре откажется от своих намерений после неоднократной оста новки двигателя. ИС таймера периодически отключает напряжение от катушки зажигания, имитируя неисправность двигателя.
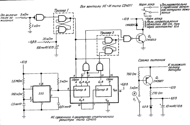
В схеме противоугонного устройства, приведенной на рис. 1, используется ИС таймеры 555 и К/МОП ИС, потребляющие малый ток. Покидая автомобиль, водитель приводит в действие устройство замаскированным выключателем Si. Некурящие водители могут хорошо за- маскировать переключатель Si в зажигалке, провод которой отключается от аккумулятора и соединяется со схемой в точке А. Для дополнительной защиты можно выключатель зажигания соединить последовательно с выключателем Si.

После того как схема установлена в рабочее состояние выключателем Si, при включении зажигания запускается триггер 1, собранный на двух вентилях НЕ-И, в результате импульсы 0,5 Гц с выхода таймера 555 поступают к сдвигающему регистру CD 4015. ИС CD 4015 содержит два четырехразрядных регистра, которые в данном случае соединены последовательно. Спустя 12 с (шесть импульсов) вентили НЕ-И открывают транзистор Q2, который размыкает нормально закрытые контакты реле и тем самым глушит двигатель. После того как в сдвигающий регистр поступят еще два импульса таймера, вентили НЕ-И закрывают транзистор Q2, разрешая повторный пуск двигателя.
Цикл возобновляется, но когда зажигание включается в третий раз, включается триггер 2 и запуск двигателя блокируется, пока не вернется водитель, который разомкнет выключатель Si. Временные диаграммы детально показаны на рис. 2.

Старт-стопные периоды противоугонной схемы составляют соответственно 12 и 4 с. После того как двигатель заглохнет в третий раз, он не может быть запущен, пока водитель не разомкнет выключатель Si, замаскированный в салоне автомобиля.

Чтобы сделать устройство непохожим на противоугонное средство, его можно собрать на небольшой плате и разместить в корпусе, напоминающем прибор для контроля загрязнения окружающей среды.
Подключив выводы 5 и 12 сдвигающего регистра к дополнительному двухвходовому вентилю НЕ-И, можно получить сигнал тревоги через 60 с. Вентиль может управлять реле, включающим звуковой сигнал, фары или сирену, если необходимо привлечь внимание к похищаемому автомобилю.


Аналоги микросхем:
555 - КР1006ВИ1
CD4011 - 561ЛА7
CD4015 - 561ИР2



Добавил:  Павел (Admin)  
Автор:  Неизвестно 

Вас может заинтересовать:

  1. Интерфейс для системы дистанционного автозапуска двигателя автомобиля
  2. Транспондерная технология: «Ой, он и нас сосчитал!»
  3. SUN-I модель M-100 - инструкция по установке и использованию
  4. Датчики для охранной сигнализации
  5. Противоугонное устройство, имитирующее неисправность двигателя


    © PavKo, 2007-2018   Обратная связь   Ссылки views: 1310 -- users: 264 -- web3   Яндекс.Метрика