Портал для радиолюбителей
   Портативный передатчик
    Главная -> Статьи -> Радиопередатчики -> Портативный передатчик


<< Назад в раздел   Распечатать Дата добавления: 2008-06-10 | Просмотров: 16085

Разработка Центрального радиоклуба ДОСААФ

При использовании качественных деталей и рациональном монтаже можно и без кварцев получить высокую стабильность частоты в диапазоне 3,5 и 28 МГц.

В статье описана конструкция передатчика (рис.1) с параметрической стабилизацией. Он рассчитан на работу в трех диапазонах 3,5; 28 и 144 МГц. Выходная мощность передатчика с эквивалентом антенны на первых двух диапазонах 3 Вт, на третьем - 4 Вт.

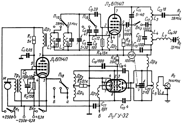
Рис.1. Принципиальная схема передатчика

Передатчик на диапазоны 3,5 и 28 МГц собран по двухкаскадной схеме с электронной связью. Такая схема гарантирует достаточно высокую стабильность частоты и поэтому находит широкое применение в любительской аппаратуре. В цепь управляющей сетки лампы Л2 (6П14П) переключателем П1а включают один из колебательных контуров L1C3C5C6C8 или L2C4C5C7C8.

Функции анода задающего генератора (ЗГ) выполняет экранирующая сетка, режим работы генератора определяется величиной сопротивления R6. Цепь положительной обратной связи (ПОС), необходимой для возбуждения незатухающих колебаний в контуре, состоит из конденсаторов емкостного делителя С6С8 или С7С8, к части которого подключен катод лампы Л2. Настраивают ЗГ переменным конденсатором С5. Общая емкость делителей С6С8 или С7С8 определяет величину перекрытия соответствующего диапазона.

Напряжение, генерируемое ЗГ, усиливается. На его частоту настроен колебательный контур L3L4C11 в анодной цепи, причем при работе передатчика в диапазоне 3,5 МГц контур настраивается на вторую гармонику частоты генерируемого напряжения 1,75...1,83 МГц. Связь с антенной автотрансформаторная. Последовательно с антенной включены удлиннительная катушка L7 и укорачивающий конденсатор С14, позволяющие работать как с укороченной, так и с удлиненной антеннами.

На диапазоне 28 ...29,7 МГц передатчик также работает в режиме удвоения частоты. Анодный контур L3C11 настраивают на вторую гармонику частоты генерируемого напряжения 14...14,85 МГц. При переходе на второй диапазон (тумблер Вк3) конденсаторы С12С15 закорачивают по высокой частоте катушку индуктивности L4.

На диапазоне 28 МГц используется четвертьволновая штыревая антенна. Связь с антенной емкостная, через конденсатор С13. Режим удвоения на обоих диапазонах 3,5 и 28 МГц применен для повышения стабильности частоты передатчика. Выходные контуры и антенну настраивают по милиамперметру. Кроме того милиамперметром измеряют анодный ток ламп Л2, Л3.

На диапазоне 144 МГц передатчик работает по двухтактной схеме автогенератора на лампе Л3 (ГУ-32). Эта лампа находится в облегченном режиме, что дает более высокую стабильность частоты. Колебательный контур автогенератора L5C20 настраивают на соответствующую частоту переменным конденсатором С20. Связь с антенной индуктивная (катушка связи L6).

Модулятор выполнен на лампе Л1 (6П14П). Это усилитель НЧ с дроссельным выходом. В сеточную цепь лампы через трансформатор Тр1 (коэффициент трансформации 1:20) включен низкоомный угольный микрофон. В передатчике применена анодно-экранная модуляция.

Конструкция и детали

Шасси (140х200 мм) и ящик передатчика (145х150х260 мм) изготовлены из листового алюминия толщиной 1,5 мм, передняя панель - из алюминия толщиной 2,5 мм. Последняя скреплена с шасси уголками. Размещение деталей передатчика на шасси показано на рис.2, 3.

Рис.2. Шасси передатчика (вид сверху)

Рис.3. Вид со стороны монтажа

В конструкции передатчика почти нет дефицитных деталей. Переключатель П1 одноплатный на три положения. Данные катушек и дросселей сведены в таблице.

Обозн.
К-во витков
Провод
Каркас или тип сердечника
Тип намотки
L1
12
1 мм
Керамика, диаметр 20 мм, высота 45 мм
Шаг 1,5 мм
L2
80
ПЭЛ 0,2
Прессшпан, диаметр 25 мм, высота 45 мм
Рядовая однослойная
L3
4,5
посеребр. 2,5 мм
Без каркаса, диам. катушки 35 мм
Шаг 4 мм
L4
55
посеребр. ПЭЛ 0,5
Керамика, диаметр 30 мм, высота 60 мм
Шаг 1,3 мм
L5
1,8
посеребр. 3 мм
Без каркаса, диам. кат. 26 мм
Шаг 5 мм
Др1
до заполн.
ПЭЛ 0,09
Ш-12, толщина набора 18 мм

 

Др2
4х150
ПЭЛШО 0,12
Керамика, диам. 6мм, расст. между секц. 4 мм, сек. 5 мм
Универсаль
Др3-Др6
40
ПЭЛ 0,15
Керамика, диаметр 6 мм
Рядовая

Катушки L1 и L2 заключены в алюминиевые экраны. Контурная катушка L3 одним своим концом прикреплена к каркасу катушки L4, а другим - к конденсатору С11. Крепление этой катушки должно быть максимально жестким.

Особо высокое требование предъявляется к изготовлению катушки L5. Она укреплена непосредственно на конденсаторе переменной емкости С20. При монтаже деталей, работающих в диапазоне 144 МГц, следует стремиться к тому, чтобы проводники были как можно короче, а сам монтаж жестким и прочным. Витки катушки L5 рекомендуется зажать между планками из органического стекла.

Единственной дефицитной деталью является дифференциальный конденсатор переменной емкости. Он взят от передатчика "РСИУ-3м" и несколько переделан. Секция, расположенная ближе к ручке управления, остается без изменения. Эта секция (С11) используется для настройки выходного каскада передатчика в диапазонах 3,5 и 28 МГц. В другой секции этого конденсатора оставляют две подвижные пластины (через одну), которые вращаются между двумя неподвижными. Каждая из неподвижных пластин прикреплена только к одной из двух изолированных стоек.

Налаживание

Налаживание передатчика начинают с диапазонов 3,5 и 28 МГц. После подключения передатчика к источникам питания и прогрева ламп в ЗГ возникают колебания. Чтобы легче было определить частоту этих колебаний, отключают контурные катушки выходного каскада и подают положительное напряжение непосредственно на анод лампы Л2.

Затем с помощью волномера или радиоприемника определяют частоту генерации ЗГ в каждом из диапазонов. Границы частоты ЗГ определяются в диапазоне 3,5...3,65 МГц конденсаторами С4, С5, С7, С8, а в диапазоне 28...29,7 МГц - С3, С5, С6, С8. Изменяя величины емкостей конденсаторов С3, С4 и С6, С7, можно получить требуемое перекрытие по частоте 1,75...1,83 и 14...14,85 МГц.

После этого включают контурные катушки L3 и L4. Переключатель П1 устанавливают в положение 28 МГц (тумблер Вк3 должен быть включен), а подвижные пластины конденсатора С11 - в среднее положение. Изменяя расстояние между витками катушки L3, добиваются настройки контура L3C11 на вторую гармонику ЗГ. Контур настраивают по милиамперметру, включенному в анодную цепь, либо по индикаторной лампе 2,5 В, 0,075 А. Параллельно ей включают виток провода, который индуктивно связывают с катушкой L3.

После этого подключают антенну и экспериментально подбирают место отвода от катушки L3 и величину емкости конденсатора С13. Подстраивая одновременно выходной контур, надо добиться максимального тока в антенне, в цепь которой включают индикаторную лампочку 6,3 В; 0,28 А.

Затем переключатели П1 и Вк3 переводят в положение 3,5 МГц. Подбором емкости конденсатора С21 настраивают контур L3L4C2C11 на вторую гармонику ЗГ и добиваются наибольшего тока в антенне при среднем положении ротора конденсатора С11. При этом следует подобрать место отвода от катушки L4. Силу тока в антенне лучше всего контролировать по индикаторной лампе, включенной в разрыв антенной цепи.

Налаживание генератора в диапазоне 144 МГц сводится к подбору емкостей конденсаторов С18 и С19 и получению требуемой частоты 145 МГц при среднем положении ротора конденсатора переменной емкости С20. Передатчик при этом обязательно должен быть нагружен на антенну.
Модулятор при правильно выполненном монтаже в налаживании не нуждается.

Передатчик был создан для проведения спортивных соревнований "Охота на лис".


Добавил:  Павел (Admin)  
Автор:  Б.Авдеев (UA3ASC) 1964 г. 

Вас может заинтересовать:

  1. Экспериментальный QRP-передатчик
  2. Передатчик начинающего коротковолновника
  3. Передатчик третьей категории
  4. SSB передатчик на 2м.
  5. Ретранслятор для низовой УКВ связи


    © PavKo, 2007-2018   Обратная связь   Ссылки views: 2402 -- users: 2271 -- web3   Яндекс.Метрика