Портал для радиолюбителей
   Миниатюрный блок питания 5-12 В
    Главная -> Статьи -> Блоки питания, зарядные устройства -> Миниатюрный блок питания 5-12 В


<< Назад в раздел   Распечатать Дата добавления: 2008-06-16 | Просмотров: 13024


А. ХАБАРОВ, г. Ковров Владимирской обл.

Предлагаемый блок предназначен для питания от сети малогабаритных радиоэлектронных устройств (карманных радиоприемников, диктофонов, часов и т. д.). Выходное напряжение может быть выбрано в пределах от 5 до 12 В. Одно из достоинств блока — малые габариты: все его детали размещены в корпусе... сетевой вилки.


    Основные технические характеристики описываемого блока питания следующие. напряжение сети — от 100 до 250 В частотой 50... 500 Гц, выходное напряжение (зависит от примененного интегрального стабилизатора) — от 5 до 12 В, номинальный ток нагрузки (при выходном напряжении 5 В) — 20, максимальный (при том же напряжении) — 100 мА, уровень пульсаций (при номинальном токе) — не более 1 %.
    Принципиальная схема блока показана на рис. 1. Работает он следующим образом.Рис1. Миниатюрный блок питания. Принципиальная схема.
Выпрямленное диодным мостом VD1 сетевое напряжение через делитель R1 R3R4 подается на базу транзистора VT2, а через резистор R2 — на базу составного транзистора VT4, VT5. В течение каждого полупериода, пока напряжение в точке соединения коллекторов VT1, VT3 относительно эмиттера VT2 не превышает 100 В, он закрыт, VT4VT5 открыты и конденсатор С1 заряжается через резисторы R1, R10 и участок эмиттерколлектор транзистора VT5. Когда же напряжение в указанной точке выше 100 В, VT2 открывается и шунтирует эмиттерный переход составного транзистора. Конденсатор С1 разряжается, питая автогенератор на транзисторах VT1, VT3, собранный по схеме Роэра (см. книгу Иванова-Цыганова А. И и Хандогина В. И. "Источники вторичного электропитания приборов СВЧ". — М.: Радио и связь, 1989). Частота колебаний автогенератора — примерно 60 кГц. С вторичной обмотки трансформатора Т1 снимается напряжение около 7 В. Оно выпрямляется диодами VD2, VD3, сглаживается конденсатором С2 и стабилизируется интегральным стабилизатором DA1. Конденсатор СЗ снижает уровень высокочастотных пульсаций.
    Максимальные напряжения коллекторэмиттер транзисторов VT1, VT3 в установившемся режиме не превышают 200 В, VT4 и VT5 — 210 В. Максимальный ток транзистора VT5 при указанных на схеме номиналах элементов и статическом коэффициенте передачи тока базы h21э транзисторов VT4, VT5, равном 25, не превышает 300 мА.
    В момент включения напряжение коллектор—эмиттер транзисторов VT4 и VT5 может превысить 300 В. а ток коллектора VT5 — 0,5 А, что приведет к их выходу из строя. Для ограничения тока коллектора VT5 в этот момент (при использовании транзисторов VT4 и VT5 с большим коэффициентом h21э) служат резистор R10 и стабилитрон VD4. Чтобы ограничить напряжение коллектор—эмиттер составного транзистора, между коллектором и эмиттером VT5 желательно включить варистор на напряжение около 250 В.
    При использовании блока для питания маломощной нагрузки (с потребляемым током не более 5...10 мА) сопротивление резисторов R6 и R7 целесообразно увеличить до 470 Ом, а емкость конденсатора С 1 уменьшить до 2,2...4,7мкф (в этом случае блок будет меньше нагреваться и надежность его работы повысится).
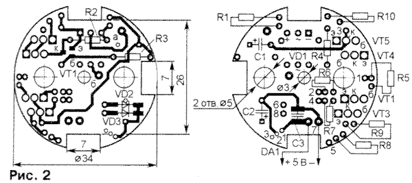
    Кроме КТ3130А (VT2), в устройстве можно применить любой транзистор этой серии, а также серии КТ3102 или зарубежного производства с близкими характеристиками (например BCW60D). Транзисторы КТ940А заменимы на КТ969А, BF469/PLP (VT1, VT3) или КТ969А, BF459 (VT4, VT5).Рис2. Миниатюрный блок питания. Печатная плата.
    Конденсаторы С1, С2 — импортные, возможно применение К50-35, СЗ — К10-17. Диоды VD2, VD3 — любые малогабаритные кремниевые с допустимым прямым током не менее 100 мА, обратным напряжением не менее 20 В и рабочей частотой не менее 150 кГц. Резисторы R1 —R3 — С 1 -4, ВСа или другие с рабочим напряжением не менее 350 В, остальные — С2-33, С2-23, МЛТ, ОМЛТ или им подобные.
    Трансформатор Т1 намотан на двух сложенных вместе ферритовых (2000НМ) кольцах типоразмера К10х8х3. Обмотки 1-2 и 4-5 содержат по 8 витков провода ПЭВ-1 0,1, 2-3 и 3-4 — по 200 витков такого же провода, обмотки 6-7 и 7-8 — по 14/22/28 витков ПЭВ-1 0,17 (соответственно для выходных напряжений 5/9/12 В). Для межобмоточной и наружной изоляции рекомендуется использовать фторопластовую пленку или пленку ПЭТ.
    В авторском варианте блок питания смонтирован в стандартной сетевой вилке диаметром 40 и высотой 27 мм. Печатная плата (рис. 2) изготовлена из двустороннего фольгированного стеклотекстолита толщиной 0,5 мм. Расстояние между центрами отверстий в плате под штыри сетевой вилки — 19 мм. Все резисторы, кроме R2 и R3, устанавливают перпендикулярно плате. Стабилитрон VD4 припаивают к печатным проводникам со стороны монтажа транзистора VT2. К контактным площадкам, обозначенным буквами "а" и "б", припаивают провода, идущие от штырей сетевой вилки, а к площадкам с цифрами 1—7 — выводы обмоток трансформатора Т1. Размещают его над конденсатором СЗ в свободном пространстве между транзисторами VT1, VT3 и конденсатором С2. Собранный из исправных деталей и без ошибок в монтаже блок не требует налаживания.



Добавил:  Павел (Admin)  
Автор:  А. ХАБАРОВ, г. Ковров Владимирской обл. 

Вас может заинтересовать:

  1. Блок питания аудиоплейера
  2. Универсальное зарядное устройство СЦ-21, СЦ-32, Д-0,06, Д-0,1, Д-0,25, Д-0,55, 7Д-0,115, 316, 332, 3336
  3. Зарядное устройство для герметичных свинцовых (гелевых) аккумуляторов
  4. Преобразователь напряжения 6 в 12 вольт (ток до 0,8А)
  5. Зарядное устройство для Ni-Cd и Ni-MH аккумуляторов. Очень простое


    © PavKo, 2007-2018   Обратная связь   Ссылки views: 1276 -- users: 1229 -- web3   Яндекс.Метрика