Портал для радиолюбителей
   Инвертор напряжения
    Главная -> Статьи -> Блоки питания, зарядные устройства -> Инвертор напряжения


<< Назад в раздел   Распечатать Дата добавления: 2008-07-16 | Просмотров: 10872

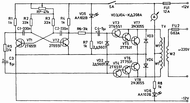
    Схема преобразователя постоянного напряжения 12 В в переменное 220 В приведена на рис.1. Этот инвертор подходит для питания потребителей, которым необходимо переменное напряжение 220 В с общей мощностью до 100 Вт.

Принципиальная схема инвертора

Рис.1. Принципиальная схема инвертора

    Инвертор состоит из задающего генератора (симметричный мультивибратор на VT1, VT2) и силовой цепи (VT3...VT8). Инвертор работает следующим образом. После включения постоянного напряжения питания, задающий генератор на VT1 и VT2 начинает генерировать управляющие импульсы. Эти импульсы через R5 и СЗ подаются на одно плечо силовой цепи, а через R6 и С4 - на второе.

    Когда на коллекторе VT1 - высокий уровень (логическая "1"), а на коллекторе VT2 - низкий уровень ("0"), транзисторы VT4, VT6 и VT8 открыты, и ток течет по цепи: "+" источника питания - обмотка W1" - переход коллектор-эмиттер транзистора VT8 - "-" источника питания. В этот момент транзисторы VT3, VT5 и VT7 закрыты.

    В следующий момент на коллекторе VT2 будет "1", а на коллекторе VT1 - "0". Транзисторы VT3, VT5, VT7 открыты, и ток потечет по цепи: "+" источника питания - обмотка W1' - переход коллектор-эмиттер VT7 - "-" источника питания. Транзисторы VT4, VT6 и VT8 закрыты. Благодаря этому, к первичной обмотке выходного трансформатора прикладывается переменное напряжение прямоугольной формы, амплитуда которого примерно равна напряжению питания. Создаваемое в магнитопроводе магнитное поле индуцирует во вторичной обмотке электродвижущую силу, величина которой определяется числом витков вторичной обмотки W2. Диоды VD1 и VD2 служат для предотвращения выбросов напряжения отрицательной амплитуды при работе задающего генератора, а диоды VD3 и VD4 предохраняют от пробоя мощные транзисторы в силовой цепи на холостом ходу (при отсутствии нагрузки во вторичной обмотке трансформатора).

    Трансформатор TV намотан на магнитопроводе Ш36х36. Обмотки W1' и W1" имеют по 28 витков провода ПЭЛ d2,1 мм (каждая), а обмотка W2 - 600 витков провода ПЭЛ d0,59 мм. Вначале наматывается обмотка W2, а поверх нее - обмотки W1' и W2". Для достижения хорошей симметрии, эти обмотки желательно наматывать одновременно, в два провода.

    На рис.2а и б приведены печатная плата и схема расположения на ней элементов. Транзисторы VT5, VT7 и VT6, VT8 устанавливаются по два на отдельных радиаторах без изолирующих прокладок.

Рис.2.a. Печатная плата

Рис.2.б. Схема расположения элементов

    Для контроля работы схемы желательно включить между положительным полюсом питания и средней точкой обмотки W1 амперметр с пределом измерения 10 А (показан на схеме рис.1). Он предназначен для визуального слежения за величиной тока, протекающего через транзисторы силовой цепи. При включении максимальной нагрузки во вторичную обмотку этот ток не должен превышать 10 А. При отсутствии нагрузки он должен быть меньше 5 А. Если же при включении инвертора в отсутствие нагрузки ток превышает 10 А, это значит, что пробит (или включен неправильно) какой-либо из диодов VD3, VD4 или транзисторов силовой цепи. Наладка инвертора заключается в настройке задающего генератора и осуществляется с помощью осциллографа или частотомера. Вход осциллографа (частотомера) подключается к коллектору одного из транзисторов VT1 или VT2, и на генератор подается питание. С помощью RP частота генератора устанавливается 50 Гц. Осциллографом желательно проконтролировать и форму прямоугольных импульсов. Настроенный инвертор монтируется в подходящем корпусе, на переднюю панель которого выводятся амперметр, держатель предохранителя, выключатель задающего генератора, клеммы подключения нагрузки и аккумуляторной батареи питания, а также индикаторы включения аккумулятора (красный) и задающего генератора (зеленый). Инвертор может осуществлять питание потребителя мощностью 100 Вт не менее 2 часов при использовании аккумуляторной батареи емкостью 44 А*ч.

Автор: Радио, телевизия, электроника, 6/98. Перевод А. Бельского


Добавил:  Павел (Admin)  
Автор:  Радио, телевизия, электроника, 6/98. Перевод А. Бельского 

Вас может заинтересовать:

  1. Простой лабораторный источник питания
  2. Зарядное устройство аккумуляторов от 1,2 до 15 В и от 0,1 до 10 А*ч
  3. Автоматическое "интеллектуальное" зарядное устройство
  4. Использование ИС семейства TL494 в преобразователях питания
  5. Преобразователь напряжения -5 вольт


    © PavKo, 2007-2018   Обратная связь   Ссылки views: 15750 -- users: 15449 -- web3   Яндекс.Метрика