Портал для радиолюбителей
   Радиомикрофон УКВ FM/ ЧМ-диапазона (на туннельном диоде)
    Главная -> Статьи -> Шпионские штучки -> Радиомикрофон УКВ FM/ ЧМ-диапазона (на туннельном диоде)


<< Назад в раздел   Распечатать Дата добавления: 2008-08-07 | Просмотров: 13351

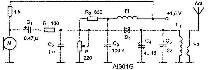
Радиомикрофон (рис.1) работает от одного 1,5-вольтового элемента и передает сигнал от электретного микрофона М в УКВ FM/ ЧМ-диапазоне (CCIR 88-108 МГц/ ОИРТ 66-74 МГц) на любой УКВ радиоприемник, находящийся в пределах небольшого помещения (квартиры).

per-rx108-1.jpg
рис.1

Единственным активным элементом устройства является туннельный диод D1, на вольт-амперной характеристике которого имеется участок с отрицательным дифференциальным сопротивлением (рис.2), благодаря которому диод вносит в колебательный контур L1C5C4D1C2 отрицательное сопротивление, компенсирующее сопротивление потерь и поэтому превращающее контур в автогенератор.

per-rx108-3.jpg
рис.2

Частотная модуляция формируется звуковым напряжением, поступающим на диод D1 с микрофона через C1R1 и изменяющим его ёмкость в такт со звуком. Дроссель Ft - любой маломощный индуктивностью 22...100 мкГн, L1 и L2 мотают проводом диаметром 0,5...0,8 мм на каркасе диаметром 6 мм. Катушка L2 содержит 2-3 витка, a L1 - 6-7 витков для диапазона 88-108 МГц или 9-10 витков для диапазона 66-74 МГц. Антенной Ant. служит отрезок любого медного провода длиной около 30 см. Налаживание сводится к настройке частоты передачи триммером С4 так, чтобы излучение не накладывалось на частоту какой-нибудь местной вещательной радиостанции, а также подстройке триммером Р оптимального режима туннельного диода по постоянному току, т.е. максимальной громкости

per-rx108-2.jpg

(«Radiotechnika» №11/2007, с.638-640).


Добавил:  Павел (Admin)  
Автор:  Ференц Бекей («Radiotechnika» №11/2007) 

Вас может заинтересовать:

  1. Телефонный радиоретранслятор с ЧМ на одном транзисторе
  2. Радиопередатчик с ЧМ в диапазоне частот 1-30 МГЦ
  3. Радиопередатчик с ЧМ в диапазоне частот 100-108 МГц
  4. Мощный радио-глушак
  5. Ручка видеокамера Mini Spy DVR Pen Video Recorder Camera HD 1280*960 New


    © PavKo, 2007-2018   Обратная связь   Ссылки views: 3636 -- users: 3282 -- web3   Яндекс.Метрика