Портал для радиолюбителей
   УКВ ЧМ передатчик на 144...146 МГц
    Главная -> Статьи -> Шпионские штучки -> УКВ ЧМ передатчик на 144...146 МГц


<< Назад в раздел   Распечатать Дата добавления: 2010-08-07 | Просмотров: 7538

 

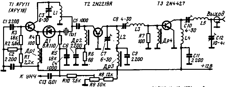
Трехкаскадный транзисторный УКВ ЧМ передатчик предназначен для работы в диапазоне 144-146 МГц. Его выходная мощность около 1,2 Вт на нагрузке сопротивлением 60 Ом. Задающий генератор с кварцевой стабилизацией частоты (см. рисунок) выполнен на транзисторе Т1, включенном по схеме с общей базой. Последовательно с кварцевым резонатором включен варикап Д1, с помощью которого осуществляется частотная модуляция. Предварительное постоянное смешение на варикап подается с делителя R8R9. В задающем генераторе используются кварцевые резонаторы на частоты 72-73 Мгц (третья механическая гармоника). На транзисторе Т2 собран удвоитель частоты. Выходной каскад усиления выполнен на транзисторе Т3. включенном по схеме с общим эмиттером. Катушка индуктивности L5 вместе с конденсатором связи С12 я емкостью коллекторного перехода образуют выходной П-фильтр. Дроссель Др4, включенный в цепь базы выходного транзистора, зашунтирован низкоомным резистором R7, для того, чтобы предотвратить самовозбуждение оконечного каскада на резонансной частоте дросселя.

схема

Перед налаживанием передатчика на варикап с делителя R8R9 подают смещение около 3 В. Выход передатчика нагружают на эквивалент антенны. В задающем генераторе подбирают от какого витка катушки индуктивности LI лучше сделать отвод. Число витков до отвода, считая от заземленного вывода, должно быть минимальным, но достаточным для устойчивой работы задающего генератора. Удвоитель и оконечный каскад настраивают на максимум выходной мощности.

В передатчике можно применить и амплитудную модуляцию, включив в коллекторную цепь выходного каскада через соответствующий трансформатор транзисторный усилитель мощности (с выходной мощностью около 0,5 Вт). Поскольку при амплитудной модуляции напряжение на коллекторе выходного транзистора может превышать напряжение источника питания в 2 и более раз (при перемодуляции), то во избежание выхода из строя выходного транзистора после модулятора (например, параллельно С10) необходимо включить стабилитрон с напряжением стабилизации меньшим, чем максимально допустимое напряжение на коллекторе выходного транзистора. Намоточные данные всех контурных катушек приведены в таблице.

Катушка
индуктивности
Число
витков
Каркас Диаметр
провода, MM
LI
L2
L3
L4
L5
7
5
4
14
4
8Х17
8Х12
5х7
4Х14
7Х16
0.8
0,8
1.0
0.5
2.0


Все дроссели выполнены на ферритовых сердечниках и имеют индуктивность около 1 мкГ.

"Old Man" (Швейцария). 1972, N 9.

В передатчике можно использовать транзисторы ГТ313 (T1), КТ603 (Т2), КТ606 (T3), варикап КВ102 или Д902 (Д1).



Добавил:  Павел (Admin)  
Автор:  Неизвестно 

Вас может заинтересовать:

  1. USB Keylogger на AVR. Перехват нажатий клавиш USB клавиатуры
  2. Простой РМ на 115...175 Мгц
  3. Ручка видеокамера Mini Spy DVR Pen Video Recorder Camera HD 1280*960 New
  4. Радиопередатчик с фиксированной частотой задающего генератора
  5. Клавиатурный шпион (keylogger)


    © PavKo, 2007-2018   Обратная связь   Ссылки views: 318 -- users: 318 -- web3   Яндекс.Метрика