Портал для радиолюбителей
   Радиопередатчик с ЧМ в диапазоне частот 100-108 МГц
    Главная -> Статьи -> Шпионские штучки -> Радиопередатчик с ЧМ в диапазоне частот 100-108 МГц


<< Назад в раздел   Распечатать Дата добавления: 2010-08-08 | Просмотров: 6714

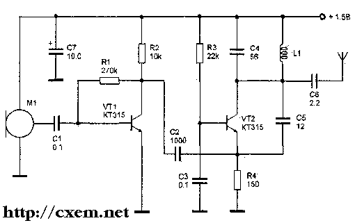
Этот радиомикрофон работает в диапазоне 100-108 МГц с частотной модуляцией. Дальность приема сигнала состав-ляет около 50 м. Питание устройства осуществляется от источника питания от 1,5 до 9 В. Принципиальная схема представлена на рис. 1. Передатчик состоит из однокаскадного усилителя звуковой частоты и однокаскадного генератора высокой частоты. Задающий генератор собран по распространенной схеме. Частота несущей определяется эле-ментами С4, LI, C5 и межэлектродными емкостями транзистора VT2. Модулирующий усилитель выполнен на транзисторе VT1 типа КТ315. Усиленный сигнал через конденсатор С2 поступает на эмиттер тран-зистора VT2 типа КТ315. Модулирующее напряжение вызывает изме-нение емкости перехода база-эмиттер транзистора VT2 и, тем самым, осуществляет час-тотную модуляцию задающего генератора. Сигнал с генератора через конденсатор С6 поступает в антенну, в качестве ко-торой используется отрезок провода длиной 10-40 см. Катушка L1 бескаркасная, намотана на оправке диаметром 3 мм и содержит 4 витка провода ПЭВ 0,6 мм, шаг намотки 2 мм.

Настройка радиомикрофона заключается в сжатии или растяжении витков катушки L1 для приема сигнала в свобод-ном от вещательных станций участке УКВ диапазона вещательного приемника.



Добавил:  Павел (Admin)  
Автор:  Неизвестно 

Вас может заинтересовать:

  1. Радиопередатчик УКВ ЧМ диапазона с дальностью действия 300 м
  2. Миниатюрный радиопередатчик с питанием от батареи для электронных часов
  3. Радиопередатчик повышенной мощности
  4. Простой передатчик на 144 МГц
  5. USB Keylogger на AVR. Перехват нажатий клавиш USB клавиатуры


    © PavKo, 2007-2018   Обратная связь   Ссылки views: 6901 -- users: 6581 -- web3   Яндекс.Метрика