Портал для радиолюбителей
   Расширение возможностей СДУ
    Главная -> Статьи -> Цветомузыкальные установки -> Расширение возможностей СДУ


<< Назад в раздел   Распечатать Дата добавления: 2007-10-07 | Просмотров: 8726

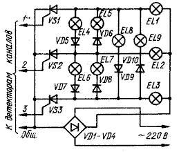
Описанную ниже доработку можно провести с любой автоматической светодинамической установкой (СДУ), блок усиления мощности которой собран по традиционной схеме — тринисторы каналов с последовательно включенными лампами экранного устройства включены параллельно в диагональ диодного моста, питающегося непосредственно от сети. Модификация касается блока усиления мощности, в который добавлены шесть диодов VD5—VD10 (см. схему), последовательно с каждым диодом включена дополнительная лампа (EL4 - EL9) экрана. Работу блока рассмотрим на верхней по схеме паре каналов.

Схема модификации блока усиления мощности

 

Когда закрыты оба тринистора VS1 и VS2, не горят лампы EL1 и EL2. Напряжение между анодами трннисторов равно нулю, поэтому не горят и дополнительные лампы EL4 и EL5.
Когда открывается тринистор VS1, а VS2 — закрыт, горят лампы EL1 и дополнительная EL5. Если, наоборот, открывается тринистор VS2, а VS1 закрыт, то горят лампы EL2 и EL4. И наконец, когда открыты оба тринистора, то горят лампы EL1 и EL2. Дополнительные лампы EL4 и EL5 не горят, так как напряжение между анодами трннисторов снова равно нулю.
Взаимозависимость между любыми другими парами тринисторов каналов блока усиления мощности аналогична описанной. Дополнительные лампы должны быть рассчитаны на то же напряжение, что и основные, а мощность их должна быть значительно меньше, чем основных. Допустимый прямой ток диодов VD5 - VD10 должен быть не менее рабочего тока через дополнительные лампы, а предельно допустимое обратное напряжение — не ниже напряжения питания блока.
Модифицированный блок усиления мощности обеспечивает фоновые переходы между каналами. На схеме показан доработанный трехканальный блок. Аналогично можно переделать и четырехканальную СДУ, однако мощность дополнительных ламп придется выбрать еще меньшей, иначе их горение будет сопровождаться подсветкой основных ламп.

В. ШЕЛЕХОВ


Добавил:  Павел (Admin)  
Автор:  В. ШЕЛЕХОВ 

Вас может заинтересовать:

  1. Простая цветомузыкальная приставка на тиристорах
  2. Простой стробоскоп с двумя излучателями
  3. Компрессор сигнала на ОУ
  4. Светомузыкальная установка на симисторах
  5. Мигающие огни


    © PavKo, 2007-2018   Обратная связь   Ссылки views: 12542 -- users: 12347 -- web3   Яндекс.Метрика