Портал для радиолюбителей
   Регулятор громкости с компенсацией НЧ
    Главная -> Статьи -> Ламповые усилители низкой частоты -> Регулятор громкости с компенсацией НЧ


<< Назад в раздел   Распечатать Дата добавления: 2007-09-29 | Просмотров: 15373

В журнале "Радио" №1/1959 с.51 была помещена схема компенсации низких частот при малых уровнях громкости.

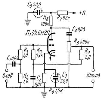
Схема регулятора громкости, изображенная на рисунке, имеет ряд преимуществ.

  • Во-первых, она значительно проще - нужен только один триод вместо двух;

  • Во-вторых, данный регулятор не требует создания в усилителе большого запаса по усилению (более того, каскад сам дает усиление в 1,8...2 раза);

  • В-третьих, схема регулятора не содержит в себе элементов, создающих нелинейные искажения, тогда как в той схеме подвергались детектированию высшие звуковые частоты.

Действует регулятор следующим образом: на вход каскада УНЧ подается сигнал с фиксированным подъемом низших частот, определяемым величинами R1, R3, C2. С выхода регулятора громкости в цепь сетки через делитель R4, C2 подается сигнал обратной связи - при максимальной громкости максимальна и обратная связь. Подбирая величину R4 добиваются чтобы ослабление обратной связью низких частот было равно подъему этих частот входной цепью. Тогда частотная характеристика сигнала на выходе будет линейной. При уменьшении громкости потенциометром будет уменьшаться и обратная связь, а фиксированный подъем останется прежним. В результате уровень низких частот возрастет.

При очень малой громкости, когда обратная связь почти отсутствует, характеристика будет определяться только цепью R1, R3, C2. Подъем низких частот при этом будет максимальным.

Недостаток предлагаемой схемы состоит в том, что триод включен здесь перед регулятором громкости, поэтому при очень сильном входном сигнале он может перегружаться. Однако нужно учесть, что сигнал со входа на сетку триода подается через делитель, который даже на частоте 50 Гц дает ослабление более чем в 4 раза, вследствие чего схема может работать без искажений при уровне сигнала на входе в 4...5 В. Следует отметить также, что схема чувствительна к плохой фильтрации напряжения. Поэтому отдельное звено фильтра R7C5 для нее обязательно.


Добавил:  Павел (Admin)  
Автор:  В.Ефремов. "Радио" №9/1961 год 

Вас может заинтересовать:

  1. Двухтактный усилитель для НЧ канала на 6п45с
  2. Двухтактный усилитель из телевизионных деталей
  3. Еще раз о 6ф5п (Лофтин-Уайт)
  4. Ультралинейный усилитель на 6Н2П, 6П14П
  5. SE усилитель 10Ж12С + 10П12С


    © PavKo, 2007-2018   Обратная связь   Ссылки views: 134 -- users: 134 -- web3   Яндекс.Метрика