Портал для радиолюбителей
   Постановщик радиопомех
    Главная -> Статьи -> Охранные устройства -> Постановщик радиопомех


<< Назад в раздел   Распечатать Дата добавления: 2007-10-28 | Просмотров: 8949

Отсюда мы возьмем лишь генератор-излучатель, который может работать в любой охранной системе, использующей ультразвук.

На рис. 1 приведена принципиальная схема генератора, возбуждающего ультразвуковой пьезоизлучатель типа УМ-1, рекомендованная его изготовителями. Однако такой генератор нередко возбуждается не на основной частоте излучателя, а на значительно более высоких паразитных частотах. В этом случае на «микрофонном» УМ-1 (эти резонаторы имеют довольно узкую полосу пропускания и в продажу поступают подобранными в пары) сигнал, очевидно, будет просто отсутствовать.

Ультразвуковой генератор

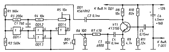
В генераторе, принципиальная схема которого изображена на рис. 2, приняты меры к тому, чтобы пьезорезонатор возбуждался лишь на своей основной частоте. Он состоит из двух блоков - самовозбуждающегося генератора, выполненного на микросхеме DD1, и синхронизатора, в который входят частотоограничивающая цепочка R7C3 и усилитель ( VT1 и др.).

Ультразвуковой генератор с частотной коррекцией

Транзистор VT1 - любой кремниевый, с коэффициентом усиления по току 50...300 и напряжением Uкэ нe менее 15 В (КТ315Г, КТ315Е, КТ3102А-КТ3102В, ряд других3). Микросхема К561ЛН2 может быть заменена одноименной из серий 564 или КР1561. Конденсатор С1 должен быть возможно более термостабильным (генератор с С1 из группы ТКЕ М75 уверенно «держал» резонансную частоту в температурном интервале +25...-20 °С). Подстроечный резистор R5 - типа СП5. Этот резистор обладает достаточно высокой стабильностью выставленного сопротивления.

Наладка генератора проста. Подключив к резистору R6 осциллограф и закоротивконденсатор СЗ, подстройкой резистора R5 выводят генератор в режим работы на основной частоте пьезоизлучателя (ему будет соответствовать резкое увеличение амплитуды колебаний на экране осциллографа). Сняв перемычку с конденсатора СЗ, убеждаются в работе синхронизатора: при довольно значительных изменениях сопротивления резистора R5 частота и амплитуда генерируемых колебаний должны оставаться практически неизменными.

Вилл В., Радио, 1996, №1, с. 52, 53


Добавил:  Павел (Admin)  
Автор:  Неизвестно 

Вас может заинтересовать:

  1. Простые охранные устройства для квартиры и дачи
  2. Дверь под электричеством!
  3. Передатчик охранной сигнализации
  4. "Ночной сторож" пассажира
  5. Охрана квартиры с оповещением по телефонной линии


    © PavKo, 2007-2018   Обратная связь   Ссылки views: 227 -- users: 223 -- web3   Яндекс.Метрика