Портал для радиолюбителей
   Преобразователь частоты
    Главная -> Статьи -> Радиоприемники -> Преобразователь частоты


<< Назад в раздел   Распечатать Дата добавления: 2007-10-31 | Просмотров: 11509

Преобразовательный каскад в большинстве прием­ников выполняют на одной лампе: либо на гептоде типа 6А7 или 6А2П, либо на триод-гептоде типа 6И1П в сетевых приемниках и гептоде 1А1П или 1А2П — в батарейных.

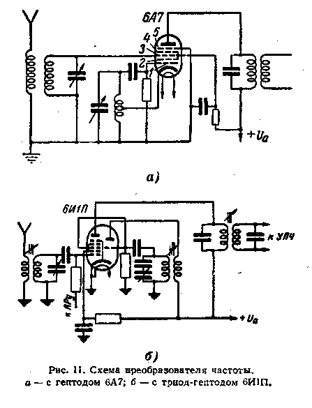
Для ламп 6А7 и 6А2П наиболее типична схема, изображенная на рис. 11,а. Принимаемый сигнал поступает на третью (приемную) сетку лампы. Первая сетка является сеткой гетеродина; роль анода гетеродина вы­полняет вторая, экранирующая, сетка. Гетеродин обычно работает по трехточечной схеме с заземленным по высокой частоте анодом, так как в цепь анода (второй сетки) включен конденсатор, большой емкости. Для нор­мальной работы этой лампы необходимо правильно по­добрать число витков в цепи катода, т. е. чайти нужное место для отвода от катушки.

В некоторых, довольно редких случаях для гетеродина используются другие схемы. Типовая схема пре­образователя частоты на лампе 6ШП приведена на рис. 11,6. Сигнал подается на первую сетку гептодной части лампы. Триод работает в качестве гетеродина и его сетка обычно соединяется с третьей сеткой гептода.

В приемниках 1-го класса находят применение схемы преобразовательного каскада с отдельным гетероди­ном (рис. 12). Принимаемый сигнал подводится к сетке 3, а напряжение гетеродина — к сетке 1 (существует ряд способов связи первой сетки с гетеродином, и схема рис. 12 является лишь одной из возможных).

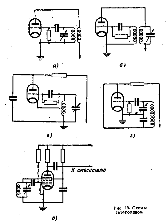
Для гетеродинов используются следующие основ­ные схемы: схема с настроенной сеткой (рис. 13,я), схема с настроенным анодом (рис. 13,6), трехточечная схема с индуктивной связью (рис. 13,0), трехточечная схема  с емкостной связью (рис. 13,г) и транзитронная схема (рис. 13,г).

Основным требованием, предъявляемым к гетеродину, является стабильность частоты его колебаний.

 

Нестабильность частоты гетеродина может привести (особенно при приеме на коротких волнах) к появлению частотных искажений и полному пропаданию приема. Чтобы избежать этого, приходится по мере ухода частоты гетеродина подстраивать приемник.

Стабильность частоты гетеродина достигается правильным выбором элементов схемы и режима работы лампы. Уменьшение степени связи контура с лампой и применение колебательных контуров с малыми потерями (т. е. высокой добротностью) также способствуют поддержанию стабильности частоты.

Для уменьшения изменений емкости контура, происходящих под действием разогрева, параллельно кон­денсатору настройки контура подключают добавочный компенсирующий конденсатор, обладающий способностью уменьшать свою емкость при разогреве. Этот конденсатор рассчитывается так, чтобы уменьшение его емкости компенсировало увеличение емкости контурного конденсатора, в результате чего общая емкость контура остается постоянной. Для целей компенсации используются керамические тикондовые конденсаторы с отрицательным температурным коэффициентом емкости.

При настройке на разные станции частота гетеродина должна всегда отличаться от принимаемой на одну и ту же величину, равную выбранному значению промежуточной частоты:

Iгет = Fсиг  +  Fпр.

Однако такое соотношение частот по всему диапазону является идеальным, и достижение его при одноручечной настройке, когда конденсаторы настройки обоих контуров находятся на общей оси, связано с боль­шими техническими трудностями. На практике стремятся добиться лишь как можно более близкого совпаде­ния частоты гетеродина с теоретически требуемой для получения необходимого сопряжения контуров.

Наиболее распространенным способом сопряжения контуров является включение вспомогательных конден­саторов в контур гетеродина, как показано на рис. 14. Здесь конденсатор С2 — сопрягающий емкостью 100— 5000 пф (в зависимости от диапазона и данных контура); конденсатор C1 — подстроечный емкостью 2— 40 пф. Емкость С2 заранее рассчитывается, а емкость С1 подбирается весьма точно при заводской регулировке приемника и остается в дальнейшем неизменной.

В диапазонах коротких волн во многих приемниках обходятся без сопрягающего конденсатора и ограничиваются включением лишь подстроечного конденсатора С1.

От точности сопряжения контуров в. значительной мере зависит равномерность чувствительности по диапазону.

Схема, приведенная на рис. 14, обеспечивает точнее сопряжение контуров в трех точках диапазона. Эти точки можно приближенно определить при помощи следующих выражений:

средняя точка соответствует частоте

Fc =  (Fмакс + Fмин) / 2

где Fмакс и Fмин — соответственно  крайние частоты данного диапазона;

крайняя точка сопряжения на низкочастотном конце диапазона

Fн = Fср + 0.43 (Fмакс - Fман);

крайняя точка на высокочастотном конце диапазона

Fв = Fср + 0.43(Fмакс - Fмин).

Для установленных стандартом границ диапазонов точки сопряжения в соответствии с приведенными формулами получаются на следующих частотах:

в диапазоне длинных волн (150 — 4К1 кгц)   Fн = 168 кгц;   Fcp = 282 кгц и  Fн = 39б кгц;

в диапазоне средних волн (520—1600 кгц)    Fн = 595 кгц; Fcp = 1 060 кгц и Fв= 1 525 кгц.

В анодную цепь преобразовательной лампы вклю­чается первичный контур первого двухконтурного полосового фильтра промежуточной частоты. Связь между контурами этого фильтра, как правило, бывает индуктивной. Вторичный контур фильтра включается в цепь управляющей сетки лампы следующего каскада.


Добавил:  Павел (Admin)  
Автор:  А.Е.Левитин. "Справочник по радиовещательным приемникам" 

Вас может заинтересовать:

  1. Прием УКВ с частотной модуляцией
  2. УКВ радиоприемник на КХА-058
  3. РЕГЕНЕРАТИВНЫЙ УКВ-ЧМ РАДИОПРИЁМНИК
  4. Цифровая шкала для FM-приёмников супергетеродинного типа на микросхемах: СХА1191,СХА1238,ТЕА5711, ТА8127,ТА8164,ТА8167 и др.
  5. Сверхрегенеративный приемник на основе барьерного генератора


    © PavKo, 2007-2018   Обратная связь   Ссылки views: 4953 -- users: 1357 -- web3   Яндекс.Метрика