Портал для радиолюбителей
   Звуковое реле
    Главная -> Статьи -> Бытовая электроника -> Звуковое реле


<< Назад в раздел   Распечатать Дата добавления: 2007-12-02 | Просмотров: 8258

На страницах популярных изданий неоднократно публиковались описания различных вариантов акустических выключателей.

Предлагаю еще одну схему, которую я разработал и изготовил более девяти лет назад, и с тех пор она безотказно работает в коридоре моей квартиры. Схема имеет реле времени. После подачи короткого звукового сигнала свет в коридоре включается и горит около четырех минут, затем автоматически гаснет. Сама схема вмурована в стену, стены оклеены обоями.

Никаких выключателей в коридоре нет, обои чистые, что редко бывает, когда стоит выключатель, и дети постоянно пользуются им.


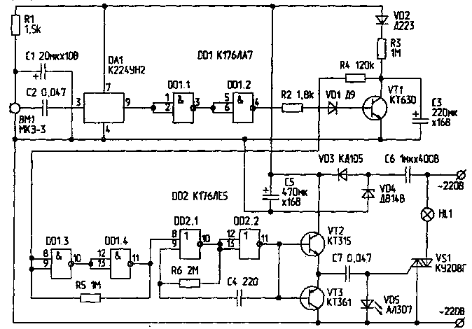
Принципиальная схема звукового реле

Схема работает следующим образом. Звуковой сигнал, воспринимаемый электретным микрофоном ВМ1, поступает на микросхему DA1 (микрофонный усилитель со специальной частотной характеристикой), применяемую в радиостанциях типа "ЛЕН". С выхода микросхемы сигнал поступает на формирователь прямоугольных импульсов, собранный на двух инверторах микросхемы DD1, и далее на базу транзистора VT1, который, открываясь, разряжает времязадающий конденсатор (СЗ) триггера Шмитта. При этом на выходном элементе триггера DD1.4 появляется логический "О", и включается мультивибратор, выполненный на микросхеме DD2. На выходе мультивибратора стоит импульсный усилитель (VT2, VT3), с выхода которого через разделительную емкость С7 сигнал подается на управляющий электрод симистора VS1. Симистор открывается и включает нагрузку. Когда конденсатор СЗ зарядится до уровня логической "1", триггер Шмитта переходит в другое устойчивое состояние, на выходе DD1.4 появляется логическая "1", мультивибратор выключается, закрывается симистор, и электролампа гаснет. Время выдержки подбирается в зависимости от конкретного применения схемы. При номинале емкости СЗ, указанном на схеме, время горения электролампы составляет 4 минуты. Светодиод VD5 можно применить любой.


Добавил:  Павел (Admin)  
Автор:  Неизвестно 

Вас может заинтересовать:

  1. Простой таймер включения устройства в ~220V
  2. Аварийный светодиодный светильник с ионистором
  3. Стабилизатор напряжения велофары
  4. Музыкальный звонок
  5. Прибор ночного видения своими руками


    © PavKo, 2007-2018   Обратная связь   Ссылки views: 6350 -- users: 6236 -- web3   Яндекс.Метрика