Портал для радиолюбителей
   Трансформаторные каскады с парафазным возбуждением
    Главная -> Статьи -> Ламповые усилители низкой частоты -> Трансформаторные каскады с парафазным возбуждением


<< Назад в раздел   Распечатать Дата добавления: 2008-01-07 | Просмотров: 18158

В статье представлены оригинальные варианты схем трансформаторных ламповых каскадов. Комбинации двух однотактных каскадов с парафазным возбуждением позволяют получить интересные модификации, аналогичные двухтактным каскадам. Описаны их преимущества и недостатки, приведены расчетные формулы и результаты исследования параметров.

Рассмотренные в этой статье варианты выходных каскадов ламповых усилителей ведут свою родословную от обыкновенного однотактного выходного каскада [1, 2]. Получившийся результат — явный компромисс, но каждый из вариантов описываемых схем имеет некоторые преимущества, а насколько они ценны — судите сами.

Трансформаторные каскады с параллельным питанием

Первоначально я использовал в усилителе выходной каскад по схеме, показанной на рис. 1, вынужденно, несмотря на его недостатки [3]. Фактически, его главное преимущество — отсутствие постоянного подмагничивания выходного трансформатора. Это позволяет улучшить параметры каскада за счет повышения индуктивности обмоток и (или) уменьшения паразитных параметров трансформатора.


В таком каскаде с параллельным нагрузке питанием перемагничивание магнитопровода происходит по симметричной петле. Это — "хорошо", потому что в нем не возникают четные гармоники, а допустимый размах индукции увеличивается; "плохо" потому, что при переходе индукции через ноль кривая намагничивания существенно нелинейна.

Если трансформатор работает по симметричной петле перемагничивания, ничто не мешает преобразовать каскад в двухтактный, добавив его преимущества и недостатки к уже имеющимся. Естественно, можно задать резонный вопрос: зачем это делать? Попробую ответить.

При разработке ламповых УМЗЧ получение максимально линейного, без искажений, усиления стараются достигнуть, в первую очередь, методами, позволяющими подавить нежелательную нелинейность без использования общей обратной связи. Двухтактные каскады дают такую возможность параметрическими методами без введения ООС повысить линейность мощных каскадов, используя симметрию структуры. Обсуждаемые в [4] способы подавления четных гармоник в однотактных каскадах путем подбора типов и режимов ламп менее универсальны в сравнении с двухтактной структурой. В результате доминирующими в спектре выходного сигнала являются нечетные гармоники, но их уровень на порядок меньше, чем подавленных четных, поэтому с ними гораздо легче бороться другими методами.

Однотактный каскад принципиально несимметричен. Следствием этого является то, что скорости нарастания и спада фронтов сигналов импульсного характера принципиально разные. Также это приводит к повышенному уровню фазовых искажений. В двухтактных каскадах этот недостаток менее выражен.

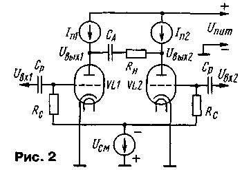
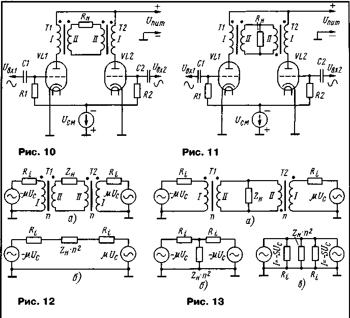
Схему двухтактного каскада из исходной (по рис. 1) можно получить включением нагрузки между выходами двух однотактных каскадов с параллельным питанием и, соответственно, возбуждением этих каскадов парафазным сигналом (рис. 2). Для ламп с малым напряжением смещения более удобна схема, показанная на рис. 3, так как в этом случае не требуется отдельного источника смещения. Фактически эта схема аналогична обычному дифференциальному каскаду. Нормальная работа этих каскадов возможна только в классе А.

Если лампы идентичны, то коэффициент усиления такого каскада для парафазных сигналов

K = Uвых1 / Uвх1 = Uвых2 / Uвх2 = mRн / (Ri + Rн),    (1)

где m — коэффициент усиления лампы;

Ri — ее внутреннее сопротивление;

Rн — сопротивление нагрузки, а выходное сопротивление

Ri экв = 2Ri.    (2)

Разделительный конденсатор Ср при соблюдении некоторых условий может отсутствовать, но без поддержания равных напряжений на анодах ламп использовать его необходимо. Кроме того, наличие этого конденсатора позволяет независимо и в широких пределах менять режим работы каждой лампы каскада. Появляется возможность установить режим работы каскада с желаемым уровнем четных гармоник даже для ламп с существенно разнящимися характеристиками.

В результате такой модификации достигается удвоение выходной мощности, а также компенсация четных гармоник ламп и трансформатора. Появляется возможность регулировать спектр искажений сигнала. Габариты трансформатора допустимо уменьшить или при тех же размерах улучшить его параметры. При отсутствии подмагничивания трансформатора упрощается его конструкция.

При этом, однако, потребуется более высокое напряжение питания, хотя КПД даже теоретически не превысит 25 %. Выходное сопротивление модифицированного каскада вдвое больше, а уровень нечетных гармоник выше, так как ток сигнала протекает через две лампы.

tmp238-1.jpg

Конечно, самым неприятным из недостатков являются нечетные гармоники, для подавления которых целесообразно ввести местную обратную связь в выходной каскад. Наиболее оптимально использовать здесь катодную обратную связь, как показано на рис. 4. Посмотрим, что получится при введении обратной связи на реальном примере. В соответствии с теорией обратной связи [3] уменьшение уровня гармонических составляющих Un искажений пропорционально глубине обратной связи А:

Un ос = Un / А    (3)

где Un ос — уровень n-й гармонической составляющей в усилителе с ООС.

В области средних частот вполне допустимо рассматривать не комплексные величины, а их модули, что мы в дальнейшем и будем делать.

 tmp238-5.jpg

ООС в катодной цепи лампы является последовательной обратной связью по напряжению, в этом случае коэффициент усиления Кос усилителя, охваченного обратной связью, равен:

Кос = К / (1 + ßК),    (4)

где К — коэффициент усиления усилителя без обратной связи; р — коэффициент передачи цепи обратной связи. Знаменатель выражения (4) соответствует нужной нам величине А:

А = 1 + ßK.   (5)

Для данного каскада желательно использовать лампу с максимальным усилением и минимальным уровнем третьей гармоники. Выбрав лучевой тетрод 6П1П, зададим желаемое усиление Кос = 3 (это значение в реальном усилителе обычно определяют по возможностям предоконечного каскада—фазоинвертора). Подставив величину Кос в уравнение (4), вычислим глубину обратной связи А:

А = К / Кос = 7,1 / 3 = 2,36.

Теперь в соответствии с выражением (3) пересчитаем уровни гармонических составляющих, считая, что четные гармоники скомпенсированы полностью (см. табл. 1).

Коэффициент гармоник Схема каскада
Рис.1 Рис.3 Рис.4
kr, % 5,06 0,26 0,11
kr2, % 4,96
kr3, % 0,36 0,26 0,1
kr4, % 0,08
kr5, % 0,018 0,013 0,005
kre, % 0,016

Таблица 1

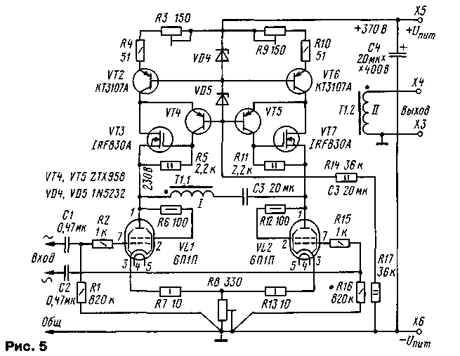
Для проведения экспериментов использован выходной каскад, собранный по схеме на рис. 5 (соответствует структуре схемы на рис. 3). На рис. 6 показан спектр его выходного сигнала. Экспериментальные результаты измерения искажений отличаются от расчетных значений на 20...25 % (в сторону ухудшения). Это объясняется и неполной компенсацией четных гармоник — использованы лампы без предварительного подбора.

Линейность нового варианта усилителя существенно выше; особенно привлекателен каскад с катодной обратной связью [5, 6], в этом случае улучшаются все его параметры.

Основным ограничением при практическом использовании такого каскада является его низкая эффективность; с распространенными лампами можно получить выходную мощность до 2...3 Вт. Применение такой схемы каскада целесообразно, в первую очередь, при наличии готовых выходных трансформаторов, использовавшихся в однотактных каскадах старой радиоаппаратуры (зазор в трансформаторе следует устранить). Также она хорошо подходит для выходного каскада высококачественного телефонного усилителя, особенно если для него специально изготовлен трансформатор. На рис. 7 показан спектр выходного сигнала такого усилителя, при максимальной мощности 0,6 Вт общий коэффициент гармоник всего тракта не превышает 0,06 %.

Предложенный подход можно применить и к другим вариантам каскада с параллельным питанием, заменив источники тока в анодах ламп на дроссель с двумя магнитосвязанными обмотками. В результате введения второго моточного узла получится симметричный каскад с дроссельной нагрузкой (рис. 8) и эффективностью, достигающей уже 50 %. Перенос источников тока или дросселя в катодную цепь ламп дает симметричный катодный повторитель (рис. 9). Последний вариант схемы представляет практический интерес для применения в выходных каскадах предварительных усилителей с трансформаторным выходом, а также для телефонных усилителей.

В каскаде по схеме, показанной на рис. 4, можно с успехом использовать пентоды и лучевые тетроды, исключив резистор RK и применив фиксированное смещение.

Выходной каскад с разделенной нагрузкой

При поиске полезной модификации симметричной структуры желательно было совместить преимущества однотактного и двухтактного каскадов без их недостатков, а именно: иметь параметрическую компенсацию четных гармоник при работе магнитопровода согласующего трансформатора на частной петле перемагничивания.

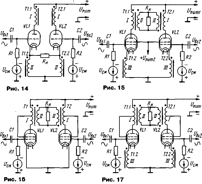
В связи с этим вниманию читателей предложу новый вариант оконечного каскада с разделенной нагрузкой — с двумя выходуыми трансформаторами (рис. 10, 11). На мой взгляд, применение двух трансформаторов — допустимая цена за исключительно хорошие свойства и высокую гибкость.

 tmp238-6.jpg

Структура двухтактного каскада получается при объединении вторичных обмоток выходных трансформаторов двух однотактных каскадов и возбуждении этих каскадов парафазным сигналом. В результате благодаря парафазности работы каскада подавляются четные гармонические искажения (естественно, с учетом реального коэффициента асимметрии плеч). Его можно возбуждать от фазоинверсного каскада любого типа, в нем допускается использовать любые лампы и вводить различные виды местной обратной связи в каждое плечо как независимо, так и перекрестно. Нормальная работа усилителя возможна только в классе А.

Как видно из этих двух схем, возможны два варианта реализации каскада, существенно отличающиеся по свойствам. Если по постоянному току в обоих вариантах лампы включены параллельно, то по переменному току включение ламп зависит от того,-как соединены вторичные обмотки выходных трансформаторов и как подключена к ним нагрузка.

В усилителе два выходных трансформатора, и их магнитопроводы работают в частной петле перемагничивания. Искушенный читатель скажет — это недостаток. Да, с позиций уменьшения стоимости, габаритов конструкции и сложности это так, но если во главу угла ставится вопрос качества — это достоинство.

Во-первых, устраняется переход индукции в трансформаторе через ноль и, соответственно, характерные нелинейности трансформатора на малых уровнях сигнала. Во-вторых, токи покоя в плечах каскада можно установить различными сознательно, чтобы иметь возможность регулировать уровень четных гармоник в выходном сигнале и использовать лампы с большим разбросом характеристик.

 Таблица 2
Эквивалентные параметры генератора и нагрузки Формулы для эквивалентной схемы включения
последовательное параллельное
м« и
Se S 2S
Ri, 2R: 0,5Ri
Сопротивление нагрузки, приведенное между анодами ламп Z'H n2ZH n2ZH
Сопротивление нагрузки, приведенное к аноду лампы плеча Z'H 0,5n2ZH 2n2ZH
 

Таблица 3

Нелинейные искажения по гармоникам Значения уровня гармоник, %, по схеме
рис.1 1) рис. 1 2) рис. 1 2) рис. 1 2)
kr2, % 4,96 0,12 0,29 0,019
Кгз, % 0,36 0,47 0,44 0,42
КГ4, % 0,08 0,013 0,03 0,004
krs, % 0,018 0,014 0,014 0,024
kre, % 0,016 0,003 0,014 0,004
Кгт, % 0 0,003 0,0046 0
kr, % 4,97 0,49 ' 0,53 0,43

1) При выходной мощности 1 Вт.

2) При выходной мощности 2 Вт.

 

Отличием от обычного двухтактного каскада является и место, где происходит компенсация четных гармоник. В классическом двухтактном усилителе компенсация происходит в магнитном поле выходного трансформатора; а в таком комбинированном каскаде — непосредственно на сопротивлении нагрузки. Для получения основных расчетных соотношений и лучшего уяснения свойств каскадов представим их в виде эквивалентных схем, предположив, что лампы и трансформаторы одинаковы. Для этого представим лампы как эквивалентный источник ЭДС Е с выходным сопротивлением R, или как эквивалентный источник тока I, зашун-тированный сопротивлением Ri:

Е = - mUc;     I = - SUc ,     (6)

где ц — коэффициент усиления лампы; S — крутизна лампы; Uc — напряжение на управляющей сетке лампы; R, - выходное сопротивление лампы.

Каскаду, показанному на рис. 10, соответствует эквивалентная схема на рис. 12,а, а каскаду на рис. 11 — 13,а. Дальнейшее упрощение приводит к схемам, изображенным на рис. 12,б, 13,б, 13,в соответственно.

В схеме, показанной на рис. 10, лампы соединены по переменному току последовательно — назовем этот каскад последовательным (с общим током по вторичным обмоткам). В схеме на рис. 11 лампы и по переменному току соединены параллельно нагрузке, назовем этот каскад параллельным (с общим напряжением на вторичных обмотках). Из полученных эквивалентных схем достаточно просто получить основные расчетные соотношения [7], которые сведены в табл. 2.

Выбор типа каскада во многом зависит от используемых ламп. Для выходных ламп с относительно большим выходным сопротивлением и высоким ц целесообразно использовать параллельный каскад. Для мощных выходных триодов может быть целесообразным использование последовательного каскада. Так как в этом случае це вдвое больше, это облегчает возбуждение выходных ламп. В симметричных каскадах с разделенной нагрузкой можно с успехом использовать стандартные выходные трансформаторы, предназначенные для однотактных каскадов.

Обратная связь в каскаде с разделенной нагрузкой

Небольшая модификация последовательного каскада, показанная на рис. 14, позволяет улучшить его общие параметры. Перенос выходных обмоток и нагрузки в цепи катодов ламп дает ряд преимуществ.

Возрастает общая индуктивность намагничивания, так как последовательно с первичной обмоткой дополнительно включается выходная. Выходной трансформатор становится автотрансформатором, что в общем случае позволяет уменьшить его габариты. В этом каскаде можно использовать стандартные трансформаторы без дополнительной обмотки.

Кроме того, в катодной цепи каскада появляется местная обратная связь с соответствующим изменением параметров каскада. Конечно, используя стандартные трансформаторы, мы не можем произвольно регулировать глубину этой обратной связи, но зато она '"бесплатная". Здесь перспективно использование трансформаторов с большим числом отводов на вторичной обмотке, тогда катоды ламп подключают к выводам, предназначенным для наиболее высокоомной нагрузки, а фактическую нагрузку, в зависимости от ее сопротивления, к одноименным промежуточным отводам.

В каскаде по этой схеме постоянная составляющая напряжения на нагрузке практически очень мала. Это обусловлено низким активным сопротивлением выходных обмоток (не более нескольких ом) и фактической разницей тока покоя ламп. Практически это напряжение не превышает 5...15 мВ.

Еще одним побочным результатом такого включения нагрузки является дифференциальный выход, хотя последовательный вариант каскада также обеспечивает это свойство.

Как было сказано выше, в каскадах с разделенной нагрузкой можно использовать любые типы ламп и различные типы местной обратной связи. В качестве примера на рис. 15 показано включение пентодов с катодной обратной связью, а на рис. 16 и 17 — варианты ультралинейного включения (лучевых тетродов) пентодов [8, 9]. Благодаря местной обратной связи в каскаде с экранированными лампами можно существенно повысить линейность характеристик ламп и трансформаторов.

Проверка теоретических предположений проведена на трех макетах, собранных по схемам, показанным на рис. 10, 11 и 14. Базовый однотактный каскад на лампе 6П1П соответствует схеме, показанной на рис. 1; во всех случаях использовались одни и те же лампы и выходные трансформаторы. Сопротивление нагрузки и режим ламп были выбраны исходя из получения минимального уровня гармоник при заданной мощности. Численные результаты измерений приведены в табл. 3, а спектры выходного сигнала — на рис. 18—21 соответственно.

Как видно из результатов, даже использование случайно выбранных ламп и трансформаторов позволяет резко снизить уровень четных гармоник и повысить линейность каскада. Спектр выходного сигнала трансформаторного каскада с разделенной нагрузкой подобен спектру обычного двухтактного каскада. Наилучшие результаты, как и предполагалось, обеспечивает каскад, охваченный местной обратной связью, эффективно снижающей нечетные гармоники искажений.

ЛИТЕРАТУРА

1. Лзнди Р., Девис Д., Албрехт А. Справочник радиоинженера. — М.: ГЭИ, 1961.

2. Карпов Е. ТВЗ в ламповом УМЗЧ. — Радио, 2003, № 4, с. 11—15.

3. Inverse Complementary Distortion Cancellation, Glass Ware, 2001.

4. Войшвилло Г. В. Усилители низкой частоты на электронных лампах. — М.: Связь-издат, 1963.

5. Вилльямсон Т. Н., Волкер П. Д. Преувеличения и Усилители, 1955. Перевод с англ. — Интернет-издание: Nextube, <http://www.next-power.net/next-tube/ru/articles.php3>.

6. Mclntosh F. H. Wide-Band amplifier coupling circuit, US Patent 2,477,074.

7. Бессонов Л. А. Теоретические основы электротехники. — М.: Высшая школа, 1978.

8. Hafler D., Keroes H. I. Ultra Linear Amplifiers, US Patent 2,710,312.

9. Menno van der Veen. Новые схемы двухтактных ламповых усилителей мощности, 1999. — Перевод с англ. — Интернет-издание: Nextube, <http://www.next-power.net/ next-tube/ru/articles.php3>.


Добавил:  Павел (Admin)  
Автор:  Е. КАРПОВ, г. Одесса (Радио №2-3, 2004) 

Вас может заинтересовать:

  1. Полностью прямонакальный усилитель на 4п1л
  2. RCA 6082 с бестрансформаторным выходом
  3. Народный Лофтин-Уайт
  4. Источники питания для ламповой High-End аудио аппаратуры
  5. Ламповый УМЗЧ с глубокой ООС (Pвых = 80 Вт)


    © PavKo, 2007-2018   Обратная связь   Ссылки views: 202 -- users: 129 -- web3   Яндекс.Метрика