Портал для радиолюбителей
   Усилитель мощности, выполненный по мостовой схеме
    Главная -> Статьи -> Полупроводниковые усилители низкой частоты -> Усилитель мощности, выполненный по мостовой схеме


<< Назад в раздел   Распечатать Дата добавления: 2008-01-27 | Просмотров: 14707

Он имеет выходную мощность 60 Вт при однополярном источнике питания напряжением +40 В. Получение большой выходной мощности связано с рядом трудностей, одной из которых является ограничение напряжения источника питания, вызванного тем, что ассортимент высоковольтных мощных транзисторов пока еще довольно невелик. Одним из способов увеличения выходной мощности является последовательно-параллельное включение однотипных транзисторов, но это вызывает усложнение конструкции усилителя и его настройку. Между тем имеется способ увеличения выходной мощности, позволяющий избежать применение труднодоступных элементов и не увеличивать напряжение источника питания. Этот способ заключается в использовании двух одинаковых усилителей мощности, включенных так, что входной сигнал подается на их входы в противофазе, а нагрузка включена непосредственно между выходами усилителей (мостовая схема включения усилителей).

Усилитель мощности, выполненный по такой мостовой схеме, имеет следующие основные технические характеристики:

Номинальная выходная мощность ....... 60 Вт
Коэффициент гармоник .......... 0,5%
Полоса рабочих частот .......... 10... 25 000 Гц
Напряжение питания ........... 40 В
Ток покоя .......... 50 мА

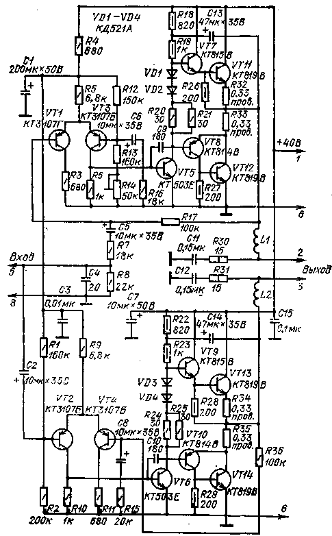
Принципиальная схема такого усилителя приведена на рис.1. Изменение фазы входного сигнала достигается подачей его на инвентирующий вход одного и на неинвертирующий вход другого усилителей. Нагрузка включена непосредственно между выходами усилителей. Чтобы обеспетить температурную стабилизацию тока покоя выходных транзисторов, нa общий с ними теплоотвод размещены диоды VD1-VD4.

um-71.gif
Puc.1

Перед включением проверяют правильность монтажа и соединений усилителя. После подключения источника питания резистором R14 устанавливают между выходами усилителя напряжение не более 0,5 В. Амплитудно-частотная и фазочастогтная характеристики отрегулированного усилителя приведены на рис.2.

um-72.gif
Puc.2

Литература
Д.И.Атаев, В.А.Болотников. Практические схемы высококачественного звуковоспроизведения. М. Радио и связь. 1986г.


Добавил:  Павел (Admin)  
Автор:  Неизвестно 

Вас может заинтересовать:

  1. Усилитель мощности с полевым транзистором в качестве источника тока для входного каскада и элементами симметрирования выходного каскада
  2. Упрощенный вариант усилителя мощности класса В
  3. Выходной каскад УЗЧ
  4. УМЗЧ на базе операционного усилителя КР544УД2
  5. "Несжигаемый" УНЧ для автомагнитолы


    © PavKo, 2007-2018   Обратная связь   Ссылки views: 8953 -- users: 8551 -- web3   Яндекс.Метрика